Запчасти Komatsu D85P-21 ОТВАЛ УПРАВЛЯЮЩ. КЛАПАН (/) (С СКРЕППЕР)(№-) УПРАВЛ-Е РАБОЧИМ ОБОРУДОВАНИЕМ

Схема запчастей Komatsu D85P-21 - ОТВАЛ УПРАВЛЯЮЩ. КЛАПАН (/) (С СКРЕППЕР)(№-) УПРАВЛ-Е РАБОЧИМ ОБОРУДОВАНИЕМ
FIT
1:1
100%

Артикул

Название

Примечание

Количество

|$0

709-62-31301

VALVE ASS'Y

SN: 3651-UP

1шт.

|$1

0

VALVE ASS'Y

SN: 3513-3650

1шт.

|$2

709-62-31103

VALVE ASS'Y

SN: 3001-3512

1шт.

|$3

0

VALVE ASS'Y

SN: (3001-3512)

1шт.

|$$5

THESE ASSEMBLIES CONSIST OF ALL PARTS SHOWN IN FIGS.6211 TO 6215.

-1шт.

|$5

709-62-00051

VALVE SUB ASS'Y

SN: 3651-UP

1шт.

|$6

709-62-00050

VALVE SUB ASS'Y

SN: 3513-3650

1шт.

|$7

709-62-00031

VALVE SUB ASS'Y

SN: 3001-UP

1шт.

|$8

0

VALVE SUB ASS'Y

SN: (3001-3512)

1шт.

|$$10

THESE ASSEMBLIES CONSIST OF ALL PARTS SHOWN IN FIGS.6212 AND 6213.

-1шт.

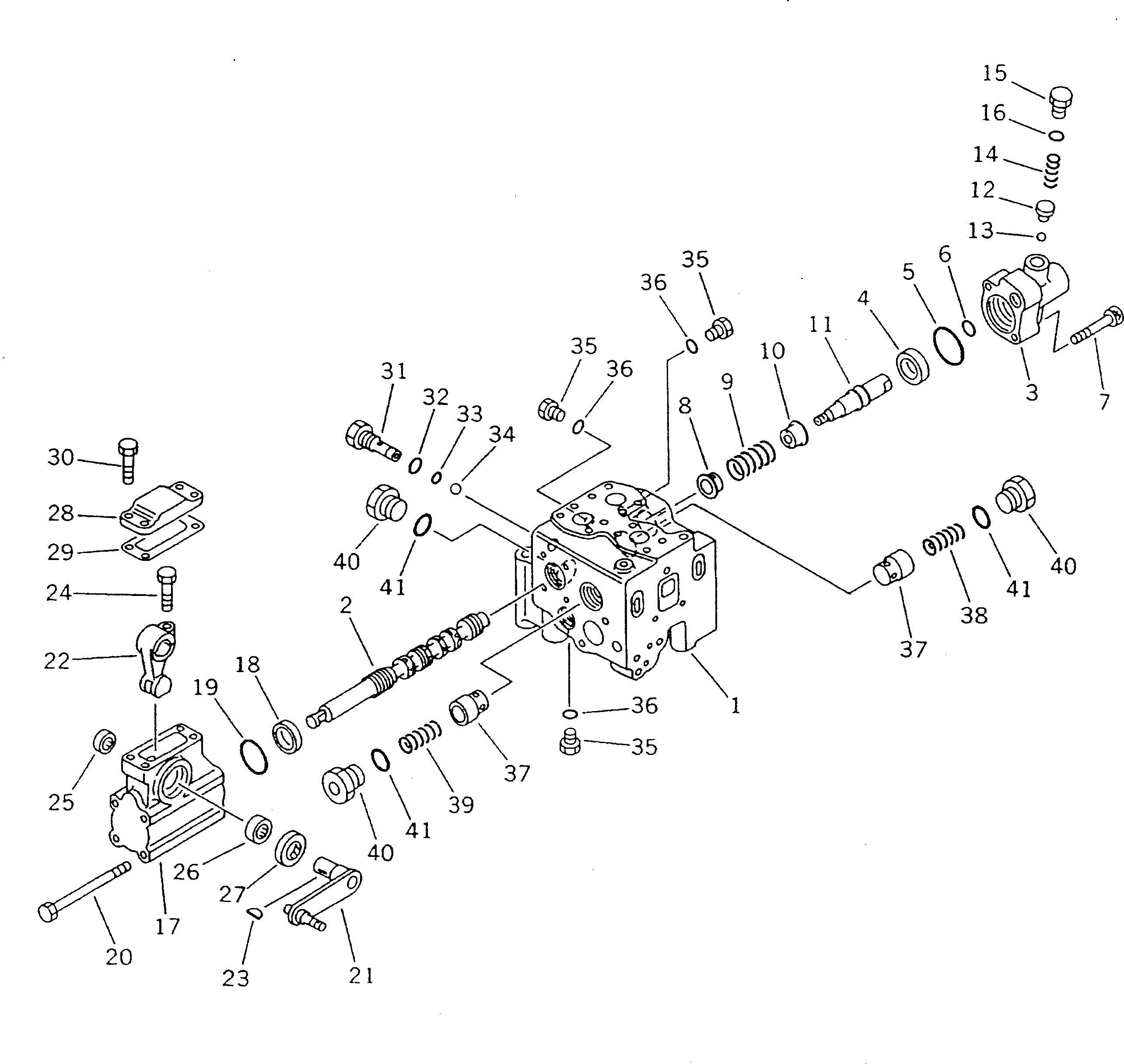
1

0

BODY,VALVE

SN: 3513-UP

1шт.

1

0

BODY,VALVE

SN: 3001-3512

1шт.

2

0

SPOOL

SN: 3513-UP

1шт.

2

0

SPOOL

SN: 3001-3512

1шт.

3

709-62-31130

CASE

SN: 3001-UP

1шт.

4

709-62-31140

COLLAR

SN: 3001-UP

1шт.

5

07000-03045

O-RING

SN: 3001-UP

1шт.

6

07000-02015

O-RING

SN: 3001-UP

1шт.

7

01252-31045

BOLT

SN: 3001-UP

2шт.

8

700-91-11260

RETAINER

SN: 3001-UP

1шт.

9

709-62-31150

SPRING

SN: 3001-UP

1шт.

10

700-91-11270

RETAINER

SN: 3001-UP

1шт.

11

709-62-31160

PLUG

SN: 3001-UP

1шт.

12

709-62-31170

GUIDE

SN: 3001-UP

2шт.

13

700-84-11730

BALL

SN: 3001-UP

2шт.

14

709-62-31460

SPRING

SN: 3513-UP

2шт.

14

709-62-31180

SPRING

SN: 3001-3512

2шт.

15

07040-11409

PLUG

SN: 3001-UP

2шт.

16

07002-01423

O-RING

SN: 3001-UP

2шт.

17

700-93-11710

CASE,LEVER

SN: 3001-UP

1шт.

18

700-93-11720

COLLAR

SN: 3001-UP

1шт.

19

07430-71380

O-RING

SN: 3001-UP

1шт.

20

700-93-11730

BOLT

SN: 3001-UP

4шт.

21

709-62-31190

LEVER

SN: 3001-UP

1шт.

22

700-93-11780

LEVER

SN: 3001-UP

1шт.

23

04010-00416

KEY

SN: 3001-UP

1шт.

24

01010-30825

BOLT

SN: 3001-UP

1шт.

25

700-93-11740

BEARING

SN: 3001-UP

1шт.

26

700-93-11750

BEARING

SN: 3001-UP

1шт.

27

700-93-11762

SEAL,OIL

SN: 3001-UP

1шт.

28

700-93-11790

PLATE

SN: 3001-UP

1шт.

29

700-93-11811

GASKET

SN: 3651-UP

1шт.

29

0

GASKET

SN: 3001-3650

1шт.

30

01010-50820

BOLT

SN: 3001-UP

4шт.

31

709-62-11350

PLUG

SN: 3001-UP

1шт.

31

0

PLUG

SN: (3001-3512)

1шт.

32

07002-11423

O-RING

SN: 3001-UP

1шт.

33

07000-11007

O-RING

SN: 3001-UP

1шт.

34

04260-00952

BALL

SN: 3001-UP

1шт.

34

0

BALL

SN: (3001-3512)

1шт.

35

07040-11007

PLUG

SN: 3001-UP

3шт.

36

07002-11023

O-RING

SN: 3001-UP

3шт.

37

709-62-31210

VALVE

SN: 3001-UP

2шт.

38

709-62-31220

SPRING

SN: 3001-UP

1шт.

39

701-21-31130

SPRING

SN: 3001-UP

1шт.

40

07040-13316

PLUG

SN: 3001-UP

3шт.

41

07002-13334

O-RING

SN: 3001-UP

3шт.

Выбрано товаров: 57