Запчасти Komatsu D85P-21 СКРЕППЕР РЫЧАГ УПРАВЛ-Я (/)(№-) УПРАВЛ-Е РАБОЧИМ ОБОРУДОВАНИЕМ

Схема запчастей Komatsu D85P-21 - СКРЕППЕР РЫЧАГ УПРАВЛ-Я (/)(№-) УПРАВЛ-Е РАБОЧИМ ОБОРУДОВАНИЕМ
FIT
1:1
100%

Артикул

Название

Примечание

Количество

G-1

0

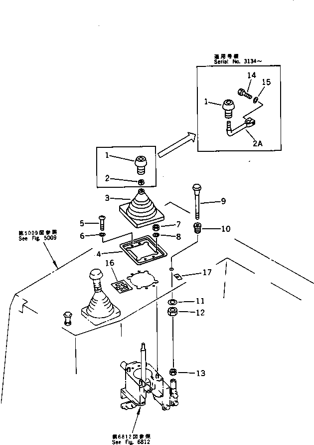
KNOB GROUP

SN: 3134-UP

1шт.

G-1

0

KNOB GROUP

SN: 3001-3133

1шт.

|$$3

====================

-1шт.

1

154-61-79230

KNOB

SN: 3001-UP

1шт.

2

195-43-44220

NUT

SN: 3001-3133

1шт.

2A

154-61-79280

LEVER

SN: 3134-UP

1шт.

3

195-61-45140

BOOT

SN: 3001-UP

1шт.

4

195-61-45130

BASE

SN: 3001-UP

1шт.

5

01220-40508

SCREW

SN: 3001-UP

4шт.

6

01601-20513

WASHER,SPRING

SN: 3001-UP

4шт.

7

01580-10806

NUT

SN: 3001-UP

4шт.

8

01643-30823

WASHER

SN: 3001-UP

4шт.

9

195-61-45211

KNOB

SN: 3001-UP

1шт.

10

195-61-45220

BOSS

SN: 3001-UP

1шт.

11

01640-22232

WASHER

SN: 3001-UP

1шт.

12

195-61-45230

NUT

SN: 3001-UP

1шт.

13

01580-10806

NUT

SN: 3001-UP

1шт.

14

195-54-43260

BOLT

SN: 3134-UP

1шт.

15

198-911-3160

WASHER

SN: 3134-UP

1шт.

|$$20

====================

-1шт.

G-2

0

PLATE GROUP

SN: 3001-UP

1шт.

|$$22

====================

-1шт.

16

154-98-35391

PLATE

SN: 3397-UP

1шт.

16

154-98-35390

PLATE

SN: 3001-3396

1шт.

17

195-98-21210

PLATE, OPERATING

SN: 3001-UP

1шт.

|$$26

====================

-1шт.

Выбрано товаров: 26