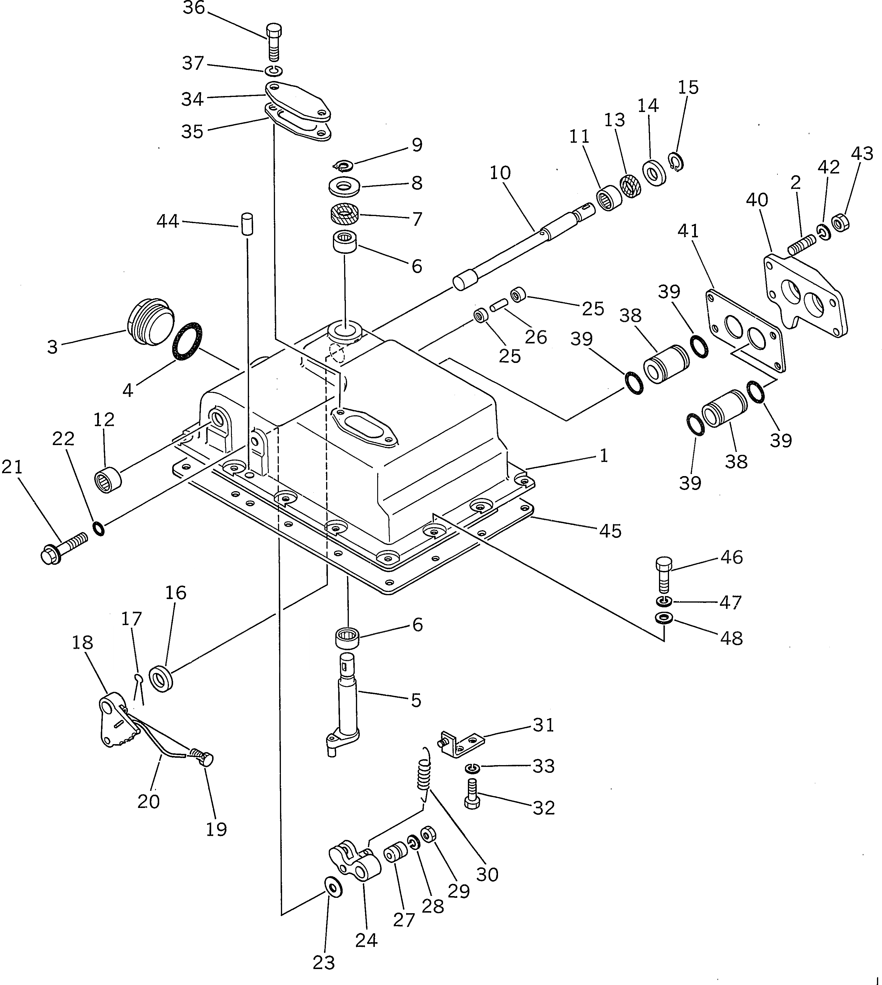
Запчасти Komatsu D85P-21 КЛАПАН ТРАНСМИССИИ КРЫШКАAND РЫЧАГ(№-) ГТР CONVERTOR¤ ТРАНСМИССИЯ¤ РУЛЕВ. УПРАВЛЕНИЕ И КОНЕЧНАЯ ПЕРЕДАЧА

Схема запчастей Komatsu D85P-21 - КЛАПАН ТРАНСМИССИИ КРЫШКАAND РЫЧАГ(№-) ГТР CONVERTOR¤ ТРАНСМИССИЯ¤ РУЛЕВ. УПРАВЛЕНИЕ И КОНЕЧНАЯ ПЕРЕДАЧА
FIT
1:1
100%

Артикул

Название

Примечание

Количество

|$0

154-15-01082

TRANSMISSION ASS'Y

SN: 3147-UP

1шт.

|$1

154-15-01081

TRANSMISSION ASS'Y

SN: 3075-3146

1шт.

|$2

154-15-01080

TRANSMISSION ASS'Y

SN: 3001-3074

1шт.

|$$4

THESE ASSEMBLIES CONSIST OF ALL PARTS SHOWN IN FIGS.2521 TO 2533.

-1шт.

|$4

155-15-01130

COVER ASS'Y

SN: 3001-UP

1шт.

1

175-15-45511

COVER

SN: 3001-UP

1шт.

2

01124-51025

STUD

SN: 3001-UP

4шт.

3

07040-15223

PLUG

SN: 3001-UP

1шт.

4

07002-05234

O-RING (KIT)

SN: 3001-UP

1шт.

5

175-15-45560

LEVER

SN: 3001-UP

1шт.

6

06120-02016

BEARING

SN: 3001-UP

2шт.

7

144-15-29110

SEAL,OIL (KIT)

SN: 3001-UP

1шт.

8

175-15-45570

WASHER

SN: 3001-UP

1шт.

9

04064-01812

RING,SNAP

SN: 3001-UP

1шт.

10

175-15-45610

SHAFT

SN: 3001-UP

1шт.

11

06120-02016

BEARING

SN: 3001-UP

1шт.

12

06121-02016

BEARING

SN: 3001-UP

1шт.

13

144-15-29110

SEAL,OIL (KIT)

SN: 3001-UP

1шт.

14

175-15-45570

WASHER

SN: 3001-UP

1шт.

15

04064-01812

RING,SNAP

SN: 3001-UP

1шт.

16

175-15-45620

STOPPER

SN: 3001-UP

1шт.

17

04050-03040

PIN,COTTER (KIT)

SN: 3001-UP

1шт.

18

175-15-45630

LEVER

SN: 3001-UP

1шт.

19

125-15-11530

BOLT

SN: 3001-UP

1шт.

20

04059-01010

WIRE,LOCK (KIT)

SN: 3001-UP

1шт.

21

175-15-45650

BOLT

SN: 3001-UP

1шт.

22

07002-01223

O-RING (KIT)

SN: 3001-UP

1шт.

23

175-15-45660

WASHER

SN: 3001-UP

2шт.

24

175-15-45690

LEVER

SN: 3001-UP

1шт.

25

144-15-29120

BEARING

SN: 3001-UP

2шт.

26

144-15-25691

PIN

SN: 3001-UP

1шт.

27

175-15-45670

SLEEVE

SN: 3001-UP

1шт.

28

01643-31032

WASHER

SN: (4200)-UP

1шт.

28

01602-21030

WASHER,SPRING

SN: 3001-(4199)

1шт.

29

01580-11008

NUT

SN: 3001-UP

1шт.

30

154-15-45710

SPRING

SN: 3001-UP

1шт.

31

175-15-45780

BRACKET

SN: 3001-UP

1шт.

32

01010-51020

BOLT

SN: 3001-UP

2шт.

33

01643-31032

WASHER

SN: (4200)-UP

2шт.

33

01602-21030

WASHER,SPRING

SN: 3001-(4199)

2шт.

34

175-15-45750

PLATE

SN: 3001-UP

1шт.

35

154-15-45760

GASKET (KIT)

SN: 3001-UP

1шт.

36

01010-51020

BOLT

SN: 3001-UP

2шт.

37

01643-31032

WASHER

SN: (4200)-UP

2шт.

37

01602-21030

WASHER,SPRING

SN: 3001-(4199)

2шт.

38

175-15-45550

SLEEVE

SN: 3001-UP

2шт.

39

07000-73028

O-RING (KIT)

SN: 3001-UP

4шт.

40

175-15-45530

COVER

SN: 3001-UP

1шт.

41

154-15-45540

GASKET (KIT)

SN: 3001-UP

1шт.

42

01643-31032

WASHER

SN: (4200)-UP

4шт.

42

01602-21030

WASHER,SPRING

SN: 3001-(4199)

4шт.

43

01580-11008

NUT

SN: 3001-UP

4шт.

44

04020-01024

PIN,DOWEL

SN: 3001-UP

2шт.

45

154-15-45520

GASKET (KIT)

SN: 3001-UP

1шт.

46

01010-81025

BOLT

SN: 3001-UP

14шт.

47

01602-21030

WASHER,SPRING

SN: 3001-UP

14шт.

48

01640-21016

WASHER

SN: 3001-UP

14шт.

Выбрано товаров: 57