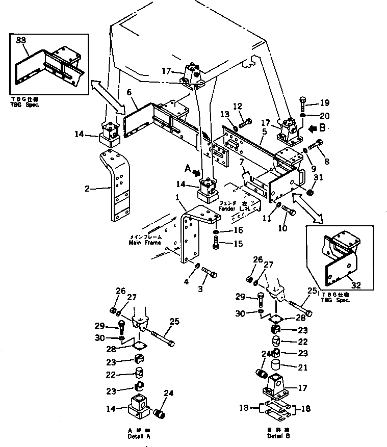
Запчасти Komatsu D85P-21 ROLL OVER ЗАЩИТАIVE STRUCTURE КОРПУС(№-8) ЧАСТИ КОРПУСА

Схема запчастей Komatsu D85P-21 - ROLL OVER ЗАЩИТАIVE STRUCTURE КОРПУС(№-8) ЧАСТИ КОРПУСА
FIT
1:1
100%

Артикул

Название

Примечание

Количество

G-1

0

ROPS BRACKET GROUP

SN: 3229-@

1шт.

G-1

0

ROPS BRACKET GROUP

SN: 3001-3228

1шт.

|$$3

====================

-1шт.

1

154-978-3130

PLATE,L.H.

SN: 3001-@

1шт.

2

154-978-3140

PLATE,R.H.

SN: 3001-@

1шт.

3

01011-83010

BOLT

SN: 3001-@

8шт.

4

01643-33080

WASHER

SN: 3001-@

8шт.

5

154-978-3281

BRACKET,L.H.

SN: 3229-3381

1шт.

5

154-978-3280

BRACKET,L.H.

SN: 3001-3228

1шт.

6

154-978-3291

BRACKET,R.H.

SN: 3229-3381

1шт.

6

154-978-3290

BRACKET,R.H.

SN: 3001-3228

1шт.

7

154-978-0020

SHIM ASS'Y

SN: 3001-3381

2шт.

7

0

SHIM, 1.0MM

SN: 3001-3381

5шт.

7

0

SHIM, 0.5MM

SN: 3001-3381

2шт.

8

01010-82465

BOLT

SN: 3001-3381

6шт.

9

01643-32460

WASHER

SN: 3001-3381

6шт.

10

01010-81650

BOLT

SN: 3001-3381

8шт.

11

01643-31645

WASHER

SN: 3001-3381

8шт.

12

01010-83065

BOLT

SN: 3001-3381

8шт.

13

01643-33080

WASHER

SN: 3001-3381

8шт.

14

154-978-3151

BRACKET

SN: 3001-@

2шт.

15

01011-83010

BOLT

SN: 3001-@

8шт.

16

01643-33080

WASHER

SN: 3001-@

8шт.

17

154-978-3310

BRACKET

SN: 3001-@

2шт.

18

154-978-0030

SHIM ASS'Y

SN: 3001-@

2шт.

18

0

SHIM, 1.0MM

SN: 3001-@

1шт.

18

0

SHIM, 0.5MM

SN: 3001-@

2шт.

19

01010-82465

BOLT

SN: 3001-@

8шт.

20

01643-32460

WASHER

SN: 3001-@

8шт.

21

154-978-3171

SEAT

SN: 3001-@

2шт.

22

195-54-45490

BLOCK

SN: 3001-@

4шт.

23

154-54-42220

RUBBER

SN: 3001-@

8шт.

24

195-54-45510

COLLAR

SN: 3001-@

4шт.

25

175-978-5210

BOLT

SN: 3001-@

4шт.

26

01580-12722

NUT

SN: 3001-@

4шт.

27

01643-32780

WASHER

SN: 3001-@

4шт.

28

195-56-11320

PLATE

SN: 3001-@

4шт.

29

01010-51230

BOLT

SN: 3001-@

16шт.

30

01643-31232

WASHER

SN: 3001-@

16шт.

31

154-978-3331

CAP

SN: 3229-@

2шт.

31

154-978-3330

CAP

SN: 3001-3228

2шт.

|$$42

====================

-1шт.

32

154-978-3340

BRACKET,L.H,TBG SPEC

SN: 3001-3381

1шт.

33

154-978-3351

BRACKET,R.H,TBG SPEC

SN: 3229-3381

1шт.

33

154-978-3350

BRACKET,R.H,TBG SPEC

SN: 3001-3228

1шт.

Выбрано товаров: 45