Запчасти Komatsu S6D125E-2E-6 ГОЛОВКА ЦИЛИНДРОВ(№7-7) ДВИГАТЕЛЬ

Схема запчастей Komatsu S6D125E-2E-6 - ГОЛОВКА ЦИЛИНДРОВ(№7-7) ДВИГАТЕЛЬ
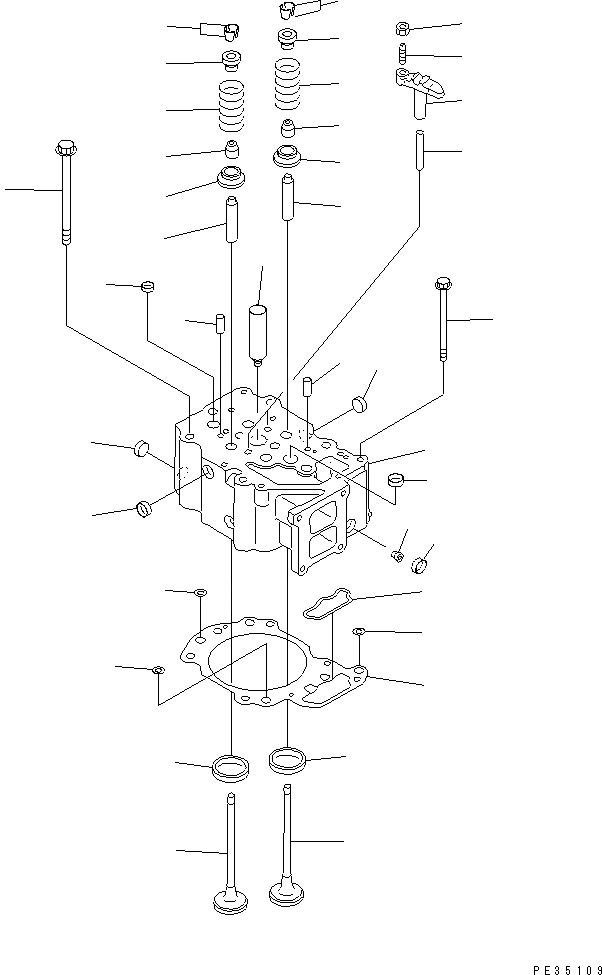
1
2
3
4
5
5
6
7
7
7
7
7
8
9
9
10
11
12
13
13
14
14
15
15
16
16
17
17
18
19
20
21
22
23
24
25
21
22
23
24
25
26
27
1
2
3
4
5
5
6
7
7
7
7
7
8
9
9
10
11
12
13
13
14
14
15
15
16
16
17
17
18
19
20
21
22
23
24
25
21
22
23
24
25
26
27
FIT
1:1
100%

Артикул

Название

Примечание

Количество

|$1

6151-12-1100

CYLINDER HEAD ASS'Y,VALVE LESS

SN: 60721-67603

6шт.

1

0

HEAD,CYLINDER

SN: 60721-@

1шт.

2

6136-11-1130

SLEEVE

SN: 60721-@

1шт.

3

6150-11-1320

INSERT,EXHAUST VALVE (STD)

SN: 60721-@

2шт.

3

6150-19-1320

INSERT, 0.25MM,EXHAUST VALVE (OS)

SN: 60721-@

2шт.

3

6150-18-1320

INSERT, 0.50MM,EXHAUST VALVE (OS)

SN: 60721-@

2шт.

3

6150-17-1320

INSERT, 0.75MM,EXHAUST VALVE (OS)

SN: 60721-@

2шт.

3

6150-16-1320

INSERT, 1.00MM,EXHAUST VALVE (OS)

SN: 60721-@

2шт.

4

6150-11-1331

INSERT,INTAKE VALVE (STD)

SN: 60721-67603

2шт.

4

6150-19-1331

INSERT, 0.25MM,INTAKE VALVE (OS)

SN: 60721-67603

2шт.

4

6150-18-1331

INSERT, 0.50MM,INTAKE VALVE (OS)

SN: 60721-67603

2шт.

4

6150-17-1331

INSERT, 0.75MM,INTAKE VALVE (OS)

SN: 60721-67603

2шт.

4

6150-16-1331

INSERT, 1.00MM,INTAKE VALVE (OS)

SN: 60721-67603

2шт.

5

6150-12-1370

GUIDE,VALVE (FOR SERVICE PARTS)

SN: 60721-@

4шт.

6

07043-70108

PLUG

SN: 60721-@

1шт.

7

6162-13-1150

PLUG

SN: 60721-@

10шт.

8

6150-11-1140

GUIDE

SN: 60721-@

2шт.

9

04020-00820

PIN,DOWEL

SN: 60721-@

2шт.

10

07046-41810

PLUG

SN: 60721-@

1шт.

11

6150-42-4110

VALVE,INTAKE

SN: 60721-@

12шт.

12

6150-42-4210

VALVE,EXHAUST

SN: 60721-@

12шт.

13

6150-41-4510

SEAT,UPPER

SN: 60721-@

24шт.

14

6150-41-4430

SEAT,LOWER

SN: 60721-@

24шт.

15

6136-42-4520

COTTER,VALVE

SN: 60721-@

48шт.

16

6150-41-4450

SPRING

SN: 60721-@

24шт.

17

6150-41-4570

SEAL,VALVE STEM (K1)

SN: 60721-@

24шт.

|$27

6150-42-5600

CROSSHEAD ASS'Y

SN: 60721-@

12шт.

18

6150-42-5610

CROSSHEAD

SN: 60721-@

1шт.

19

6150-41-5620

SCREW

SN: 60721-@

1шт.

20

6150-41-5630

NUT

SN: 60721-@

1шт.

|$$31

STANDARD

-1шт.

21

6151-12-1810

GASKET,HEAD (K1)

SN: 60721-@

6шт.

22

6150-11-1920

GROMMET,OIL

SN: 60721-@

1шт.

23

6150-11-1930

GROMMET,OIL

SN: 60721-@

1шт.

24

0

GROMMET,WATER

SN: 60721-@

4шт.

25

6150-12-1960

GROMMET,WATER

SN: 60721-@

1шт.

|$$37

OVERSIZE 0.4MM

-1шт.

21

6151-19-1810

GASKET, 0.4MM OS,HEAD

SN: 60721-@

6шт.

22

6150-19-1920

GROMMET,OIL

SN: 60721-@

1шт.

23

6150-19-1930

GROMMET,OIL

SN: 60721-@

1шт.

24

0

GROMMET,WATER

SN: 60721-@

4шт.

25

6150-19-1960

GROMMET,WATER

SN: 60721-@

1шт.

26

6150-11-1610

BOLT

SN: 60721-@

36шт.

27

01438-01020

BOLT

SN: 60721-@

6шт.

|$1

6151-12-1100

CYLINDER HEAD ASS'Y,VALVE LESS

SN: 60721-67603

6шт.

1

0

HEAD,CYLINDER

SN: 60721-@

1шт.

2

6136-11-1130

SLEEVE

SN: 60721-@

1шт.

3

6150-11-1320

INSERT,EXHAUST VALVE (STD)

SN: 60721-@

2шт.

3

6150-19-1320

INSERT, 0.25MM,EXHAUST VALVE (OS)

SN: 60721-@

2шт.

3

6150-18-1320

INSERT, 0.50MM,EXHAUST VALVE (OS)

SN: 60721-@

2шт.

3

6150-17-1320

INSERT, 0.75MM,EXHAUST VALVE (OS)

SN: 60721-@

2шт.

3

6150-16-1320

INSERT, 1.00MM,EXHAUST VALVE (OS)

SN: 60721-@

2шт.

4

6150-11-1331

INSERT,INTAKE VALVE (STD)

SN: 60721-67603

2шт.

4

6150-19-1331

INSERT, 0.25MM,INTAKE VALVE (OS)

SN: 60721-67603

2шт.

4

6150-18-1331

INSERT, 0.50MM,INTAKE VALVE (OS)

SN: 60721-67603

2шт.

4

6150-17-1331

INSERT, 0.75MM,INTAKE VALVE (OS)

SN: 60721-67603

2шт.

4

6150-16-1331

INSERT, 1.00MM,INTAKE VALVE (OS)

SN: 60721-67603

2шт.

5

6150-12-1370

GUIDE,VALVE (FOR SERVICE PARTS)

SN: 60721-@

4шт.

6

07043-70108

PLUG

SN: 60721-@

1шт.

7

6162-13-1150

PLUG

SN: 60721-@

10шт.

8

6150-11-1140

GUIDE

SN: 60721-@

2шт.

9

04020-00820

PIN,DOWEL

SN: 60721-@

2шт.

10

07046-41810

PLUG

SN: 60721-@

1шт.

11

6150-42-4110

VALVE,INTAKE

SN: 60721-@

12шт.

12

6150-42-4210

VALVE,EXHAUST

SN: 60721-@

12шт.

13

6150-41-4510

SEAT,UPPER

SN: 60721-@

24шт.

14

6150-41-4430

SEAT,LOWER

SN: 60721-@

24шт.

15

6136-42-4520

COTTER,VALVE

SN: 60721-@

48шт.

16

6150-41-4450

SPRING

SN: 60721-@

24шт.

17

6150-41-4570

SEAL,VALVE STEM (K1)

SN: 60721-@

24шт.

|$27

6150-42-5600

CROSSHEAD ASS'Y

SN: 60721-@

12шт.

18

6150-42-5610

CROSSHEAD

SN: 60721-@

1шт.

19

6150-41-5620

SCREW

SN: 60721-@

1шт.

20

6150-41-5630

NUT

SN: 60721-@

1шт.

|$$31

STANDARD

-1шт.

21

6151-12-1810

GASKET,HEAD (K1)

SN: 60721-@

6шт.

22

6150-11-1920

GROMMET,OIL

SN: 60721-@

1шт.

23

6150-11-1930

GROMMET,OIL

SN: 60721-@

1шт.

24

0

GROMMET,WATER

SN: 60721-@

4шт.

25

6150-12-1960

GROMMET,WATER

SN: 60721-@

1шт.

|$$37

OVERSIZE 0.4MM

-1шт.

21

6151-19-1810

GASKET, 0.4MM OS,HEAD

SN: 60721-@

6шт.

22

6150-19-1920

GROMMET,OIL

SN: 60721-@

1шт.

23

6150-19-1930

GROMMET,OIL

SN: 60721-@

1шт.

24

0

GROMMET,WATER

SN: 60721-@

4шт.

25

6150-19-1960

GROMMET,WATER

SN: 60721-@

1шт.

26

6150-11-1610

BOLT

SN: 60721-@

36шт.

27

01438-01020

BOLT

SN: 60721-@

6шт.

Выбрано товаров: 88