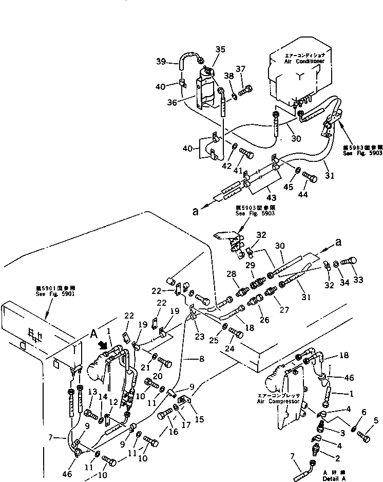
Запчасти Komatsu D85P-21A СИСТЕМА ТРУБ ОХЛАЖДЕНИЯ(№-) ЧАСТИ КОРПУСА

Схема запчастей Komatsu D85P-21A - СИСТЕМА ТРУБ ОХЛАЖДЕНИЯ(№-) ЧАСТИ КОРПУСА
FIT
1:1
100%

Артикул

Название

Примечание

Количество

G-1

0

PIPING GROUP

SN: 3001-3651

1шт.

|$$2

====================

-1шт.

1

154-Z11-5440

HOSE

SN: 3001-3651

1шт.

2

195-Z11-6360

CONNECTOR ASS'Y

SN: 3001-3651

1шт.

3

195-Z11-6370

CONNECTOR ASS'Y

SN: 3001-3651

1шт.

4

195-979-2450

CLIP

SN: 3001-3651

2шт.

5

01010-51225

BOLT

SN: 3001-3651

2шт.

6

01643-31232

WASHER

SN: 3001-3651

2шт.

7

154-Z11-5430

HOSE

SN: 3001-3651

1шт.

8

154-Z11-5420

HOSE

SN: 3001-3651

1шт.

9

175-79-82710

CLIP

SN: 3001-3651

3шт.

10

01010-51220

BOLT

SN: 3001-3651

3шт.

11

01643-31232

WASHER

SN: 3001-3651

3шт.

12

198-06-41230

BRACKET

SN: 3001-@

1шт.

13

01010-51225

BOLT

SN: 3001-@

1шт.

14

01643-31232

WASHER

SN: 3001-@

1шт.

15

17M-49-15260

BRACKET

SN: 3001-@

1шт.

16

01010-51235

BOLT

SN: 3001-@

1шт.

17

01643-31232

WASHER

SN: 3001-@

1шт.

18

154-Z11-5410

HOSE

SN: 3001-3651

1шт.

19

08036-62514

CLIP

SN: 3001-3651

2шт.

20

01010-51016

BOLT

SN: 3001-@

2шт.

21

01643-31032

WASHER

SN: 3001-@

2шт.

22

154-Z11-5620

BRACKET

SN: 3001-@

3шт.

23

195-979-3530

CLIP

SN: 3001-3651

1шт.

24

01010-51016

BOLT

SN: 3001-@

1шт.

25

01643-31032

WASHER

SN: 3001-@

1шт.

26

195-Z11-6470

CONNECTOR ASS'Y

SN: 3001-3651

1шт.

27

195-Z11-6460

CONNECTOR ASS'Y

SN: 3001-3651

1шт.

28

195-Z11-6430

CONNECTOR ASS'Y

SN: 3001-3651

1шт.

29

195-Z11-6420

CONNECTOR ASS'Y

SN: 3001-3651

1шт.

30

154-Z11-5361

HOSE

SN: 3505-3651

1шт.

|30

154-Z11-5360

HOSE

SN: 3001-3504

1шт.

31

154-Z11-5370

HOSE

SN: 3001-3651

1шт.

32

195-Z11-7220

CLIP

SN: 3001-@

2шт.

33

01010-51050

BOLT

SN: 3001-@

1шт.

34

01643-31032

WASHER

SN: 3001-@

1шт.

35

423-T43-1410

TANK,RECEIVER

SN: 3505-3651

1шт.

|35

0

TANK,RECEIVER

SN: 3001-3504

1шт.

|$$40

(423-T43-1410{154-Z11-5361¤}

-1шт.

|$$41

154-Z11-5391)

-1шт.

36

198-911-4590

HOLDER

SN: 3001-@

1шт.

37

01010-50820

BOLT

SN: 3001-@

2шт.

38

01602-20825

WASHER,SPRING

SN: 3001-@

2шт.

39

154-Z11-5391

HOSE

SN: 3505-3651

1шт.

|39

154-Z11-5390

HOSE

SN: 3001-3504

1шт.

40

175-79-82710

CLIP

SN: 3001-3651

3шт.

41

01010-51220

BOLT

SN: 3001-@

3шт.

42

01643-31232

WASHER

SN: 3001-@

3шт.

43

195-979-3530

CLIP

SN: 3001-3651

2шт.

44

01010-51225

BOLT

SN: 3001-@

2шт.

45

01643-31232

WASHER

SN: 3001-@

2шт.

46

08034-00519

BAND

SN: 3001-@

2шт.

|$$54

====================

-1шт.

Выбрано товаров: 54