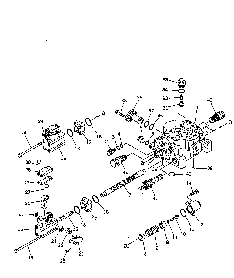
Запчасти Komatsu D85P-21A СКРЕППЕР УПРАВЛЯЮЩ. КЛАПАН (/)(№-) УПРАВЛ-Е РАБОЧИМ ОБОРУДОВАНИЕМ

Схема запчастей Komatsu D85P-21A - СКРЕППЕР УПРАВЛЯЮЩ. КЛАПАН (/)(№-) УПРАВЛ-Е РАБОЧИМ ОБОРУДОВАНИЕМ
FIT
1:1
100%

Артикул

Название

Примечание

Количество

|1

709-92-27002

VALVE ASS'Y

SN: 3651-UP

1шт.

|1

0

VALVE ASS'Y

SN: 3513-3650

1шт.

|1

709-92-27000

VALVE ASS'Y

SN: 3001-3512

1шт.

|$$4

THESE ASSEMBLIES CONSIST OF ALL PARTS SHOWN IN FIGS.6221 AND 6222.

-1шт.

1

0

BODY,VALVE

SN: 3001-UP

1шт.

2

700-22-11360

PLUG

SN: 3001-UP

2шт.

3

07002-02434

O-RING

SN: 3001-UP

2шт.

4

07000-02014

O-RING

SN: 3001-UP

2шт.

5

700-22-11370

PLUG

SN: 3001-UP

2шт.

6

07002-02434

O-RING

SN: 3001-UP

2шт.

7

0

SPOOL

SN: 3001-UP

2шт.

8

700-93-11870

RETAINER

SN: 3001-UP

4шт.

9

700-93-11880

SPRING

SN: 3001-UP

2шт.

10

01252-31016

BOLT

SN: 3001-UP

2шт.

11

01643-31032

WASHER

SN: 3001-UP

2шт.

12

700-93-11920

CASE

SN: 3001-UP

2шт.

13

07430-71380

O-RING

SN: 3001-UP

2шт.

14

01252-30820

BOLT

SN: 3001-UP

4шт.

15

700-91-11630

JOINT

SN: 3001-UP

2шт.

16

700-93-11710

CASE,LEVER

SN: 3001-UP

2шт.

17

700-91-11640

PLATE

SN: 3001-UP

2шт.

18

07430-71380

O-RING

SN: 3001-UP

4шт.

19

6138-11-4880

BOLT

SN: 3001-UP

8шт.

20

700-93-11740

BEARING

SN: 3001-UP

2шт.

21

700-93-11750

BEARING

SN: 3001-UP

2шт.

22

700-93-11762

SEAL,OIL

SN: 3001-UP

2шт.

23

700-91-11660

LEVER

SN: 3001-UP

1шт.

24

700-91-11670

LEVER

SN: 3001-UP

1шт.

25

04010-00416

KEY

SN: 3001-UP

2шт.

26

700-93-11780

LEVER

SN: 3001-UP

2шт.

27

01010-30825

BOLT

SN: 3001-UP

2шт.

28

700-93-11790

PLATE

SN: 3001-UP

2шт.

29

700-93-11811

GASKET

SN: 3651-UP

2шт.

|29

0

GASKET

SN: 3001-3650

2шт.

30

01010-30820

BOLT

SN: 3001-UP

8шт.

31

700-93-11461

VALVE,CHECK

SN: 3001-UP

2шт.

32

700-93-11471

SPRING

SN: 3001-UP

2шт.

33

700-93-11481

PLUG

SN: 3001-UP

2шт.

34

07002-13634

O-RING

SN: 3001-UP

2шт.

35

700-91-11680

FLANGE

SN: 3513-UP

1шт.

|35

700-91-11650

FLANGE

SN: 3001-3512

1шт.

36

07000-13032

O-RING

SN: 3001-UP

1шт.

37

07000-03035

O-RING

SN: 3001-UP

1шт.

38

01010-51025

BOLT

SN: 3001-UP

1шт.

39

07000-02011

O-RING

SN: 3001-UP

2шт.

40

07000-03035

O-RING

SN: 3001-UP

1шт.

41

700-95-58000

VALVE ASS'Y,RELIEF

SN: 3513-UP

1шт.

|41

709-80-53100

VALVE ASS'Y,RELIEF

SN: 3001-3512

1шт.

42

700-90-88000

VALVE ASS'Y,SUCTION

SN: 3001-UP

4шт.

Выбрано товаров: 49