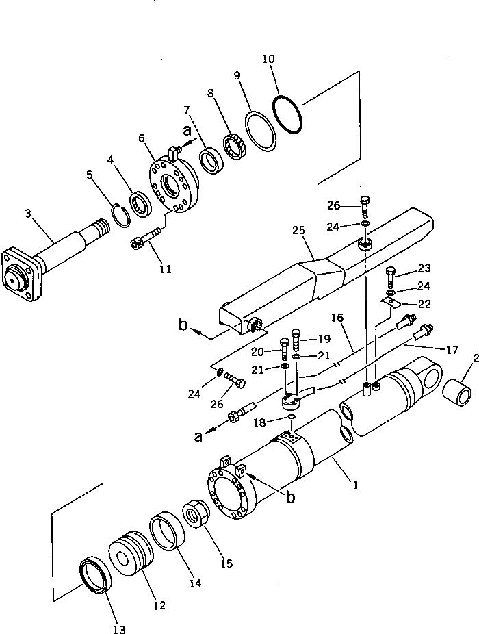
Запчасти Komatsu D85P-21A ЦИЛИНДР ПЕРЕКОСА ОТВАЛА(№-) РАБОЧЕЕ ОБОРУДОВАНИЕ

Схема запчастей Komatsu D85P-21A - ЦИЛИНДР ПЕРЕКОСА ОТВАЛА(№-) РАБОЧЕЕ ОБОРУДОВАНИЕ
FIT
1:1
100%

Артикул

Название

Примечание

Количество

G-1

0

CYLINDER GROUP,BLADE TILT

SN: 3001-UP

1шт.

|$$2

====================

-1шт.

|1

154-63-02070

CYLINDER ASS'Y,BLADE TILT

SN: 3001-UP

1шт.

1

154-63-53141

CYLINDER

SN: 3001-UP

1шт.

2

154-63-52760

BUSHING

SN: 3001-UP

1шт.

3

154-63-53120

ROD,PISTON

SN: 3001-UP

1шт.

4

195-63-92190

SEAL,DUST

SN: 3001-UP

1шт.

5

07179-13094

RING,SNAP

SN: .-UP

1шт.

|5

07179-00103

RING,SNAP

SN: 3001-.

1шт.

6

707-27-16211

HEAD,CYLINDER

SN: 3001-UP

1шт.

7

07177-08030

BUSHING

SN: 3001-UP

1шт.

8

707-51-80211

PACKING,ROD

SN: 3001-UP

1шт.

9

07146-05152

RING,BACK-UP

SN: 3001-UP

1шт.

10

07000-15150

O-RING

SN: 3001-UP

1шт.

11

01252-31865

BOLT

SN: 3001-UP

12шт.

12

707-36-16150

PISTON

SN: 3001-UP

1шт.

13

707-44-16080

RING,PISTON

SN: 3001-UP

1шт.

14

07155-01640

RING,WEAR

SN: 3001-UP

1шт.

15

07165-16264

NUT

SN: 3001-UP

1шт.

16

154-71-45120

TUBE

SN: 3001-UP

1шт.

17

154-71-45130

TUBE

SN: 3001-UP

1шт.

18

07000-13025

O-RING

SN: 3001-UP

1шт.

19

01010-50845

BOLT

SN: 3001-UP

2шт.

20

01010-50835

BOLT

SN: 3001-UP

2шт.

21

01643-30823

WASHER

SN: 3001-UP

4шт.

22

195-63-52871

CLIP

SN: 3001-UP

1шт.

23

01010-51425

BOLT

SN: 3001-UP

1шт.

24

01643-31445

WASHER

SN: 3001-UP

4шт.

25

154-71-45140

COVER

SN: 3001-UP

1шт.

26

01010-51435

BOLT

SN: 3001-UP

3шт.

|$$31

====================

-1шт.

Выбрано товаров: 31