Запчасти Komatsu D85P-21A С-ОБРАЗН. РАМА(№-) РАБОЧЕЕ ОБОРУДОВАНИЕ

Схема запчастей Komatsu D85P-21A - С-ОБРАЗН. РАМА(№-) РАБОЧЕЕ ОБОРУДОВАНИЕ
FIT
1:1
100%

Артикул

Название

Примечание

Количество

G-1

0

C-FRAME GROUP

SN: 3001-UP

1шт.

|$$2

====================

-1шт.

1

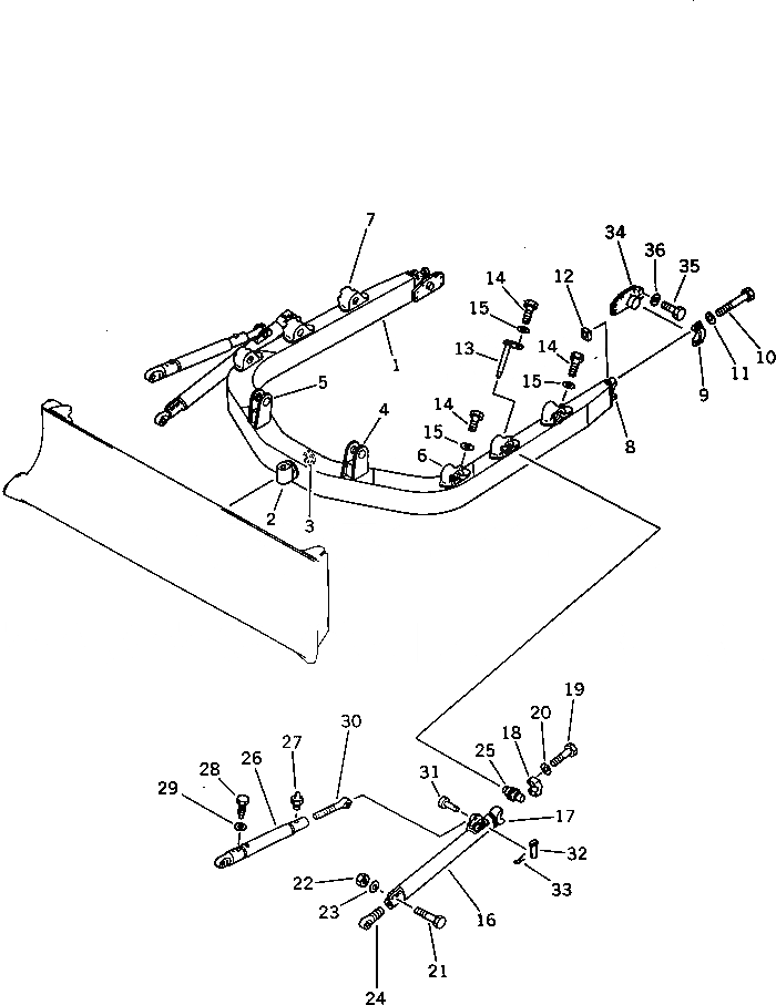
154-926-2110

C-FRAME

SN: 3001-UP

1шт.

2

150-70-23315

JOINT

SN: 3001-UP

1шт.

3

150-70-23320

COLLAR (WELDED)

SN: 3001-UP

1шт.

4

154-926-2120

BRACKET,L.H. (WELDED)

SN: 3001-UP

1шт.

5

154-926-2130

BRACKET,R.H. (WELDED)

SN: 3001-UP

1шт.

6

154-70-13134

BRACKET,L.H. (WELDED)

SN: 3001-UP

3шт.

7

154-70-13124

BRACKET,R.H. (WELDED)

SN: 3001-UP

3шт.

|8

150-70-00240

BRACKET ASS'Y

SN: 3001-UP

2шт.

8

0

BRACKET (WELDED)

SN: 3001-UP

1шт.

9

0

CAP

SN: 3001-UP

1шт.

10

154-71-31420

BOLT

SN: 3001-UP

2шт.

11

01643-32780

WASHER

SN: 3001-UP

2шт.

12

170-70-13141

NUT

SN: 3001-UP

2шт.

13

154-70-19181

PIN

SN: 3001-UP

2шт.

14

01010-31420

BOLT

SN: 3001-UP

6шт.

15

205-06-62270

WASHER

SN: 3001-UP

6шт.

|$$19

====================

-1шт.

G-2

0

ARM AND BRACE GROUP

SN: 3001-UP

1шт.

|$$21

====================

-1шт.

|16

154-70-00311

ARM ASS'Y

SN: 3001-UP

2шт.

16

0

ARM

SN: 3001-UP

1шт.

|17

154-70-00214

CAP ASS'Y

SN: 3001-UP

1шт.

17

0

BRACKET (WELDED)

SN: 3001-UP

1шт.

18

0

CAP

SN: 3001-UP

1шт.

19

01010-52095

BOLT

SN: 3001-UP

4шт.

20

01643-32060

WASHER

SN: 3001-UP

4шт.

21

01010-51880

BOLT

SN: 3001-UP

2шт.

22

01580-11815

NUT

SN: 3001-UP

2шт.

23

01643-31845

WASHER

SN: 3001-UP

2шт.

24

175-70-12130

SCREW

SN: 3001-UP

2шт.

25

154-70-12162

SHAFT

SN: 3001-UP

2шт.

|26

154-70-00085

BRACE ASS'Y

SN: 3001-UP

2шт.

26

154-70-17160

BRACE

SN: 3001-UP

1шт.

27

07020-00000

FITTING

SN: 3001-UP

2шт.

28

175-70-12221

SCREW

SN: 3001-UP

1шт.

29

01643-31445

WASHER

SN: 3001-UP

1шт.

30

154-70-12251

SCREW

SN: 3001-UP

1шт.

31

150-70-13411

PIN

SN: 3001-UP

2шт.

32

170-70-12240

PIN

SN: 3001-UP

2шт.

33

04050-04025

PIN

SN: 3001-UP

2шт.

|$$43

====================

-1шт.

G-3

0

TRUNNION GROUP

SN: 3001-UP

1шт.

|$$45

====================

-1шт.

34

154-929-1220

TRUNNION

SN: 3001-UP

2шт.

|34

154-929-1290

BALL (WELDED)

SN: 3001-UP

1шт.

35

01010-52255

BOLT

SN: 3001-UP

16шт.

36

01643-32260

WASHER

SN: 3001-UP

16шт.

|$$50

====================

-1шт.

Выбрано товаров: 50