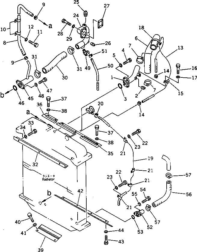
Запчасти Komatsu D85P-21A СИСТЕМА ТРУБ РАДИАТОРА И WIND ГИДРОМОЛОТ(№-) КОМПОНЕНТЫ ДВИГАТЕЛЯ И ЭЛЕКТРИКА

Схема запчастей Komatsu D85P-21A - СИСТЕМА ТРУБ РАДИАТОРА И WIND ГИДРОМОЛОТ(№-) КОМПОНЕНТЫ ДВИГАТЕЛЯ И ЭЛЕКТРИКА
FIT
1:1
100%

Артикул

Название

Примечание

Количество

|1

154-03-00190

TUBE ASS'Y

SN: 3001-UP

1шт.

1

0

TUBE

SN: 3001-UP

1шт.

2

07042-30108

PLUG

SN: 3001-UP

1шт.

3

07000-42070

O-RING

SN: 3001-UP

1шт.

4

01010-51240

BOLT

SN: 3001-UP

4шт.

5

01643-31232

WASHER

SN: 3001-UP

4шт.

6

154-03-31340

HOSE

SN: 3001-UP

1шт.

7

07289-00070

CLAMP

SN: 3704-UP

2шт.

|7

0

CLAMP

SN: 3057-3703

2шт.

|7

0

CLAMP

SN: 3001-3056

2шт.

8

154-03-31361

HOSE

SN: 3001-UP

1шт.

9

07281-00419

CLAMP

SN: 3001-UP

2шт.

10

581-04-22290

CLIP

SN: 3001-UP

2шт.

11

01010-51220

BOLT

SN: 3001-UP

2шт.

12

01643-31232

WASHER

SN: 3001-UP

2шт.

13

154-03-31350

HOSE

SN: 3001-UP

1шт.

14

07281-00197

CLAMP

SN: 3001-UP

2шт.

15

08036-01814

CLIP

SN: 3001-UP

1шт.

16

01010-51220

BOLT

SN: 3001-UP

1шт.

17

01643-31232

WASHER

SN: 3001-UP

1шт.

18

08034-00536

BAND

SN: 3001-UP

1шт.

19

195-03-13131

HOSE

SN: 3001-UP

1шт.

20

07285-00095

CLIP

SN: 3001-UP

1шт.

21

195-03-11690

CLIP

SN: 3001-UP

4шт.

22

01010-51220

BOLT

SN: 3001-UP

4шт.

23

01643-31232

WASHER

SN: 3001-UP

4шт.

24

154-03-31390

TUBE

SN: 3001-UP

1шт.

25

07042-30415

PLUG

SN: 3001-UP

1шт.

26

07042-30108

PLUG

SN: 3001-UP

1шт.

27

6210-61-6230

GASKET

SN: 3001-UP

1шт.

28

01010-51035

BOLT

SN: 3001-UP

4шт.

29

01643-31032

WASHER

SN: 3001-UP

4шт.

30

154-03-31321

HOSE

SN: 3001-UP

1шт.

31

07289-00070

CLAMP

SN: 3704-UP

2шт.

|31

0

CLAMP

SN: 3057-3703

2шт.

|31

0

CLAMP

SN: 3001-3056

2шт.

32

154-03-31580

BREAKER,WIND

SN: 3001-UP

1шт.

33

01010-51020

BOLT

SN: 3001-UP

3шт.

34

01643-31032

WASHER

SN: 3001-UP

3шт.

35

154-03-13231

PLATE

SN: 3001-UP

1шт.

36

154-03-13270

PLATE

SN: 3001-UP

1шт.

37

01010-51020

BOLT

SN: 3001-UP

5шт.

38

01643-31032

WASHER

SN: 3001-UP

5шт.

39

154-03-31540

PLATE

SN: 3001-UP

1шт.

40

01010-51020

BOLT

SN: 3001-UP

2шт.

41

01643-31032

WASHER

SN: 3001-UP

2шт.

42

154-03-12833

PLATE

SN: 3001-UP

1шт.

43

01010-51020

BOLT

SN: 3001-UP

4шт.

44

01643-31032

WASHER

SN: 3001-UP

4шт.

45

154-03-31560

TUBE

SN: 3001-UP

1шт.

46

07000-62060

O-RING

SN: 3001-UP

1шт.

47

01010-51235

BOLT

SN: 3001-UP

2шт.

48

01602-21236

WASHER,SPRING

SN: 3001-UP

2шт.

49

07730-40004

VALVE

SN: 3159-UP

1шт.

|49

0

VALVE

SN: 3001-3158

1шт.

50

175-03-31530

HOSE

SN: 3001-UP

1шт.

51

07285-00155

CLIP

SN: 3001-UP

1шт.

52

154-03-31550

TUBE

SN: 3001-UP

1шт.

53

07000-63045

O-RING

SN: 3001-UP

1шт.

54

01010-51235

BOLT

SN: 3001-UP

2шт.

55

01602-21236

WASHER,SPRING

SN: 3001-UP

2шт.

56

154-03-31371

HOSE

SN: 3001-UP

1шт.

57

07281-00609

CLAMP

SN: 3001-UP

2шт.

Выбрано товаров: 63