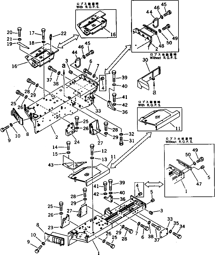
Запчасти Komatsu D85P-21A КРЫЛО(№-) ЧАСТИ КОРПУСА

Схема запчастей Komatsu D85P-21A - КРЫЛО(№-) ЧАСТИ КОРПУСА
FIT
1:1
100%

Артикул

Название

Примечание

Количество

1

154-54-41732

FENDER,L.H.

SN: 3382-UP

1шт.

|1

154-54-41731

FENDER,L.H.

SN: 3223-3381

1шт.

2

154-54-45212

FENDER,R.H.

SN: 3382-UP

1шт.

|2

154-54-45211

FENDER,R.H.

SN: 3223-3381

1шт.

3

07049-01620

PLUG

SN: 3001-UP

8шт.

4

07049-02430

PLUG,(WITH ROPS)

SN: 3001-UP

6шт.

5

07049-01822

PLUG

SN: 3001-UP

2шт.

6

01010-52050

BOLT

SN: 3001-UP

14шт.

7

01643-32060

WASHER

SN: 3001-UP

14шт.

8

154-54-41954

COVER

SN: 3229-UP

2шт.

|8

154-54-41953

COVER

SN: 3001-3228

2шт.

9

195-54-43210

BOLT

SN: 3001-UP

12шт.

10

198-54-42280

WASHER

SN: 3001-UP

12шт.

11

154-54-42251

COVER,L.H. (WITHOUT ROPS)

SN: 3223-UP

1шт.

|11

154-54-42271

COVER,L.H. (WITH ROPS)

SN: 3223-UP

1шт.

12

01011-51210

BOLT

SN: 3001-UP

6шт.

13

01643-31232

WASHER

SN: 3001-UP

6шт.

14

01010-51225

BOLT

SN: 3001-UP

2шт.

15

01643-31232

WASHER

SN: 3001-UP

2шт.

16

154-54-41922

COVER,R.H. (WITHOUT ROPS)

SN: 3223-UP

1шт.

|16

154-54-42281

COVER,R.H. (WITH ROPS)

SN: 3223-UP

1шт.

17

01011-51210

BOLT

SN: 3001-UP

6шт.

18

01643-31232

WASHER

SN: 3001-UP

6шт.

19

154-54-41942

PLATE

SN: 3001-UP

1шт.

20

01010-51225

BOLT

SN: 3001-UP

2шт.

21

01643-31232

WASHER

SN: 3001-UP

2шт.

22

09459-00000

LOCK

SN: 3223-UP

1шт.

23

154-54-41860

BRACKET,L.H.

SN: 3001-UP

1шт.

24

154-54-41850

BRACKET,R.H.

SN: 3001-UP

1шт.

25

01010-51640

BOLT

SN: 3001-UP

16шт.

26

01643-31645

WASHER

SN: 3001-UP

16шт.

27

154-54-42210

BRACKET

SN: 3001-UP

2шт.

28

01010-51640

BOLT

SN: 3001-UP

14шт.

29

01643-31645

WASHER

SN: 3001-UP

14шт.

30

154-54-41931

COVER

SN: 3001-UP

1шт.

31

01010-51230

BOLT

SN: 3001-UP

4шт.

32

01643-31232

WASHER

SN: 3001-UP

4шт.

33

175-54-22420

COVER

SN: 3001-UP

2шт.

34

01010-51230

BOLT

SN: 3001-UP

8шт.

35

01643-31232

WASHER

SN: 3001-UP

8шт.

36

154-54-11970

BRACKET

SN: 3001-UP

2шт.

37

01010-51635

BOLT

SN: 3001-UP

4шт.

38

01643-31645

WASHER

SN: 3001-UP

4шт.

39

01011-51690

BOLT

SN: 3001-UP

2шт.

40

01643-31645

WASHER

SN: 3001-UP

2шт.

41

01010-51655

BOLT

SN: 3001-UP

2шт.

42

01643-31645

WASHER

SN: 3001-UP

2шт.

43

154-54-42260

COVER

SN: 3001-UP

1шт.

44

154-54-22990

HANDLE

SN: 3001-UP

1шт.

45

01010-51850

BOLT

SN: 3001-UP

2шт.

46

01643-31845

WASHER

SN: 3001-UP

2шт.

47

154-54-46950

COVER,L.H. (WITHOUT ROPS)

SN: 3092-UP

1шт.

48

154-54-46960

COVER,R.H. (WITHOUT ROPS)

SN: 3092-UP

1шт.

49

01010-82755

BOLT,(WITHOUT ROPS)

SN: 3427-UP

6шт.

|49

01010-52450

BOLT,(WITHOUT ROPS)

SN: 3092-3426

6шт.

50

01643-32780

WASHER,(WITHOUT ROPS)

SN: 3427-UP

6шт.

|50

01643-32460

WASHER,(WITHOUT ROPS)

SN: 3092-3426

6шт.

Выбрано товаров: 0