Запчасти Komatsu D85PX-15 H.S.S (РУЛЕВ. УПРАВЛЕНИЕ СУППОРТ) СИЛОВАЯ ПЕРЕДАЧА И КОНЕЧНАЯ ПЕРЕДАЧА

Схема запчастей Komatsu D85PX-15 - H.S.S (РУЛЕВ. УПРАВЛЕНИЕ СУППОРТ) СИЛОВАЯ ПЕРЕДАЧА И КОНЕЧНАЯ ПЕРЕДАЧА
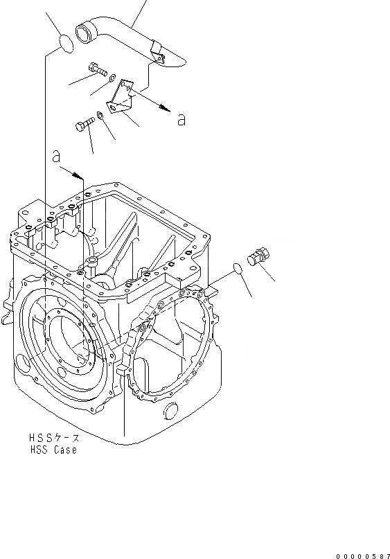
1
2
3
4
5
6
7
8
9
FIT
1:1
100%

Артикул

Название

Примечание

Количество

1

154-22-26210

TUBE

SN: 1001-UP

1шт.

2

07000-72065

O-RING

SN: 1001-UP

1шт.

3

01010-81225

BOLT

SN: 1001-UP

1шт.

4

01643-31232

WASHER

SN: 1001-UP

1шт.

5

154-22-21130

PLATE

SN: 1001-UP

1шт.

6

01010-81225

BOLT

SN: 1001-UP

2шт.

7

01643-31232

WASHER

SN: 1001-UP

2шт.

8

6150-23-5620

PLUG

SN: 1001-UP

1шт.

9

07002-23634

O-RING

SN: 1001-UP

1шт.

Выбрано товаров: 9