Запчасти Komatsu SA6D125E-3B-7 ТРУБОПРОВОД ВПУСКА ВОЗДУХА И ПОСЛЕОХЛАДИТЕЛЬ(№-) ДВИГАТЕЛЬ

Схема запчастей Komatsu SA6D125E-3B-7 - ТРУБОПРОВОД ВПУСКА ВОЗДУХА И ПОСЛЕОХЛАДИТЕЛЬ(№-) ДВИГАТЕЛЬ
1
2
2
3
4
5
5
6
6
7
8
9
10
11
11
11
11
12
12
13
13
14
15
15
15
16
17
18
19
20
21
21
22
23
23
24
24
25
25
25
25
26
27
28
1
2
2
3
4
5
5
6
6
7
8
9
10
11
11
11
11
12
12
13
13
14
15
15
15
16
17
18
19
20
21
21
22
23
23
24
24
25
25
25
25
26
27
28
FIT
1:1
100%

Артикул

Название

Примечание

Количество

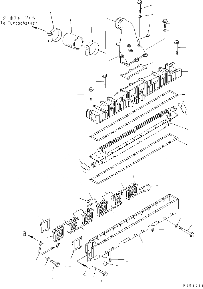
|1

6155-61-6100

AFTER COOLER ASS'Y

SN: 311222-UP

1шт.

1

6152-12-4110

MANIFOLD,AIR INTAKE

SN: 311222-UP

1шт.

2

07042-00108

PLUG

SN: 311222-UP

2шт.

3

07042-00415

PLUG

SN: 311222-UP

1шт.

4

6152-62-6111

CORE,AFTER COOLER

SN: 311222-UP

1шт.

5

6222-61-6240

O-RING (K1)

SN: 311222-UP

4шт.

6

6152-11-4731

GASKET (K1)

SN: 311222-UP

2шт.

7

6155-11-4210

COVER

SN: 311222-UP

1шт.

8

01435-00880

BOLT

SN: 311222-UP

2шт.

9

01435-00890

BOLT

SN: 311222-UP

3шт.

10

01435-00885

BOLT

SN: 311222-UP

19шт.

11

600-815-9320

HEATER

SN: 311222-UP

6шт.

12

6150-13-4810

GASKET (K1)

SN: 311222-UP

12шт.

13

01435-01050

BOLT

SN: 311222-UP

17шт.

14

01436-01055

BOLT

SN: 311222-UP

5шт.

15

01640-21016

WASHER

SN: 311222-UP

24шт.

16

6152-11-4340

CONNECTOR,AIR

SN: 311222-UP

1шт.

17

02720-20204

PLUG

SN: 311222-UP

1шт.

18

6152-11-4721

GASKET (K1)

SN: 311222-UP

1шт.

19

01435-01035

BOLT

SN: 311222-UP

1шт.

20

01435-01075

BOLT

SN: 311222-UP

1шт.

21

01640-21016

WASHER

SN: 311222-UP

2шт.

22

6151-11-4410

HOSE

SN: 311222-UP

1шт.

23

07281-01029

CLAMP

SN: 311222-UP

2шт.

24

6151-81-4450

WIRE¤ 160MM

SN: 311222-UP

2шт.

25

6155-81-4460

WIRE¤ 170MM

SN: 311397-UP

3шт.

|25

0

WIRE¤ 180MM

SN: 311222-311396

3шт.

26

6678-81-4340

WIRE¤ 170MM

SN: 311222-UP

2шт.

27

08038-00519

CAP

SN: 311222-UP

11шт.

28

6134-81-4910

CAP

SN: 311222-UP

1шт.

|1

6155-61-6100

AFTER COOLER ASS'Y

SN: 311222-UP

1шт.

1

6152-12-4110

MANIFOLD,AIR INTAKE

SN: 311222-UP

1шт.

2

07042-00108

PLUG

SN: 311222-UP

2шт.

3

07042-00415

PLUG

SN: 311222-UP

1шт.

4

6152-62-6111

CORE,AFTER COOLER

SN: 311222-UP

1шт.

5

6222-61-6240

O-RING (K1)

SN: 311222-UP

4шт.

6

6152-11-4731

GASKET (K1)

SN: 311222-UP

2шт.

7

6155-11-4210

COVER

SN: 311222-UP

1шт.

8

01435-00880

BOLT

SN: 311222-UP

2шт.

9

01435-00890

BOLT

SN: 311222-UP

3шт.

10

01435-00885

BOLT

SN: 311222-UP

19шт.

11

600-815-9320

HEATER

SN: 311222-UP

6шт.

12

6150-13-4810

GASKET (K1)

SN: 311222-UP

12шт.

13

01435-01050

BOLT

SN: 311222-UP

17шт.

14

01436-01055

BOLT

SN: 311222-UP

5шт.

15

01640-21016

WASHER

SN: 311222-UP

24шт.

16

6152-11-4340

CONNECTOR,AIR

SN: 311222-UP

1шт.

17

02720-20204

PLUG

SN: 311222-UP

1шт.

18

6152-11-4721

GASKET (K1)

SN: 311222-UP

1шт.

19

01435-01035

BOLT

SN: 311222-UP

1шт.

20

01435-01075

BOLT

SN: 311222-UP

1шт.

21

01640-21016

WASHER

SN: 311222-UP

2шт.

22

6151-11-4410

HOSE

SN: 311222-UP

1шт.

23

07281-01029

CLAMP

SN: 311222-UP

2шт.

24

6151-81-4450

WIRE¤ 160MM

SN: 311222-UP

2шт.

25

6155-81-4460

WIRE¤ 170MM

SN: 311397-UP

3шт.

|25

0

WIRE¤ 180MM

SN: 311222-311396

3шт.

26

6678-81-4340

WIRE¤ 170MM

SN: 311222-UP

2шт.

27

08038-00519

CAP

SN: 311222-UP

11шт.

28

6134-81-4910

CAP

SN: 311222-UP

1шт.

Выбрано товаров: 60