Запчасти Komatsu D85PX-15E0 СИДЕНЬЕ ОПЕРАТОРА (ТКАНЕВОЕ СИДЕНЬЕ) (HI-BACK ТИП)(№-) КАБИНА ОПЕРАТОРА И СИСТЕМА УПРАВЛЕНИЯ

Схема запчастей Komatsu D85PX-15E0 - СИДЕНЬЕ ОПЕРАТОРА (ТКАНЕВОЕ СИДЕНЬЕ) (HI-BACK ТИП)(№-) КАБИНА ОПЕРАТОРА И СИСТЕМА УПРАВЛЕНИЯ
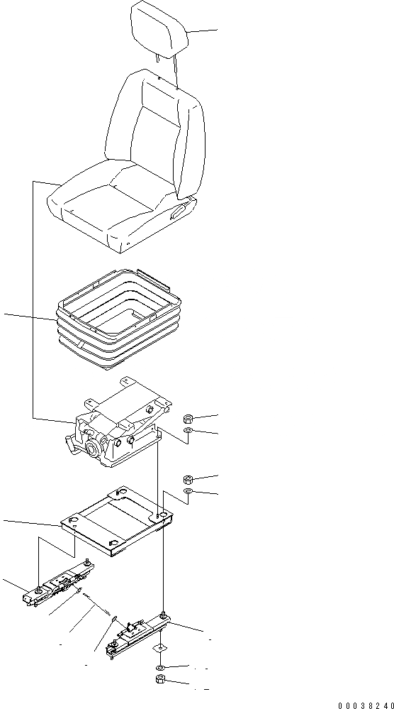
1
2
3
4
5
6
6
7
8
9
10
11
12
13
FIT
1:1
100%

Артикул

Название

Примечание

Количество

|$1

17A-57-23501

SEAT ASS'Y

SN: 1201-UP

1шт.

1

17A-57-23510

SEAT ASS'Y,FABRIC

SN: 1201-UP

1шт.

|$3

17A-57-23550

ADJUSTER ASS'Y

SN: 1201-UP

1шт.

2

17A-57-23220

BRACKET

SN: 1201-UP

1шт.

3

17A-57-23290

ADJUSTER

SN: 1201-UP

1шт.

4

17A-57-23560

ADJUSTER

SN: 1201-UP

1шт.

5

17A-57-23270

WIRE

SN: 1201-UP

1шт.

6

01640-20816

WASHER

SN: 1201-UP

2шт.

7

01582-11210

NUT

SN: 1201-UP

4шт.

8

01643-51232

WASHER

SN: 1201-UP

4шт.

9

01580-10806

NUT

SN: 1201-UP

4шт.

10

01643-50823

WASHER

SN: 1201-UP

4шт.

11

17A-57-23520

HEAD ASS'Y

SN: 1201-UP

1шт.

12

01582-11210

NUT

SN: 1201-UP

4шт.

13

01643-31232

WASHER

SN: 1201-UP

4шт.

Выбрано товаров: 15