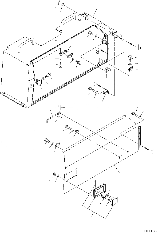
Запчасти Komatsu D85PX-15R КРЫШКА КРЫЛА (ЛЕВ.)(№-) ЧАСТИ КОРПУСА

Схема запчастей Komatsu D85PX-15R - КРЫШКА КРЫЛА (ЛЕВ.)(№-) ЧАСТИ КОРПУСА
1
2
3
4
5
6
7
8
9
10
11
12
13
14
15
16
17
18
19
20
21
22
23
24
25
26
27
28
29
30
31
32
33
34
35
36
37
38
39
FIT
1:1
100%

Артикул

Название

Примечание

Количество

1

154-54-73562

COVER

SN: 20001-UP

1шт.

2

154-54-74121

COVER

SN: 20001-UP

1шт.

3

198-54-55990

LOCK ASS'Y

SN: 20001-UP

1шт.

4

198-54-42480

HOOK

SN: 20001-UP

1шт.

5

198-54-42491

SPRING

SN: 20001-UP

1шт.

6

421-54-11381

LOCK

SN: 20001-UP

1шт.

7

01580-10806

NUT

SN: 20001-UP

4шт.

8

01643-30823

WASHER

SN: 20001-UP

4шт.

9

01010-81230

BOLT

SN: 20001-UP

4шт.

10

01643-31232

WASHER

SN: 20001-UP

4шт.

11

154-54-77470

BAR

SN: 20001-UP

1шт.

12

04050-12015

PIN,COTTER

SN: 20001-UP

1шт.

13

04205-10825

PIN

SN: 20001-UP

1шт.

14

198-54-19150

SPRING

SN: 20001-UP

1шт.

15

01010-80612

BOLT

SN: 20001-UP

2шт.

16

01643-30623

WASHER

SN: 20001-UP

2шт.

17

154-54-77461

BRACKET

SN: 20001-UP

1шт.

18

01010-81025

BOLT

SN: 20001-UP

1шт.

19

01643-31032

WASHER

SN: 20001-UP

1шт.

20

17A-54-14160

PLATE

SN: 20001-UP

1шт.

21

01010-81230

BOLT

SN: 20001-UP

2шт.

22

01643-31232

WASHER

SN: 20001-UP

2шт.

23

205-54-51970

DOVE TAIL

SN: 20001-UP

1шт.

24

01010-80616

BOLT

SN: 20001-UP

2шт.

25

01643-30623

WASHER

SN: 20001-UP

2шт.

26

154-54-74131

BRACKET

SN: 20001-UP

1шт.

27

01010-81230

BOLT

SN: 20001-UP

2шт.

28

01643-31232

WASHER

SN: 20001-UP

2шт.

29

205-54-53550

DOVE TAIL

SN: 20001-UP

1шт.

30

01010-80616

BOLT

SN: 20001-UP

2шт.

31

01643-30623

WASHER

SN: 20001-UP

2шт.

32

154-54-73571

BRACKET

SN: 20001-UP

1шт.

33

01010-80820

BOLT

SN: 20001-UP

2шт.

34

01643-30823

WASHER

SN: 20001-UP

2шт.

35

01643-30623

WASHER

SN: 20001-UP

1шт.

36

04050-12015

PIN,COTTER

SN: 20001-UP

1шт.

37

154-54-79930

PLATE

SN: 20001-UP

1шт.

38

01010-81025

BOLT

SN: 20001-UP

2шт.

39

01643-31032

WASHER

SN: 20001-UP

2шт.

Выбрано товаров: 39