Запчасти Komatsu D85PX-15R ПРИБОРНАЯ ПАНЕЛЬ, НАГНЕТАТЕЛЬ МОТОР (№-) ПРИБОРНАЯ ПАНЕЛЬ, С КОНДИЦИОНЕРОМ, ДЛЯ ДВИГАТЕЛЬ С ПОДОГРЕВАТЕЛЬ ХЛАДАГЕНТА

Схема запчастей Komatsu D85PX-15R - ПРИБОРНАЯ ПАНЕЛЬ, НАГНЕТАТЕЛЬ МОТОР (№-) ПРИБОРНАЯ ПАНЕЛЬ, С КОНДИЦИОНЕРОМ, ДЛЯ ДВИГАТЕЛЬ С ПОДОГРЕВАТЕЛЬ ХЛАДАГЕНТА
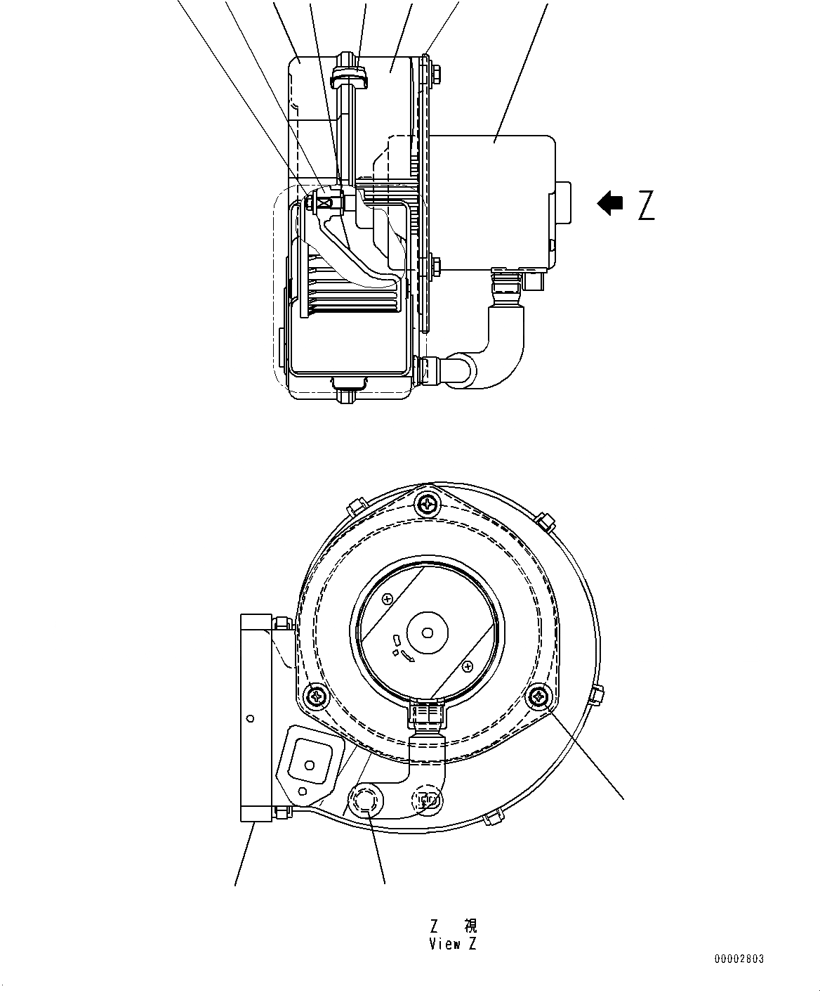
3
8
2
9
5
1
4
6
11
10
7
FIT
1:1
100%

Артикул

Название

Примечание

Количество

|$0

17A-Z11-7120

Blower Assembly

SN: 20003-UP

1шт.

1

ND140240-0682

Case

SN: 20003-UP

1шт.

2

ND514024-0121

Case

SN: 20003-UP

1шт.

3

ND529250-0049

Motor Assembly

SN: 20003-UP

1шт.

4

ND116221-0430

Fan

SN: 20003-UP

1шт.

5

ND949011-7650

Washer

SN: 20003-UP

1шт.

6

ND949056-2230

Nut

SN: 20003-UP

1шт.

7

ND949047-4120

Screw

SN: 20003-UP

3шт.

8

ND146622-1920

Packing

SN: 20003-UP

1шт.

9

ND116632-0171

Spring

SN: 20003-UP

6шт.

10

ND146651-0920

Pipe

SN: 20003-UP

1шт.

11

ND040016-4780

Insulator

SN: 20003-UP

1шт.

Выбрано товаров: 12