Запчасти Komatsu D85PX-15R ЗАЩИТА РАДИАТОРА, ПРОВОДКА (№-) ЗАЩИТА РАДИАТОРА

Схема запчастей Komatsu D85PX-15R - ЗАЩИТА РАДИАТОРА, ПРОВОДКА (№-) ЗАЩИТА РАДИАТОРА
5
9
8
1
2
3
4
5
6
7
10
11
12
14
15
17
18
2
2
5
5
5
16
13
5
20
21
22
19
FIT
1:1
100%

Артикул

Название

Примечание

Количество

1

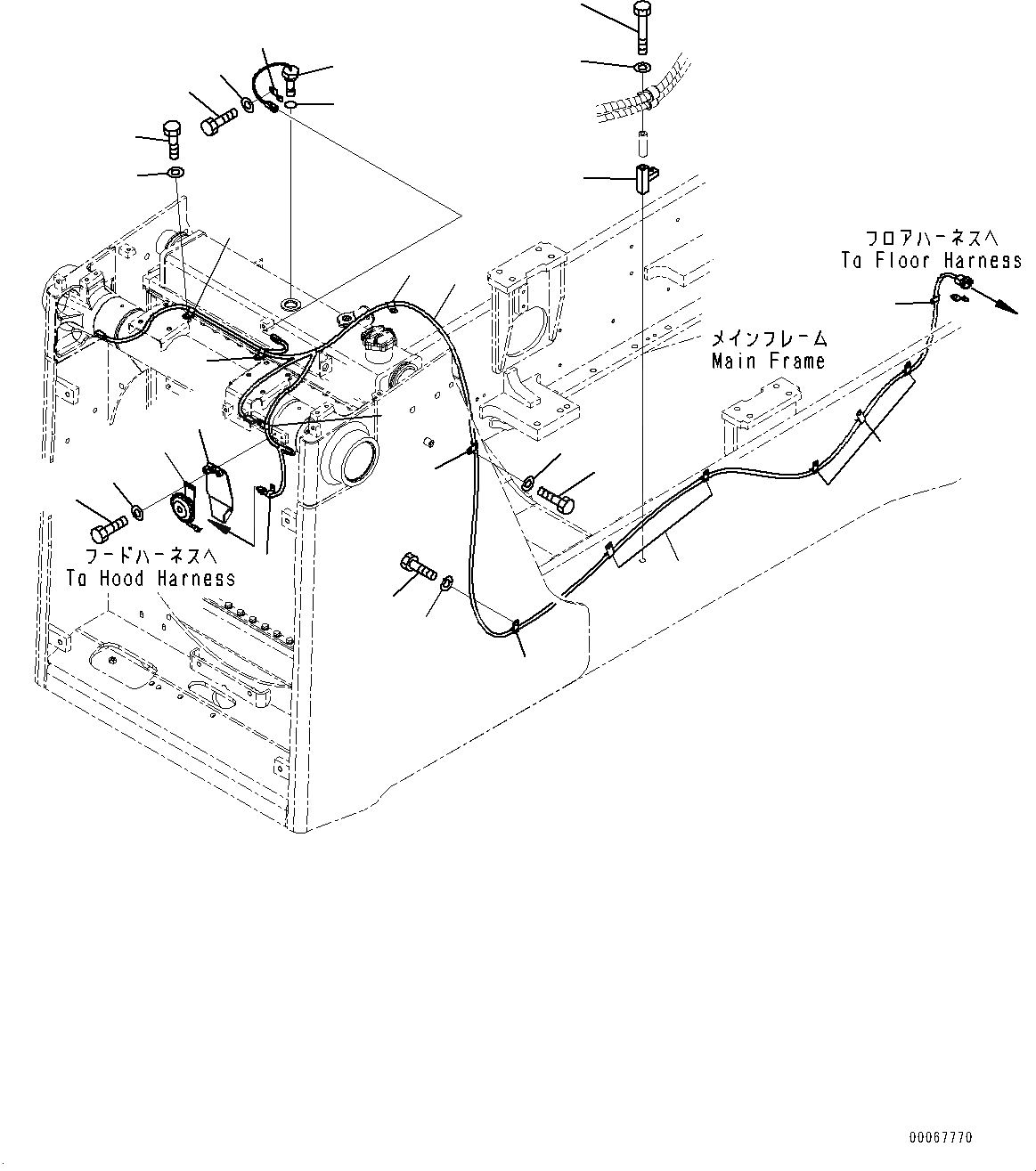
154-06-74282

Wiring Harness

SN: 20003-UP

1шт.

2

04434-51012

Clip

SN: 20003-UP

4шт.

3

01010-81230

Bolt

SN: 20003-UP

4шт.

4

01643-31232

Washer

SN: 20003-UP

4шт.

5

04434-51412

Clip

SN: 20003-UP

14шт.

6

01010-81230

Bolt

SN: 20003-UP

10шт.

7

01643-31232

Washer

SN: 20003-UP

10шт.

8

01010-81220

Bolt

SN: 20003-UP

3шт.

9

01643-31232

Washer

SN: 20003-UP

3шт.

10

08193-21012

Clip

SN: 20003-UP

1шт.

11

01010-81230

Bolt

SN: 20003-UP

1шт.

12

01643-31232

Washer

SN: 20003-UP

1шт.

13

19M-06-18220

Horn

SN: 20003-UP

1шт.

14

01010-80825

Bolt

SN: 20003-UP

2шт.

15

01643-30823

Washer

SN: 20003-UP

2шт.

16

11Y-06-11731

Bracket

SN: 20003-UP

1шт.

17

7861-93-4520

Sensor,Water Level

SN: 20003-UP

1шт.

18

07002-13634

O-ring

SN: 20003-UP

1шт.

19

04434-51008

Clip

SN: 20003-UP

1шт.

20

154-911-7690

Spacer

SN: 20003-UP

1шт.

21

01011-81215

Bolt

SN: 20003-UP

1шт.

22

01643-31232

Washer

SN: 20003-UP

1шт.

Выбрано товаров: 22