Запчасти Komatsu D85PX-15R КРЫЛО, КРЫШКА КРЫЛА (№-) КРЫЛО, С ВЫСОК. ЕМК. АККУМУЛЯТОР, БЕЗ КАБИНЫ, PROVISION ДЛЯ СКРЕППЕРА

Схема запчастей Komatsu D85PX-15R - КРЫЛО, КРЫШКА КРЫЛА (№-) КРЫЛО, С ВЫСОК. ЕМК. АККУМУЛЯТОР, БЕЗ КАБИНЫ, PROVISION ДЛЯ СКРЕППЕРА
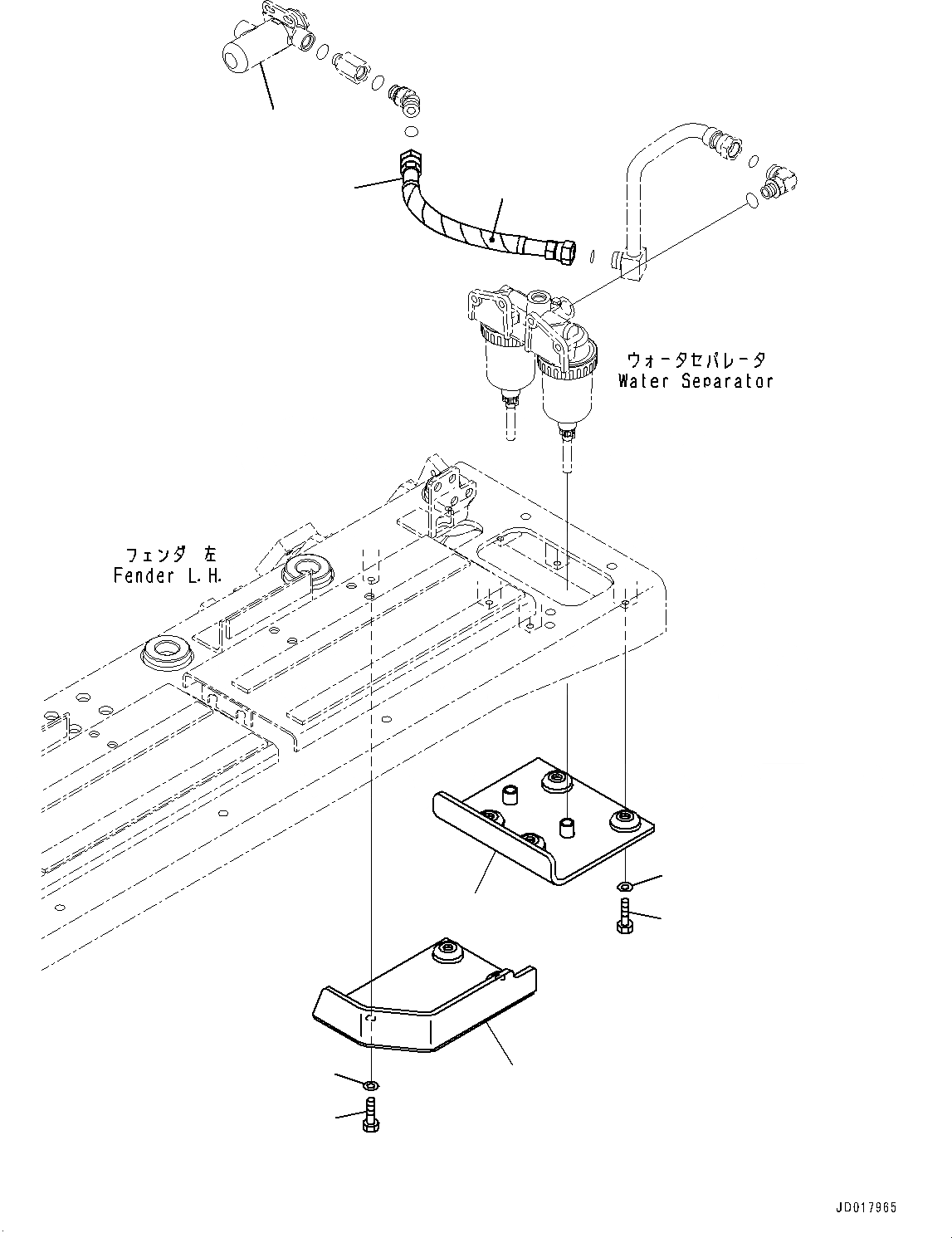
1
2
3
4
5
6
8
7
9
FIT
1:1
100%

Артикул

Название

Примечание

Количество

1

154-04-75650

Hose

SN: 20003-UP

1шт.

2

08017-82202

Conduit

SN: 20003-UP

1шт.

3

154-54-73592

Cover

SN: 20003-UP

1шт.

4

01010-81230

Bolt

SN: 20003-UP

4шт.

5

01643-31232

Washer

SN: 20003-UP

4шт.

6

154-54-73580

Cover

SN: 20003-UP

1шт.

7

01010-81230

Bolt

SN: 20003-UP

3шт.

8

01643-31232

Washer

SN: 20003-UP

3шт.

9

14X-04-21660

Case

SN: UP

-1шт.

Выбрано товаров: 9