Запчасти Komatsu D87E-2 FIG. F-9A РЕГУЛИР. КЛАПАН СИЛОВАЯ ПЕРЕДАЧА И КОНЕЧНАЯ ПЕРЕДАЧА

Схема запчастей Komatsu D87E-2 - FIG. F-9A РЕГУЛИР. КЛАПАН СИЛОВАЯ ПЕРЕДАЧА И КОНЕЧНАЯ ПЕРЕДАЧА
2
3
4
5
6
7
8
7
1
FIT
1:1
100%

Артикул

Название

Примечание

Количество

|$0

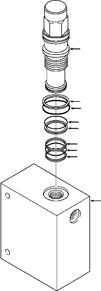
1316 489 H91

VALVE, REGULATOR

SN: P095001-UP

1шт.

1

1316 488 H1

BLOCK

SN: P095001-UP

1шт.

|$2

1316 486 H1

VALVE, REGULATOR

SN: P095001-UP

1шт.

2

NSS

CARTRIDGE, VALVE

SN: P095001-UP

1шт.

|$4

1316 487 H1

KIT, SEAL

SN: P095001-UP

1шт.

3

NSS

RING, UPPER BACKUP

SN: P095001-UP

1шт.

4

NSS

O-RING, UPPER

SN: P095001-UP

1шт.

5

NSS

O-RING, CENTER

SN: P095001-UP

1шт.

6

NSS

RING, CENTER BACKUP

SN: P095001-UP

1шт.

7

NSS

RING, LOWER, BACKUP

SN: P095001-UP

2шт.

8

NSS

O-RING, LOWER

SN: P095001-UP

1шт.

Выбрано товаров: 11