Качественные детали и логистика
Оригинальные и аналоговые запчасти с доставкой по России, Казахстану и Беларуси
©2022 PartSell ООО "Система" ИНН 2463123282 ОГРН 1212400004838
Центральный офис: г. Красноярск, Академика Киренского, д.87, пом.4
Телефон: 8 (800) 777-65-74 Email: zakaz@partsell.ru
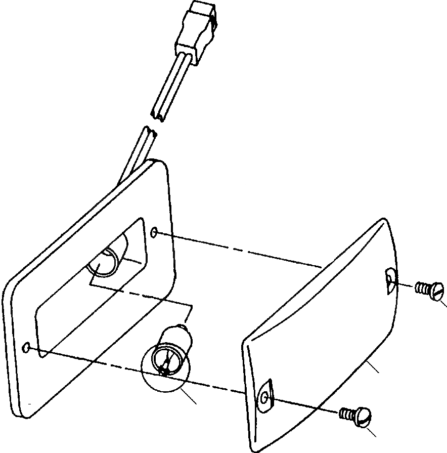
FIG. K-8A КАБИНА - DOME LIGHT
№
Артикул
Название
Примечание
Количество
|$0
1232 843 H91
LIGHT ASSEMBLY, DOME
SN: P090001-UP
1шт.
1
NSS
LENS, LIGHT
2
1260 121 H1
BULB - 24V
3
450 560
SCREW, MOUNTING - #8NCx1/2
2шт.
Выбрано товаров: 0