Запчасти Komatsu D87E-2 FIG. T-A ПОВОРОТНЫЙ ОТВАЛ НИЖН. ПРАВ. STRUT РАБОЧЕЕ ОБОРУДОВАНИЕ

Схема запчастей Komatsu D87E-2 - FIG. T-A ПОВОРОТНЫЙ ОТВАЛ НИЖН. ПРАВ. STRUT РАБОЧЕЕ ОБОРУДОВАНИЕ
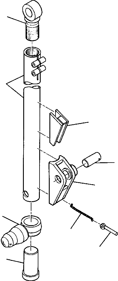
1
3
9
2
8
4
6
7
5
FIT
1:1
100%

Артикул

Название

Примечание

Количество

|$0

742 390 C91

STRUT ASSEMBLY, LOWER RIGHT

SN: P90001--UP

1шт.

1

734 909 C1

EYE BOLT, STRUT TO BLADE

SN: P90001--UP

1шт.

2

342 398 R1

PIN, UPPER STRUT MOUNTING

SN: P90001--UP

1шт.

|$3

24 867 R1

BOLT, MOUNTING

SN: P90001--UP

1шт.

|$4

9412 230

NUT, LOCK

SN: P90001--UP

1шт.

3

742 388 C1

BODY ASSEMBLY, STRUT

SN: P90001--UP

1шт.

4

290 915 R2

TRUNNION, C FRAME

SN: P90001--UP

1шт.

5

290 916 R2

PIN, TRUNNION

SN: P90001--UP

1шт.

6

290 287 R2

CHAIN, PIN

SN: P90001--UP

1шт.

7

290 288 R1

PIN, TRUNNION PIN LOCK

SN: P90001--UP

1шт.

8

315 497 R91

BRACKET, UPPER STRUT MOUNTING

SN: P90001--UP

1шт.

9

323 642 R11

RETAINER, STRUT

SN: P90001--UP

1шт.

|$12

24 896 R1

BOLT, MOUNTING

SN: P90001--UP

2шт.

|$13

25 538 R1

WASHER, FLAT

SN: P90001--UP

4шт.

|$14

9413 983

NUT, LOCK

SN: P90001--UP

2шт.

Выбрано товаров: 15