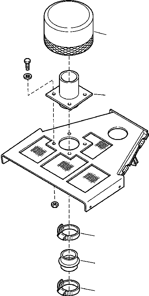
Запчасти Komatsu D87E-2 FIG. B-A INTAKE ВОЗД. ПРЕФИЛЬТР - LANDFILL PACKAGE КОМПОНЕНТЫ ДВИГАТЕЛЯ

Схема запчастей Komatsu D87E-2 - FIG. B-A INTAKE ВОЗД. ПРЕФИЛЬТР - LANDFILL PACKAGE КОМПОНЕНТЫ ДВИГАТЕЛЯ
1
2
4
3
4
FIT
1:1
100%

Артикул

Название

Примечание

Количество

1

1316 304 H1

PRECLEANER

SN: P090001-UP

1шт.

2

1316 251 H91

SUPPORT

SN: P090001-UP

1шт.

3

1316 254 H1

HOSE

SN: P090001-UP

1шт.

4

177 175 H1

CLAMP

SN: P090001-UP

2шт.

|$4

24 860 R1

BOLT, HEX - 1/2NCX1

SN: P090001-UP

4шт.

|$5

25 526 R1

NUT, HEX - 1/2NC

SN: P090001-UP

4шт.

|$6

25 546 R1

WASHER - 1/2

SN: P090001-UP

8шт.

Выбрано товаров: 7