Запчасти Komatsu D87E-2 FIG. D-A ТОПЛИВН. БАК. ТОПЛИВН. БАК. AND КОМПОНЕНТЫ

Схема запчастей Komatsu D87E-2 - FIG. D-A ТОПЛИВН. БАК. ТОПЛИВН. БАК. AND КОМПОНЕНТЫ
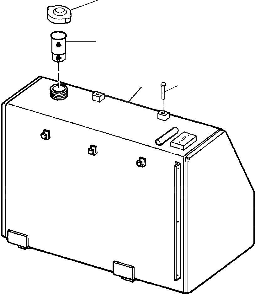
2
3
1
4
FIT
1:1
100%

Артикул

Название

Примечание

Количество

|$0

1500 934 H91

MOUNTING, FUEL TANK

SN: P090001-UP

1шт.

1

1500 935 H91

TANK, FUEL

SN: P090001-UP

1шт.

|$2

26 510 R1

BOLT

SN: P090001-UP

6шт.

|$3

25 556 R1

WASHER

SN: P090001-UP

6шт.

2

20Y-04-11160

CAP, FILLER

SN: P090001-UP

1шт.

3

07056-18416

STRAINER, TANK

SN: P090001-UP

1шт.

4

26 047 R1

BOLT

SN: P090001-UP

2шт.

|$7

-1шт.

|$8

F1 PART NUMBER IS A NON-SERVICE PART AND IS LISTED FOR REFERENCE ONLY. ORDER INDIVIDUAL PIECE PARTS.

-1шт.

|$9

-1шт.

Выбрано товаров: 10