Запчасти Komatsu D87P-2 FIG. F-A ТРАНСМИССИЯ/РУЛЕВ. УПРАВЛ. СИЛОВАЯ ПЕРЕДАЧА И КОНЕЧНАЯ ПЕРЕДАЧА

Схема запчастей Komatsu D87P-2 - FIG. F-A ТРАНСМИССИЯ/РУЛЕВ. УПРАВЛ. СИЛОВАЯ ПЕРЕДАЧА И КОНЕЧНАЯ ПЕРЕДАЧА
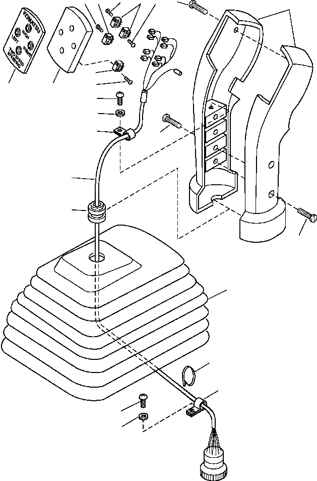
6
6
5
6
5
11
1
5
6
3
4
8
9
7
11
2
12
11
10
13
16
14
15
FIT
1:1
100%

Артикул

Название

Примечание

Количество

|$0

1316 498 H91

HANDLE ASSEMBLY

SN: Ser Num-UP

1шт.

1

1316 384 H1

GRIP

SN: Ser Num-UP

1шт.

2

1316 495 H91

HARNESS, WIRE

SN: Ser Num-UP

1шт.

3

1316 387 H1

DECAL, BUTTON

SN: Ser Num-UP

1шт.

4

1316 388 H1

FACE PLATE, SWITCH

SN: Ser Num-UP

1шт.

5

1316 390 H1

SWITCH, MICRO

SN: Ser Num-UP

4шт.

6

1316 385 H1

SCREW, TAPPING

SN: Ser Num-UP

8шт.

7

1316 500 H1

CLAMP, WIRE

SN: Ser Num-UP

1шт.

8

1316 386 H1

SCREW

SN: Ser Num-UP

1шт.

9

1316 389 H91

WASHER

SN: Ser Num-UP

1шт.

10

14X-43-11320

BOOT RUBBER

SN: Ser Num-UP

1шт.

11

1316 392 H1

SCREW, BUTTON

SN: Ser Num-UP

5шт.

12

1316 501 H1

GROMMET

SN: Ser Num-UP

1шт.

13

08034-00414

TIE, WIRE

SN: Ser Num-UP

1шт.

14

30 193 R1

BOLT

SN: Ser Num-UP

1шт.

15

30 209 R1

WASHER

SN: Ser Num-UP

1шт.

16

366 460 R1

CLAMP

SN: Ser Num-UP

1шт.

Выбрано товаров: 17