Запчасти Komatsu D87P-2 FIG. M8-A ДВИГАТЕЛЬ CRANKКОРПУС ЧАСТИ КОРПУСА - СТАНДАРТН. SERVICE ЧАСТИ КОРПУСА

Схема запчастей Komatsu D87P-2 - FIG. M8-A ДВИГАТЕЛЬ CRANKКОРПУС ЧАСТИ КОРПУСА - СТАНДАРТН. SERVICE ЧАСТИ КОРПУСА
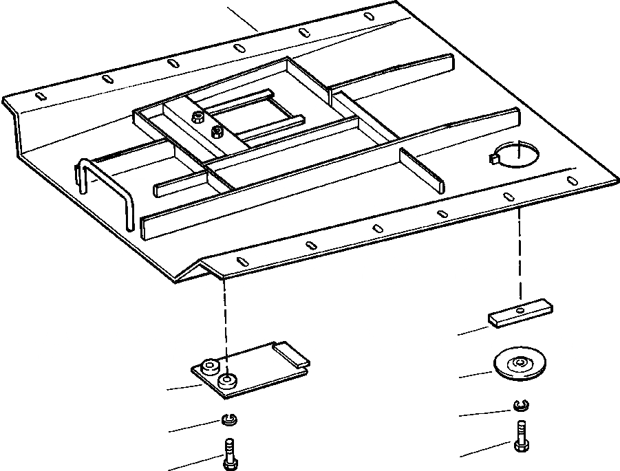
1
3
2
6
5
7
4
8
FIT
1:1
100%

Артикул

Название

Примечание

Количество

|$0

1501 192 H91

GUARD, CRANKCASE - W/FRONT PULLHOOK

SN: Ser Num-UP

1шт.

1

1501 193 H91

GUARD, CRANKCASE

SN: Ser Num-UP

1шт.

|$2

27 356 R1

BOLT

SN: Ser Num-UP

12шт.

|$3

1210 173 H1

WASHER

SN: Ser Num-UP

12шт.

|$4

67 574 DC

COVER

SN: Ser Num-UP

1шт.

2

NSS

COVER

SN: Ser Num-UP

1шт.

3

650 374 C1

BAR

SN: Ser Num-UP

1шт.

4

24 862 R1

BOLT

SN: Ser Num-UP

1шт.

5

25 536 R1

WASHER

SN: Ser Num-UP

1шт.

6

1501 026 H91

COVER

SN: Ser Num-UP

1шт.

7

30 178 R1

WASHER

SN: Ser Num-UP

2шт.

8

30 066 R1

BOLT

SN: Ser Num-UP

2шт.

|$12

-1шт.

|$13

F1 PART NUMBER IS A NON-SERVICE PART AND IS FOR REFERENCE ONLY. ORDER INDIVIDUAL PIECE PARTS

-1шт.

|$14

-1шт.

Выбрано товаров: 15