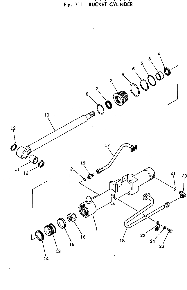
Запчасти Komatsu DBB041-1 ЦИЛИНДР КОВША КОВШ С 2-СТОРОНН. РАЗГРУЗКОЙ

Схема запчастей Komatsu DBB041-1 - ЦИЛИНДР КОВША КОВШ С 2-СТОРОНН. РАЗГРУЗКОЙ
FIT
1:1
100%

Артикул

Название

Примечание

Количество

|$0

125-63-98500

CYLINDER ASS'Y

SN: 1001-UP

1шт.

1

125-63-98540

CYLINDER

SN: 1001-UP

1шт.

2

707-29-80391

HEAD,CYLINDER

SN: 1001-UP

1шт.

3

07177-05030

BUSHING

SN: 1001-UP

1шт.

4

707-51-50211

PACKING

SN: 1001-UP

1шт.

5

07000-12085

O-RING

SN: 1001-UP

1шт.

6

07001-02085

RING

SN: 1001-UP

1шт.

7

176-63-92240

SEAL

SN: 1001-UP

1шт.

8

07179-00069

RING

SN: 1001-UP

1шт.

9

707-45-80011

WASHER

SN: 1001-UP

1шт.

10

125-63-98520

ROD

SN: 1001-UP

1шт.

11

07143-10405

BUSHING

SN: 1001-UP

1шт.

12

07145-00045

SEAL

SN: 1001-UP

2шт.

13

707-36-80080

PISTON

SN: 1001-UP

1шт.

14

707-44-80080

RING

SN: 1001-UP

1шт.

15

07155-00820

RING

SN: 1001-UP

1шт.

16

07165-13638

NUT

SN: 1001-UP

1шт.

17

125-63-98570

TUBE

SN: 1001-UP

1шт.

18

125-63-98580

TUBE

SN: 1001-UP

1шт.

19

07230-10422

UNION

SN: 1001-UP

1шт.

20

07235-10422

ELBOW

SN: 1001-UP

1шт.

21

07002-12034

O-RING

SN: 1001-UP

2шт.

22

07182-02288

CLAMP

SN: 1001-UP

1шт.

23

01010-51020

BOLT

SN: 1001-UP

2шт.

24

01602-21030

WASHER

SN: 1001-UP

2шт.

Выбрано товаров: 25