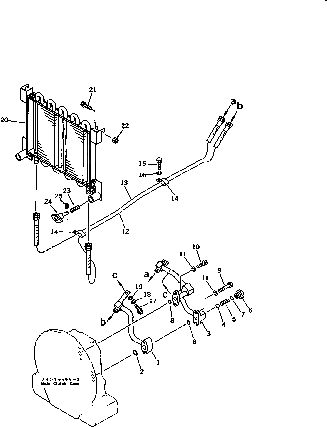
Запчасти Komatsu DDM020-5K-AC ЛИНИИ МАСЛООХЛАДИТЕЛЯ (ДЛЯ TОБОД КОЛЕСАMING DOZER) СИСТЕМА УПРАВЛЕНИЯ

Схема запчастей Komatsu DDM020-5K-AC - ЛИНИИ МАСЛООХЛАДИТЕЛЯ (ДЛЯ TОБОД КОЛЕСАMING DOZER) СИСТЕМА УПРАВЛЕНИЯ
FIT
1:1
100%

Артикул

Название

Примечание

Количество

1

102-49-51152

TUBE

SN: 60318-UP

1шт.

1

102-49-51151

TUBE

SN: 60001-60317

1шт.

2

07000-03025

O-RING

SN: 60001-UP

1шт.

3

102-49-51161

TUBE

SN: 60318-UP

1шт.

3

102-49-41160

TUBE

SN: 60001-60317

1шт.

4

04260-01270

BALL

SN: 60001-UP

1шт.

5

103-49-14270

SPRING

SN: 60001-UP

1шт.

6

103-49-14280

PLUG

SN: 60001-UP

1шт.

7

07002-01623

O-RING

SN: 60001-UP

1шт.

8

07000-02018

O-RING

SN: 60001-UP

2шт.

9

01010-51070

BOLT

SN: 60001-UP

2шт.

10

01010-51040

BOLT

SN: 60001-UP

2шт.

11

01602-21030

WASHER,SPRING

SN: 60001-UP

4шт.

12

07102-20416

HOSE

SN: 60001-UP

1шт.

13

07102-20414

HOSE

SN: 60001-UP

1шт.

14

145-01-42120

CLIP

SN: 60001-UP

2шт.

15

01010-51016

BOLT

SN: 60001-UP

2шт.

16

01602-21030

WASHER,SPRING

SN: 60001-UP

2шт.

17

01010-51025

BOLT

SN: 60318-UP

1шт.

17

07283-22236

CLIP

SN: 60001-60317

1шт.

18

01602-21030

WASHER,SPRING

SN: 60318-UP

1шт.

18

01599-01011

NUT

SN: 60001-60317

2шт.

19

01643-31032

WASHER

SN: 60318-UP

1шт.

19

01643-31032

WASHER

SN: 60001-60317

2шт.

20

104-Y16-3271

COOLER

SN: 60001-UP

1шт.

21

01010-51045

BOLT

SN: 60001-UP

2шт.

22

01580-11008

NUT

SN: 60001-UP

2шт.

23

144-854-1910

SPRING

SN: 60001-UP

2шт.

24

114-Z16-3630

HANDLE

SN: 60001-UP

2шт.

25

04025-00524

PIN,SPRING

SN: 60001-UP

2шт.

Выбрано товаров: 30