Запчасти Komatsu DDM020-5K-AC СИГНАЛ. ЗАДНЕГО ХОДА (ДЛЯ TОБОД КОЛЕСАMING DOZER) КОМПОНЕНТЫ ДВИГАТЕЛЯ И ЭЛЕКТРИКА

Схема запчастей Komatsu DDM020-5K-AC - СИГНАЛ. ЗАДНЕГО ХОДА (ДЛЯ TОБОД КОЛЕСАMING DOZER) КОМПОНЕНТЫ ДВИГАТЕЛЯ И ЭЛЕКТРИКА
FIT
1:1
100%

Артикул

Название

Примечание

Количество

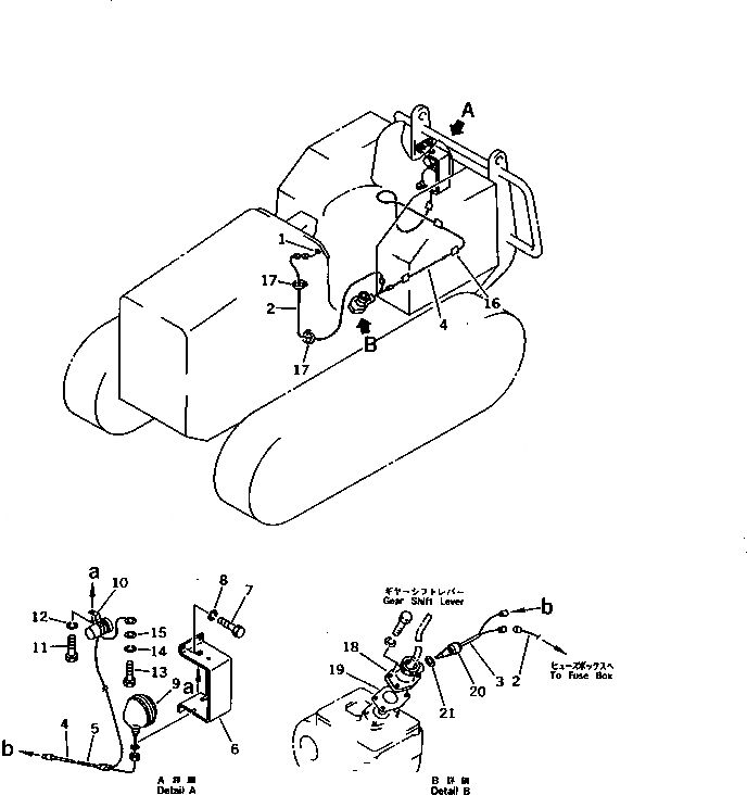
1

103-06-33220

WIRE

SN: 60001-UP

1шт.

2

104-Y16-3550

WIRE

SN: 60001-UP

1шт.

3

104-A60-4350

WIRE

SN: 60001-UP

1шт.

4

114-Z16-3220

WIRE

SN: 60001-UP

1шт.

5

08024-01910

TAPE

SN: 60001-UP

1шт.

6

114-X16-3360

COVER

SN: 63468-UP

1шт.

6

114-Z16-3250

COVER

SN: 60001-63467

1шт.

7

01010-31020

BOLT

SN: 60001-UP

4шт.

8

01602-01030

WASHER,SPRING

SN: 60001-UP

4шт.

9

08138-12410

LAMP ASS'Y

SN: 60001-UP

1шт.

9

08105-12420

BULB, 25W

SN: 60001-UP

1шт.

9

08138-00106

LENS,RED,RED

SN: 60001-UP

1шт.

10

114-X16-3350

BUZZER

SN: 63468-UP

1шт.

10

114-Z16-3230

BUZZER

SN: 60001-63467

1шт.

11

01010-31025

BOLT

SN: 60001-UP

1шт.

12

01602-01030

WASHER,SPRING

SN: 60001-UP

1шт.

13

01010-30616

BOLT

SN: 60001-UP

1шт.

14

01602-00619

WASHER,SPRING

SN: 60001-UP

1шт.

15

01643-20608

WASHER

SN: 60001-UP

1шт.

16

203-06-21150

CLIP

SN: 60001-UP

8шт.

17

08034-00414

BAND

SN: 60001-UP

2шт.

18

102-14-19111

SEAT

SN: 60001-UP

1шт.

19

101-14-11260

COVER

SN: 60001-UP

1шт.

20

08074-10000

SWITCH,BACK-UP

SN: 60001-UP

1шт.

21

07003-11824

GASKET

SN: 60001-UP

1шт.

Выбрано товаров: 25