Запчасти Komatsu DDM020-5L ЛИНИИ МАСЛООХЛАДИТЕЛЯ (ДЛЯ TОБОД КОЛЕСАMING DOZER) СИСТЕМА УПРАВЛЕНИЯ

Схема запчастей Komatsu DDM020-5L - ЛИНИИ МАСЛООХЛАДИТЕЛЯ (ДЛЯ TОБОД КОЛЕСАMING DOZER) СИСТЕМА УПРАВЛЕНИЯ
FIT
1:1
100%

Артикул

Название

Примечание

Количество

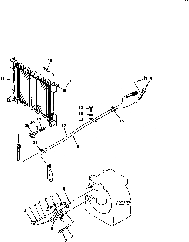
1

103-49-31320

TUBE

SN: 60001-UP

1шт.

2

04260-01270

BALL

SN: 60001-UP

1шт.

3

103-49-14270

SPRING

SN: 60001-UP

1шт.

4

103-49-14280

PLUG

SN: 60001-UP

1шт.

5

07002-01623

O-RING

SN: 60001-UP

1шт.

6

07000-03025

O-RING

SN: 60001-UP

2шт.

7

01010-51030

BOLT

SN: 60001-UP

4шт.

8

01602-21030

WASHER,SPRING

SN: 60001-UP

4шт.

9

07102-20417

HOSE

SN: 60001-UP

1шт.

10

07102-20414

HOSE

SN: 60001-UP

1шт.

11

145-01-42120

CLIP

SN: 60001-UP

2шт.

12

01010-51016

BOLT

SN: 60001-UP

2шт.

13

01602-21030

WASHER,SPRING

SN: 60001-UP

2шт.

14

08034-00823

BAND

SN: 60001-UP

2шт.

15

104-Y16-3271

COOLER

SN: 60001-UP

1шт.

16

01010-51045

BOLT

SN: 60001-UP

2шт.

17

01580-11008

NUT

SN: 60001-UP

2шт.

18

144-854-1910

SPRING

SN: 60001-UP

2шт.

19

114-Z16-3630

HANDLE

SN: 60001-UP

2шт.

20

04025-00524

PIN,SPRING

SN: 60001-UP

2шт.

Выбрано товаров: 20