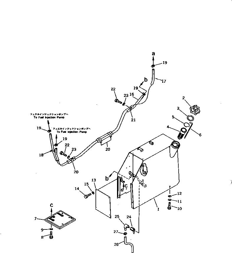
Запчасти Komatsu DDM020-5L ТОПЛ. БАК И ТОПЛИВОПРОВОД (ДЛЯ TОБОД КОЛЕСАMING DOZER) (ДЛЯ РОССИЯ)(№9-) КОМПОНЕНТЫ ДВИГАТЕЛЯ И ЭЛЕКТРИКА

Схема запчастей Komatsu DDM020-5L - ТОПЛ. БАК И ТОПЛИВОПРОВОД (ДЛЯ TОБОД КОЛЕСАMING DOZER) (ДЛЯ РОССИЯ)(№9-) КОМПОНЕНТЫ ДВИГАТЕЛЯ И ЭЛЕКТРИКА
FIT
1:1
100%

Артикул

Название

Примечание

Количество

1

103-04-39172

TANK

SN: 65861-UP

1шт.

1

103-04-39171

TANK

SN: 63469-65860

1шт.

2

07050-20920

CAP ASS'Y

SN: 63469-UP

1шт.

3

07050-20922

GASKET

SN: 63469-UP

1шт.

4

07056-16415

STRAINER

SN: 63469-UP

1шт.

5

07057-03266

RING,SNAP

SN: 63469-UP

1шт.

6

103-04-31120

GAUGE

SN: 63469-UP

1шт.

7

103-B62-1360

SEAT

SN: 63469-UP

1шт.

8

01010-51020

BOLT

SN: 63469-UP

4шт.

9

01602-21030

WASHER,SPRING

SN: 63469-UP

4шт.

10

01010-51230

BOLT

SN: 63469-UP

4шт.

11

01602-21236

WASHER,SPRING

SN: 63469-UP

4шт.

12

01643-31232

WASHER

SN: 63469-UP

4шт.

13

103-54-34320

PLATE

SN: 63469-UP

1шт.

14

01010-51020

BOLT

SN: 63469-UP

4шт.

15

01643-31032

WASHER

SN: 63469-UP

4шт.

16

07288-01016

HOSE

SN: 63469-UP

1шт.

17

07288-01022

HOSE

SN: 63469-UP

1шт.

18

08034-00414

BAND

SN: 63469-UP

1шт.

19

07281-00197

CLAMP

SN: 63469-UP

4шт.

20

08036-03014

CLIP

SN: 63469-UP

3шт.

21

08036-02514

CLIP

SN: 63469-UP

1шт.

22

01010-51016

BOLT

SN: 63469-UP

4шт.

23

01602-21030

WASHER,SPRING

SN: 63469-UP

4шт.

24

07700-40240

VALVE

SN: 63469-UP

1шт.

25

124-04-21250

ELBOW

SN: 63469-UP

1шт.

26

07270-01235

TUBE

SN: 63469-UP

1шт.

27

07285-00150

CLIP

SN: 63469-UP

1шт.

Выбрано товаров: 28