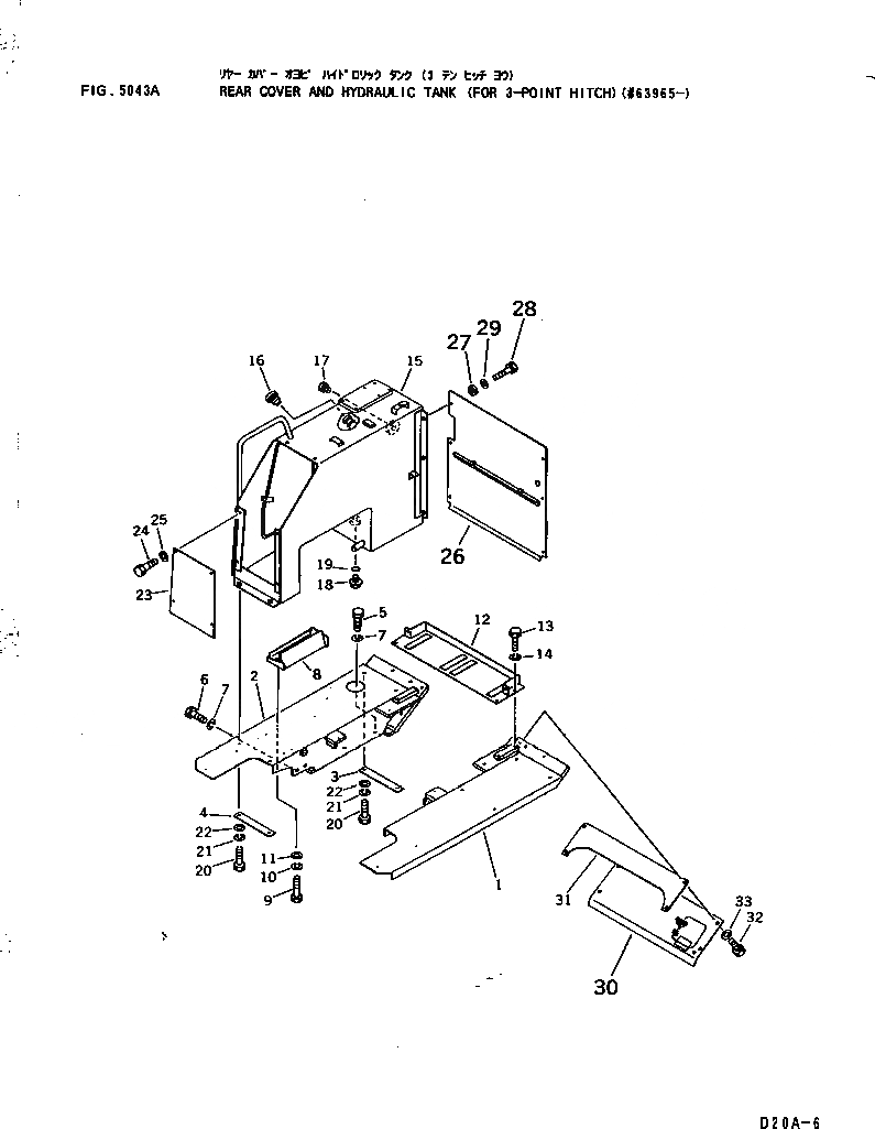
Запчасти Komatsu DNH020-6K-1T ЗАДН. КРЫШКА И ГИДР. БАК. (ДЛЯ -POINT СЦЕПКА)(№9-) ЧАСТИ КОРПУСА

Схема запчастей Komatsu DNH020-6K-1T - ЗАДН. КРЫШКА И ГИДР. БАК. (ДЛЯ -POINT СЦЕПКА)(№9-) ЧАСТИ КОРПУСА
FIT
1:1
100%

Артикул

Название

Примечание

Количество

1

103-54-34411

FENDER,L.H.

SN: 63920-UP

1шт.

2

103-54-34421

FENDER,R.H.

SN: 63920-UP

1шт.

3

103-54-34450

PLATE

SN: 63920-UP

1шт.

4

103-54-34460

PLATE

SN: 63920-UP

1шт.

5

01010-51435

BOLT

SN: 60001-UP

8шт.

6

01010-51440

BOLT

SN: 60001-UP

4шт.

7

01602-21442

WASHER,SPRING

SN: 60001-UP

12шт.

8

103-54-34440

BOX

SN: 60001-UP

1шт.

9

01010-50820

BOLT

SN: 60001-UP

3шт.

10

01602-20825

WASHER,SPRING

SN: 60001-UP

3шт.

11

01643-30823

WASHER

SN: 60001-UP

3шт.

12

103-54-34430

PLATE

SN: 60001-UP

1шт.

12

103-54-39510

PLATE,(FOR ADDITIONAL FUEL STRAINER)

SN: 60001-UP

1шт.

13

01010-51020

BOLT

SN: 60001-UP

4шт.

14

01602-21030

WASHER,SPRING

SN: 60001-UP

4шт.

15

103-54-34314

CASE

SN: 65861-UP

1шт.

15

103-54-34313

CASE

SN: 63920-65860

1шт.

15

103-54-39112

CASE,(FOR BACK-UP ALARM)

SN: 65861-UP

1шт.

15

103-54-39111

CASE,(FOR BACK-UP ALARM)

SN: 60001-65860

1шт.

15

01434-10830

BOLT, WING,INSPECTION COVER

SN: 60001-UP

1шт.

15

01580-10806

NUT,INSPECTION COVER

SN: 60001-UP

1шт.

15

01570-00808

NUT,INSPECTION COVER (WELDED)

SN: 60001-UP

1шт.

16

10E-03-11130

CAP

SN: 60001-UP

1шт.

17

20N-60-11141

GAUGE,OIL

SN: 60001-UP

1шт.

18

07044-12412

PLUG

SN: 60001-UP

1шт.

19

07002-02434

O-RING

SN: 60001-UP

1шт.

20

01010-51240

BOLT

SN: 63920-UP

4шт.

21

01602-21236

WASHER,SPRING

SN: 60001-UP

4шт.

22

01643-31232

WASHER

SN: 60001-UP

4шт.

23

103-54-34320

PLATE

SN: 60001-UP

1шт.

24

01010-51020

BOLT

SN: 60001-UP

4шт.

25

01643-31032

WASHER

SN: 60001-UP

4шт.

26

103-54-39413

COVER

SN: 65861-UP

1шт.

26

103-54-39412

COVER

SN: 60001-65860

1шт.

27

178-43-14320

SPACER

SN: 63920-UP

6шт.

28

01010-51445

BOLT

SN: 63920-UP

6шт.

29

01643-31445

WASHER

SN: 63920-UP

6шт.

30

103-54-34151

COVER

SN: 63920-UP

1шт.

31

103-54-34160

BRACKET

SN: 63920-UP

1шт.

32

01010-51435

BOLT

SN: 63920-UP

4шт.

33

01643-31445

WASHER

SN: 60001-UP

4шт.

Выбрано товаров: 41