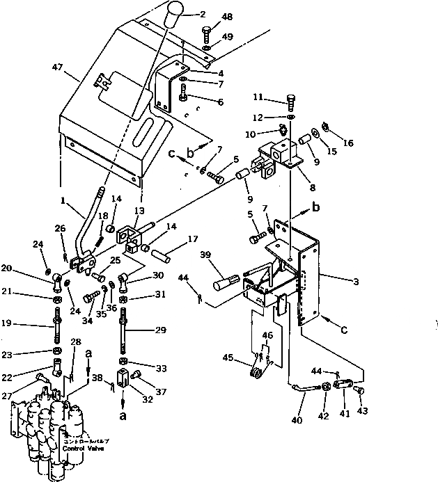
Запчасти Komatsu DNH020-6M-SC РЫЧАГ УПРАВЛЕНИЯ РАБОЧИМ ОБОРУДОВАНИЕМ (/) (ДЛЯ -POINT СЦЕПКА) УПРАВЛ-Е РАБОЧИМ ОБОРУДОВАНИЕМ

Схема запчастей Komatsu DNH020-6M-SC - РЫЧАГ УПРАВЛЕНИЯ РАБОЧИМ ОБОРУДОВАНИЕМ (/) (ДЛЯ -POINT СЦЕПКА) УПРАВЛ-Е РАБОЧИМ ОБОРУДОВАНИЕМ
FIT
1:1
100%

Артикул

Название

Примечание

Количество

1

103-43-36360

LEVER

SN: 60001-UP

1шт.

2

113-43-23420

KNOB

SN: 60001-UP

1шт.

3

103-43-36330

BRACKET

SN: 60001-UP

1шт.

4

103-43-36260

BRACKET

SN: 60001-UP

1шт.

5

01010-50820

BOLT

SN: 60001-UP

6шт.

6

01010-50816

BOLT

SN: 60001-UP

2шт.

7

01602-20825

WASHER,SPRING

SN: 60001-UP

8шт.

|$7

103-43-00110

BRACKET ASS'Y

SN: 60001-UP

1шт.

8

0

BRACKET

SN: 60001-UP

1шт.

9

203-43-31420

BUSHING

SN: 60001-UP

2шт.

10

07020-00675

FITTING,GREASE

SN: 60001-UP

1шт.

11

01010-50820

BOLT

SN: 60001-UP

2шт.

12

01602-20825

WASHER,SPRING

SN: 60001-UP

2шт.

|$13

103-43-00320

YOKE ASS'Y

SN: 60001-UP

1шт.

13

0

YOKE

SN: 60001-UP

1шт.

14

203-43-31420

BUSHING

SN: 60001-UP

2шт.

15

01641-21423

WASHER

SN: 60001-UP

1шт.

16

04064-01410

RING,SNAP

SN: 60001-UP

1шт.

17

103-43-36140

PIN

SN: 60001-UP

1шт.

18

04025-00324

PIN,SPRING

SN: 60001-UP

1шт.

19

04248-30810

ROD

SN: 60001-UP

1шт.

20

04250-80847

END

SN: 60001-UP

1шт.

21

01580-10806

NUT

SN: 60001-UP

1шт.

22

04250-90847

END,L.H. THREAD

SN: 60001-UP

1шт.

23

01508-40805

NUT,L.H. THREAD

SN: 60428-UP

1шт.

23

0

NUT,L.H. THREAD

SN: 60001-60427

1шт.

24

04254-00823

SPACER

SN: 60001-UP

2шт.

25

04205-10832

PIN

SN: 60001-UP

1шт.

26

04050-12015

PIN,COTTER

SN: 60001-UP

1шт.

27

04205-10825

PIN

SN: 60001-UP

1шт.

28

04050-12015

PIN,COTTER

SN: 60001-UP

1шт.

29

04248-30813

ROD

SN: 60001-UP

1шт.

30

04250-80847

END

SN: 60001-UP

1шт.

31

01580-10806

NUT

SN: 60001-UP

1шт.

32

1B0-43-16130

YOKE,L.H. THREAD

SN: 60001-UP

1шт.

33

01508-40805

NUT,L.H. THREAD

SN: 60428-UP

1шт.

33

0

NUT,L.H. THREAD

SN: 60001-60427

1шт.

34

01010-50830

BOLT

SN: 60001-UP

1шт.

35

01602-20825

WASHER,SPRING

SN: 60001-UP

1шт.

36

01641-20812

WASHER

SN: 60001-UP

1шт.

37

04205-10622

PIN

SN: 60001-UP

1шт.

38

04050-11612

PIN,COTTER

SN: 60001-UP

1шт.

39

09305-00800

KNOB

SN: 60001-UP

1шт.

40

103-43-36230

ROD

SN: 60001-UP

1шт.

41

04211-20634

YOKE

SN: 60001-UP

1шт.

42

01580-10605

NUT

SN: 60001-UP

1шт.

43

04205-10618

PIN

SN: 60001-UP

1шт.

44

04050-11612

PIN,COTTER

SN: 60001-UP

2шт.

45

09463-00006

SPRING

SN: 60001-UP

1шт.

46

04050-11612

PIN,COTTER

SN: 60001-UP

2шт.

47

103-43-36210

COVER

SN: 60001-UP

1шт.

48

01010-51020

BOLT

SN: 60001-UP

2шт.

49

01643-31032

WASHER

SN: 60001-UP

2шт.

Выбрано товаров: 53