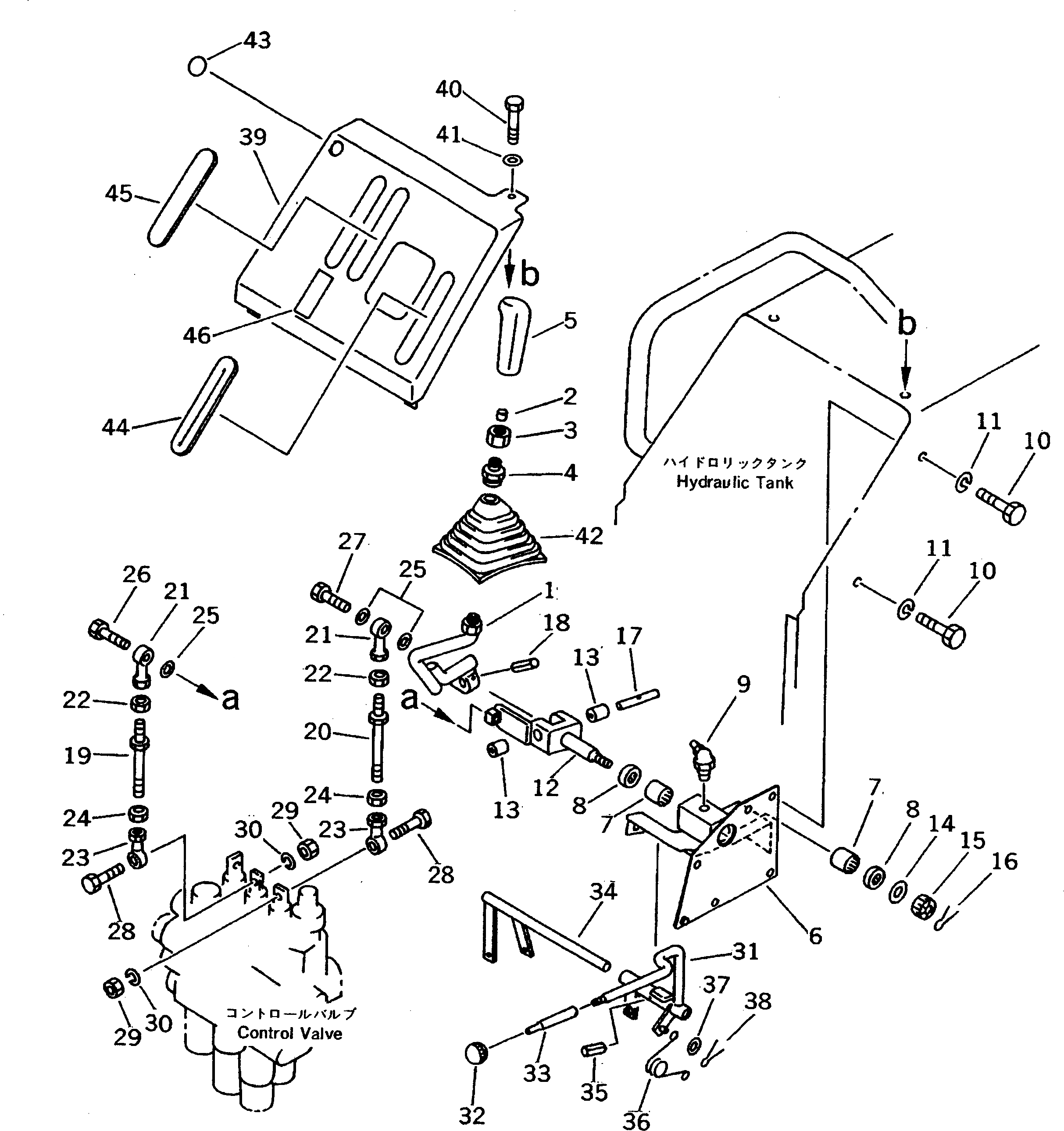
Запчасти Komatsu DRT031-2H РЫЧАГ УПРАВЛЕНИЯ РАБОЧИМ ОБОРУДОВАНИЕМ (/) (ДЛЯ -POINT СЦЕПКА ИЛИ РЫХЛИТЕЛЬ) КАБИНА ОПЕРАТОРА И СИСТЕМА УПРАВЛЕНИЯ

Схема запчастей Komatsu DRT031-2H - РЫЧАГ УПРАВЛЕНИЯ РАБОЧИМ ОБОРУДОВАНИЕМ (/) (ДЛЯ -POINT СЦЕПКА ИЛИ РЫХЛИТЕЛЬ) КАБИНА ОПЕРАТОРА И СИСТЕМА УПРАВЛЕНИЯ
FIT
1:1
100%

Артикул

Название

Примечание

Количество

1

114-43-48321

LEVER

SN: 41001-UP

1шт.

2

114-43-48340

SLEEVE

SN: 41001-UP

1шт.

3

201-62-25190

NUT

SN: 41001-UP

1шт.

4

114-43-48330

NIPPLE

SN: 41001-UP

1шт.

5

14X-43-14170

KNOB

SN: 41055-UP

1шт.

5

0

KNOB

SN: 41001-41054

1шт.

6

114-43-48370

BRACKET

SN: 41001-UP

1шт.

7

702-16-11490

BEARING,NEEDLE

SN: 41001-UP

2шт.

8

702-16-11510

SEAL,BEARING

SN: 41001-UP

2шт.

9

07020-00900

FITTING,GREASE

SN: 41001-UP

1шт.

10

01010-80816

BOLT

SN: 41001-UP

4шт.

11

01602-20825

WASHER,SPRING

SN: 41001-UP

4шт.

|$13

113-43-00751

YOKE ASS'Y

SN: 41052-UP

1шт.

|$14

0

YOKE ASS'Y

SN: 41001-41051

1шт.

12

0

YOKE

SN: 41052-UP

1шт.

12

0

YOKE

SN: 41001-41051

1шт.

13

09350-01415

BUSHING

SN: 41001-UP

2шт.

14

113-43-23230

WASHER

SN: 41001-UP

1шт.

15

01590-10809

NUT

SN: 41001-UP

1шт.

16

04050-12015

PIN,COTTER

SN: 41001-UP

1шт.

17

113-43-23410

PIN

SN: 41001-UP

1шт.

18

04025-00324

PIN,SPRING

SN: 41001-UP

1шт.

19

04248-30812

ROD

SN: 41001-UP

1шт.

20

04248-30813

ROD

SN: 41001-UP

1шт.

21

113-43-23270

END,ROD

SN: 41001-UP

2шт.

22

01580-10806

NUT

SN: 41001-UP

2шт.

23

113-43-23280

END,ROD, L.H. THREAD

SN: 41001-UP

2шт.

24

01508-40805

NUT,L.H. THREAD

SN: 41001-UP

2шт.

25

04254-00823

SPACER

SN: 41001-UP

3шт.

26

01010-80825

BOLT

SN: 41001-UP

1шт.

27

01010-80830

BOLT

SN: 41001-UP

1шт.

28

01010-80830

BOLT

SN: 41001-UP

2шт.

29

01580-10806

NUT

SN: 41001-UP

2шт.

30

01602-20825

WASHER,SPRING

SN: 41001-UP

2шт.

31

114-43-45472

LEVER

SN: 41249-UP

1шт.

31

114-43-45471

LEVER

SN: 41184-41248

1шт.

31

114-43-45470

LEVER

SN: 41001-41183

1шт.

32

09304-10835

KNOB

SN: 41001-UP

1шт.

33

114-43-45460

ROD

SN: 41001-UP

1шт.

34

113-43-45482

PIN

SN: 41249-UP

1шт.

34

113-43-45481

PIN

SN: 41001-41248

1шт.

35

104-43-45260

PIN

SN: 41249-UP

1шт.

35

04025-00316

PIN,SPRING

SN: 41001-41248

1шт.

36

09463-00006

SPRING

SN: 41001-UP

1шт.

37

01641-20608

WASHER

SN: 41001-UP

2шт.

38

04050-11610

PIN,COTTER

SN: 41001-UP

2шт.

39

114-43-45510

COVER

SN: 41001-UP

1шт.

40

01252-30825

BOLT

SN: 41001-UP

2шт.

41

01643-30823

WASHER

SN: 41001-UP

2шт.

42

20T-43-71160

BOOT

SN: 41001-UP

1шт.

43

114-54-43260

PLUG

SN: 41001-UP

1шт.

44

114-43-48381

GROMMET

SN: 41001-UP

2шт.

45

114-43-45520

GROMMET

SN: 41001-UP

1шт.

46

113-78-31160

PLATE, OPERATING,RIPPER

SN: 41001-UP

1шт.

46

09675-00001

PLATE, OPERATING,3-POINT HITCH

SN: 41001-UP

1шт.

Выбрано товаров: 55