Запчасти Komatsu L600D Super ЦИЛИНДР КОВША ЦИЛИНДР КОВША

Схема запчастей Komatsu L600D Super - ЦИЛИНДР КОВША ЦИЛИНДР КОВША
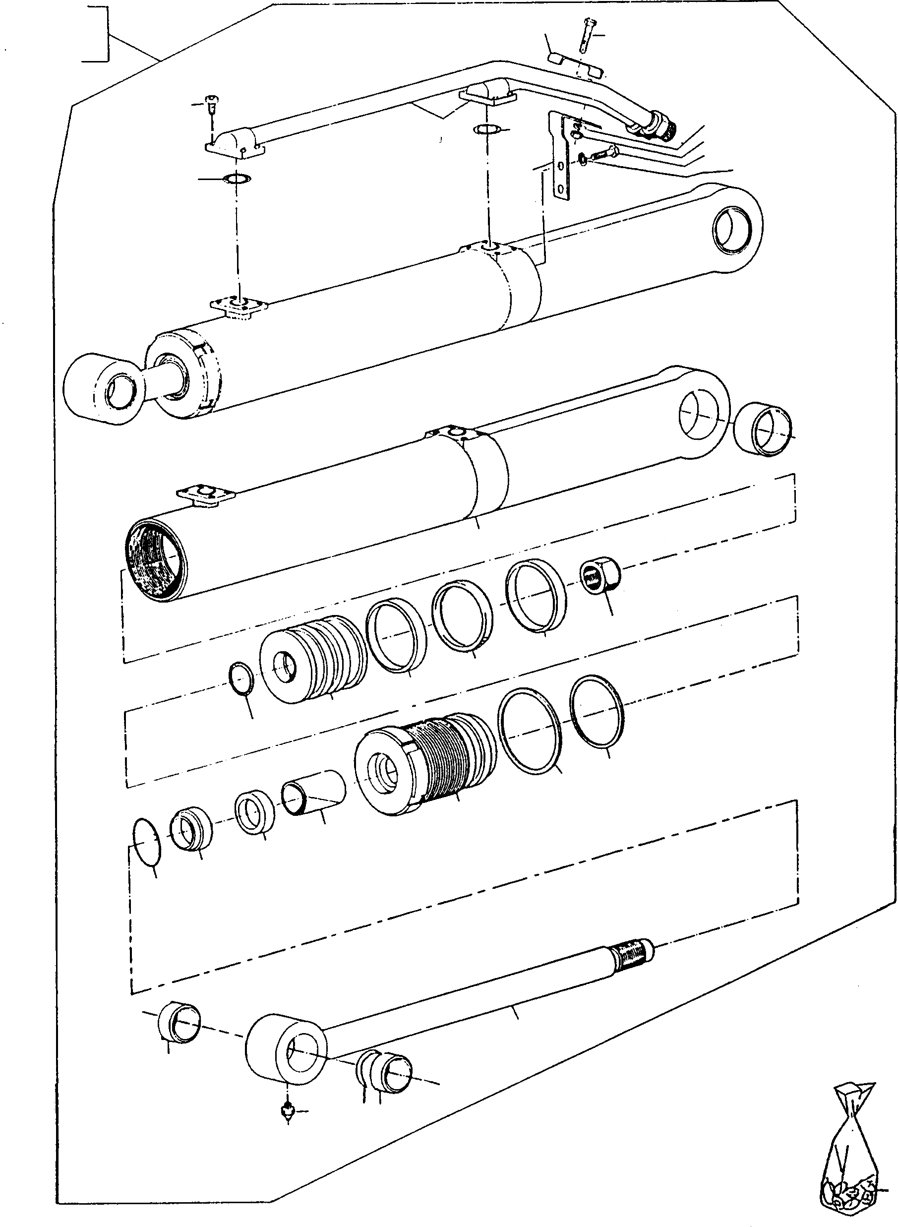
1
28
20
23
21
2
7A
22
26
24
27
25
26
29
24
16
3
15
13
14
13
6
12
11
10
5
9
8
7
4
17
18
17
19
30
FIT
1:1
100%

Артикул

Название

Примечание

Количество

1

4021103M91

BUCKET CYLINDER

EnglischBem: RIGHT

1шт.

2

4021104M91

BUCKET CYLINDER

EnglischBem: LEFT

1шт.

3

4911707M1

BARREL

DeutschDesc: ZYLINDERROHR

1шт.

4

4911708M1

CYLINDER ROD

DeutschDesc: KOLBENSTANGE

1шт.

5

4911713M1

GUIDE BUSH

DeutschDesc: FUEHRUNGSBUCHSE

1шт.

6

4911710M1

PISTON

DeutschDesc: KOLBEN

1шт.

7

4911711M1

STRIPPER

DeutschDesc: ABSTREIFER

1шт.

7A

4914818M1

SNAP RING

DeutschDesc: SPRENGRING

1шт.

8

4911712M1

GASKET

DeutschDesc: DICHTUNG

1шт.

9

4911709M1

BUSHING

DeutschDesc: BUCHSE

1шт.

10

4911347M1

BACK-UP RING

DeutschDesc: STUETZRING

1шт.

11

4911349M1

O-RING

DeutschDesc: O-RING

1шт.

12

4911714M1

O-RING

DeutschDesc: O-RING

1шт.

13

4911715M1

BAND

DeutschDesc: BAND

2шт.

14

4911716M1

GASKET

DeutschDesc: DICHTUNG

1шт.

15

4911717M1

NUT

DeutschDesc: MUTTER

1шт.

16

4911718M1

BUSHING

DeutschDesc: BUCHSE

1шт.

17

4911719M1

BUSHING

DeutschDesc: BUCHSE

2шт.

18

4911720M1

RING

DeutschDesc: RING

1шт.

19

4911721M1

LUBRICATION NIPPLE

DeutschDesc: SCHMIERNIPPEL

1шт.

20

4911722M91

PIPE

EnglischBem: RIGHT

1шт.

21

4911723M91

PIPE

EnglischBem: LEFT

1шт.

22

4911724M1

SCREW

DeutschDesc: SCHRAUBE

8шт.

23

4911725M1

SCREW

DeutschDesc: SCHRAUBE

1шт.

24

4911332M1

O-RING

DeutschDesc: O-RING

2шт.

25

4911726M1

SCREW

DeutschDesc: SCHRAUBE

2шт.

26

4911585M1

SPRING WASHER

DeutschDesc: FEDERRING

11шт.

27

4911727M1

NUT

DeutschDesc: MUTTER

1шт.

28

4500747M1

BRACKET

DeutschDesc: HALTER

1шт.

29

4500746M1

BRACKET

DeutschDesc: HALTER

1шт.

30

4911728M91

GASKET KIT

DeutschDesc: DICHTUNGSSATZ

1шт.

Выбрано товаров: 31