Запчасти Komatsu L700D Turbo РУЛЕВ. УПРАВЛЕНИЕ, ТРУБЫS СИСТЕМАУПРАВЛЕНИЯ ПОВОРОТОМ, ПЕРЕДНИЙ МОСТ, ТОРМОЗ. СИСТЕМА

Схема запчастей Komatsu L700D Turbo - РУЛЕВ. УПРАВЛЕНИЕ, ТРУБЫS СИСТЕМАУПРАВЛЕНИЯ ПОВОРОТОМ, ПЕРЕДНИЙ МОСТ, ТОРМОЗ. СИСТЕМА
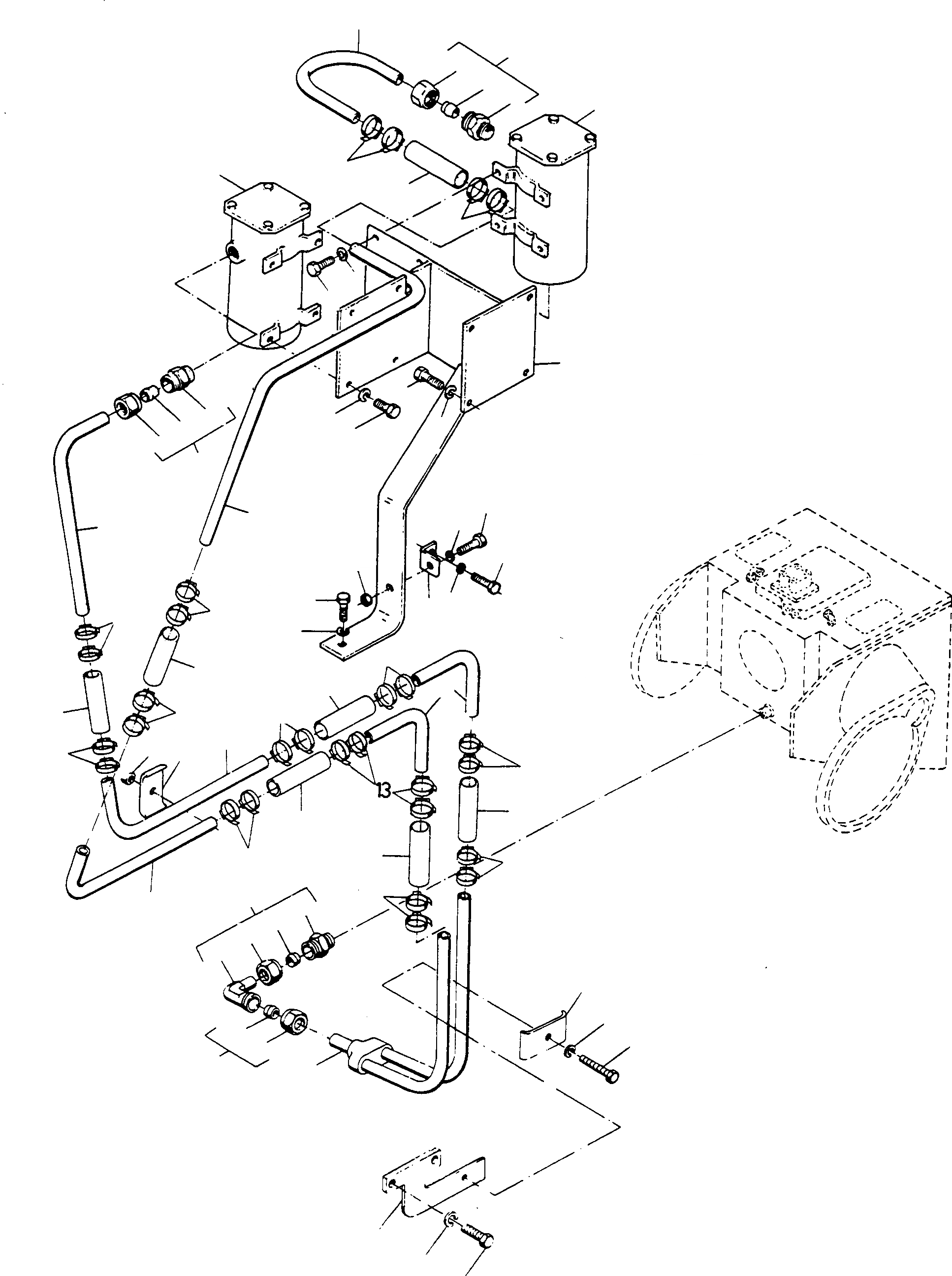
11
32
7
10
13
9
8
29
4
13
4
12
13
6
5
1
2
10
6
3
9
5
8
7
33
14
34
15
35
2
34
13
31
13
3
13
12
12
17
13
12
16
30
27
13
13
12
12
12
13
13
13
19
16
21
22
23
20
27
22
28
23
19
18
24
26
25
FIT
1:1
100%

Артикул

Название

Примечание

Количество

1

2972468M91

BRACKET

DeutschDesc: HALTER

1шт.

2

339139X1

SCREW

DeutschDesc: SCHRAUBE

5шт.

3

2994718M1

SPRING WASHER

DeutschDesc: FEDERRING

5шт.

4

4021331M91

FILTER

EnglischBem: REPAIRS AND REPLACES 3086 292 M91

2шт.

|$36

FILTER

DeutschDesc: FILTER

-3шт.

5

339401X1

SCREW

DeutschDesc: SCHRAUBE

8шт.

6

2993793X1

SPRING WASHER

DeutschDesc: FEDERRING

8шт.

7

3002303X91

UNION

DeutschDesc: VERSCHRAUBUNG

2шт.

8

NOT USED

DeutschDesc: NICHT VERWENDET

-1шт.

9

3004128X1

OLIVE

DeutschDesc: SCHNEIDRING

2шт.

10

3004123X1

BOXNUT

DeutschDesc: UEBERWURFMUTTER

2шт.

11

2972476M1

MANIFOLD

DeutschDesc: KRUEMMER

1шт.

12

2944730M2

HOSE

EnglischBem: GOODS SOLD BY METER 2999 605 M1 100 MM

7шт.

13

1444840X1

CLIP

DeutschDesc: SCHELLE

28шт.

14

2972475M1

INTAKE

DeutschDesc: EINLASSLEITUNG

1шт.

15

2972474M1

INTAKE

DeutschDesc: EINLASSLEITUNG

1шт.

16

2972467M1

INTAKE

DeutschDesc: EINLASSLEITUNG

2шт.

17

2963516M1

MANIFOLD

DeutschDesc: KRUEMMER

2шт.

18

2972460M91

PIPE

DeutschDesc: ROHRLEITUNG

1шт.

19

3004092X91

UNION

DeutschDesc: VERSCHRAUBUNG

1шт.

20

NOT USED

DeutschDesc: NICHT VERWENDET

-1шт.

21

NOT USED

DeutschDesc: NICHT VERWENDET

-1шт.

22

3004128X1

OLIVE

DeutschDesc: SCHNEIDRING

2шт.

23

3004123X1

BOXNUT

DeutschDesc: UEBERWURFMUTTER

2шт.

24

2972464M1

BRACKET

DeutschDesc: HALTER

1шт.

25

391419X1

SCREW

DeutschDesc: SCHRAUBE

2шт.

26

2994704M1

SPRING WASHER

DeutschDesc: FEDERRING

2шт.

27

2896869M1

CLIP

DeutschDesc: SCHELLE

2шт.

28

1444054X1

SCREW

DeutschDesc: SCHRAUBE

1шт.

29

2993793X1

SPRING WASHER

DeutschDesc: FEDERRING

1шт.

30

339402X1

NUT

DeutschDesc: MUTTER

1шт.

31

2972473M1

ANGLE

DeutschDesc: WINKEL

1шт.

32

1443664X1

SCREW

DeutschDesc: SCHRAUBE

1шт.

33

339401X1

SCREW

DeutschDesc: SCHRAUBE

1шт.

34

2993793X1

SPRING WASHER

DeutschDesc: FEDERRING

2шт.

35

339402X1

NUT

DeutschDesc: MUTTER

1шт.

Выбрано товаров: 0