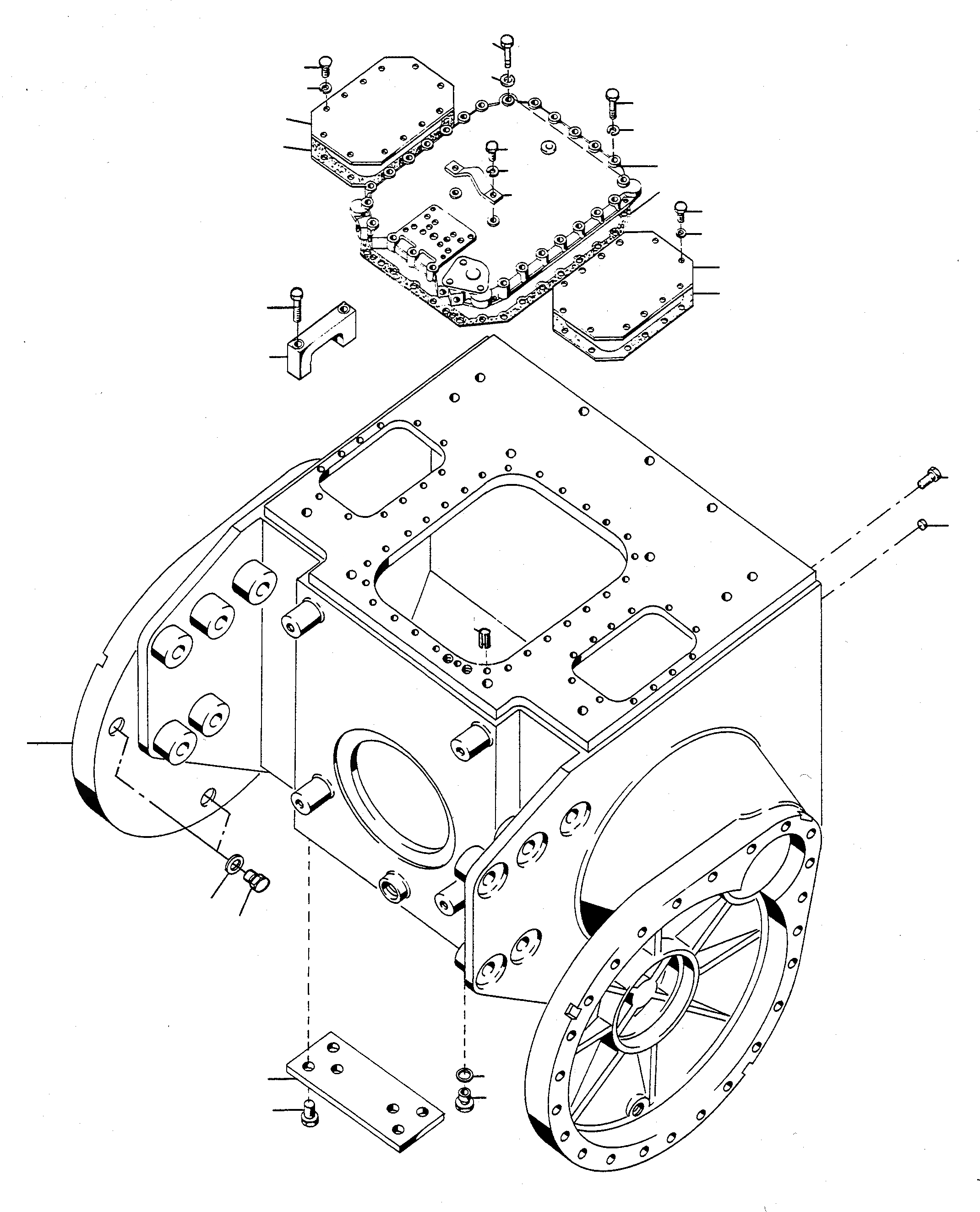
Запчасти Komatsu L700D Turbo КОНЕЧНАЯ ПЕРЕДАЧА ТРАНСМИССИЯ И ЗАДН. МОСТ

Схема запчастей Komatsu L700D Turbo - КОНЕЧНАЯ ПЕРЕДАЧА ТРАНСМИССИЯ И ЗАДН. МОСТ
18
19
16
17
4
14
18
19
15
20
5A
6
10
13
14
11
12
18
19
16
17
8
7
9
6
2
5
3
1
FIT
1:1
100%

Артикул

Название

Примечание

Количество

1

3092936M91

STEERING CASE

DeutschDesc: LENKGEHAEUSE

1шт.

2

2901082M1

PLATE

DeutschDesc: PLATTE

1шт.

3

3004036X1

SCREW

DeutschDesc: SCHRAUBE

6шт.

4

1444888X1

SCREW

DeutschDesc: SCHRAUBE

2шт.

5

1443744X1

PLUG

DeutschDesc: VERSCHLUSSSTOPFEN

1шт.

5A

2881785M1

PLUG

DeutschDesc: VERSCHLUSSSTOPFEN

4шт.

6

391265X1

SEAL

DeutschDesc: DICHTRING

5шт.

7

2901023M1

STIRRUP

DeutschDesc: BUEGEL

2шт.

8

1444038X1

SCREW

DeutschDesc: SCHRAUBE

4шт.

9

3008634X1

PLUG

DeutschDesc: VERSCHLUSSSTOPFEN

26шт.

10

1442638X1

COVER

DeutschDesc: DECKEL

2шт.

11

2974077M1

COVER

DeutschDesc: DECKEL

1шт.

12

2901024M1

GASKET

DeutschDesc: DICHTUNG

1шт.

13

1444073X1

SCREW

DeutschDesc: SCHRAUBE

26шт.

14

2994718M1

SPRING WASHER

DeutschDesc: FEDERRING

26шт.

15

2901083M1

STIRRUP

DeutschDesc: BUEGEL

1шт.

16

2901018M1

COVER

DeutschDesc: DECKEL

2шт.

17

2901019M1

GASKET

DeutschDesc: DICHTUNG

2шт.

18

339139X1

SCREW

DeutschDesc: SCHRAUBE

26шт.

19

2994718M1

SPRING WASHER

DeutschDesc: FEDERRING

26шт.

20

2999762M1

PEG

DeutschDesc: STIFT

4шт.

Выбрано товаров: 0