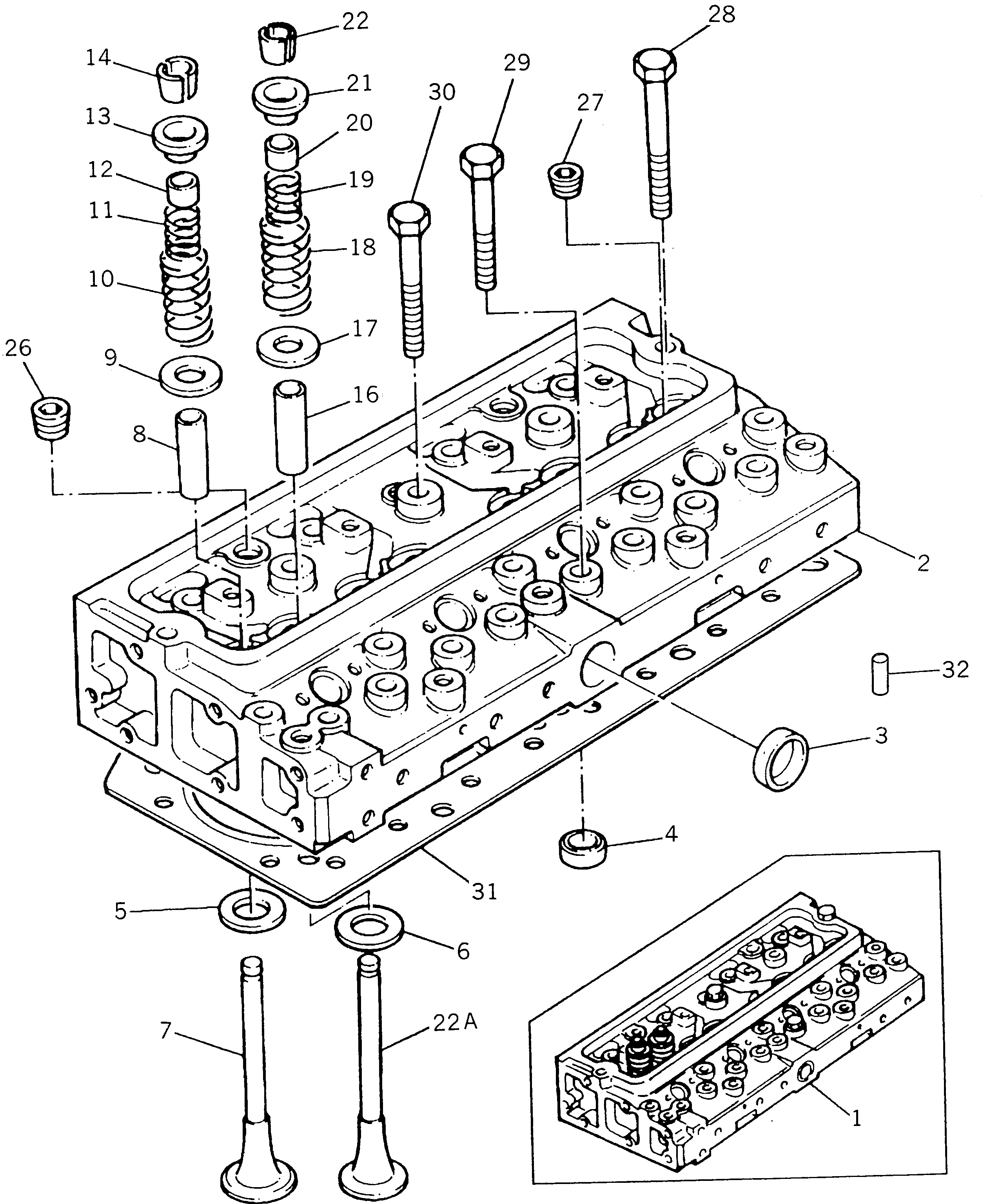
Запчасти Komatsu 1004-4TLR ГОЛОВКА ЦИЛИНДРОВ ГОЛОВКА ЦИЛИНДРОВ

Схема запчастей Komatsu 1004-4TLR - ГОЛОВКА ЦИЛИНДРОВ ГОЛОВКА ЦИЛИНДРОВ
FIT
1:1
100%

Артикул

Название

Примечание

Количество

1

PKZZ80199

CYLINDER HEAD ASS'Y

SN: ..-UP

1шт.

|1

PKZZ80194

CYLINDER HEAD ASS'Y

SN: ..-UP

1шт.

|1

PKZZ80170

CYLINDER HEAD ASS'Y

SN: .-..

1шт.

|1

PKZZ80084

CYLINDER HEAD ASS'Y

SN: U604351W-.

1шт.

2

PKZZ80169

HEAD,CYLINDER

SN: .-UP

1шт.

|2

0

HEAD,CYLINDER

SN: U604351W-.

1шт.

3

PK0650710

PLUG

SN: U604351W-UP

1шт.

4

PK32417121

PLUG

SN: U604351W-UP

4шт.

5

PK3324E002

INSERT

SN: .-UP

4шт.

6

PK3314A121

INSERT

SN: .-UP

4шт.

7

PK3142L072

VALVE,INLET

SN: .-UP

4шт.

|7

PK3142L051

VALVE,INLET

SN: U604351W-.

4шт.

8

PK3343F031

GUIDE

SN: .-UP

4шт.

|8

PK3343F002

GUIDE

SN: U604351W-.

4шт.

9

PK33415118

WASHER

SN: U604351W-UP

4шт.

10

PK31745122

SPRING

SN: U604351W-UP

4шт.

11

PK31744133

SPRING

SN: U604351W-UP

4шт.

12

PK33817117

SEAL (KIT)

SN: U604351W-UP

4шт.

13

PK33424107

CAP

SN: U604351W-UP

4шт.

14

PK33173108

COTTER

SN: U604351W-UP

8шт.

16

PK3343J002

GUIDE

SN: U604351W-UP

4шт.

17

PK33415118

WASHER

SN: U604351W-UP

4шт.

18

PK31745122

SPRING

SN: U604351W-UP

4шт.

19

PK31744133

SPRING

SN: U604351W-UP

4шт.

20

PK33817117

SEAL (KIT)

SN: U604351W-UP

4шт.

21

PK33424107

CAP

SN: U604351W-UP

4шт.

22

PK33173108

COTTER

SN: U604351W-UP

8шт.

22A

PK3142A051

VALVE,EXHAUST

SN: U604351W-UP

4шт.

26

PK2431154

PLUG

SN: U604351W-UP

2шт.

27

PK2431A054

PLUG

SN: U604351W-UP

4шт.

28

PK32166222

SCREW

SN: U604351W-UP

2шт.

29

PK32166219

SCREW

SN: U604351W-UP

8шт.

30

PK32166221

SCREW

SN: U604351W-UP

12шт.

31

PK3681E025

GASKET

SN: .-UP

1шт.

|31

PK3681E017

GASKET (KIT)

SN: U604351W-.

1шт.

32

PK2116081

DOWEL,DOWEL

SN: .-UP

2шт.

Выбрано товаров: 36