Запчасти Komatsu 1006-6TLR ГОЛОВКА ЦИЛИНДРОВ (/)(№U87W-U9W) ГОЛОВКА ЦИЛИНДРОВ

Схема запчастей Komatsu 1006-6TLR - ГОЛОВКА ЦИЛИНДРОВ (/)(№U87W-U9W) ГОЛОВКА ЦИЛИНДРОВ
FIT
1:1
100%

Артикул

Название

Примечание

Количество

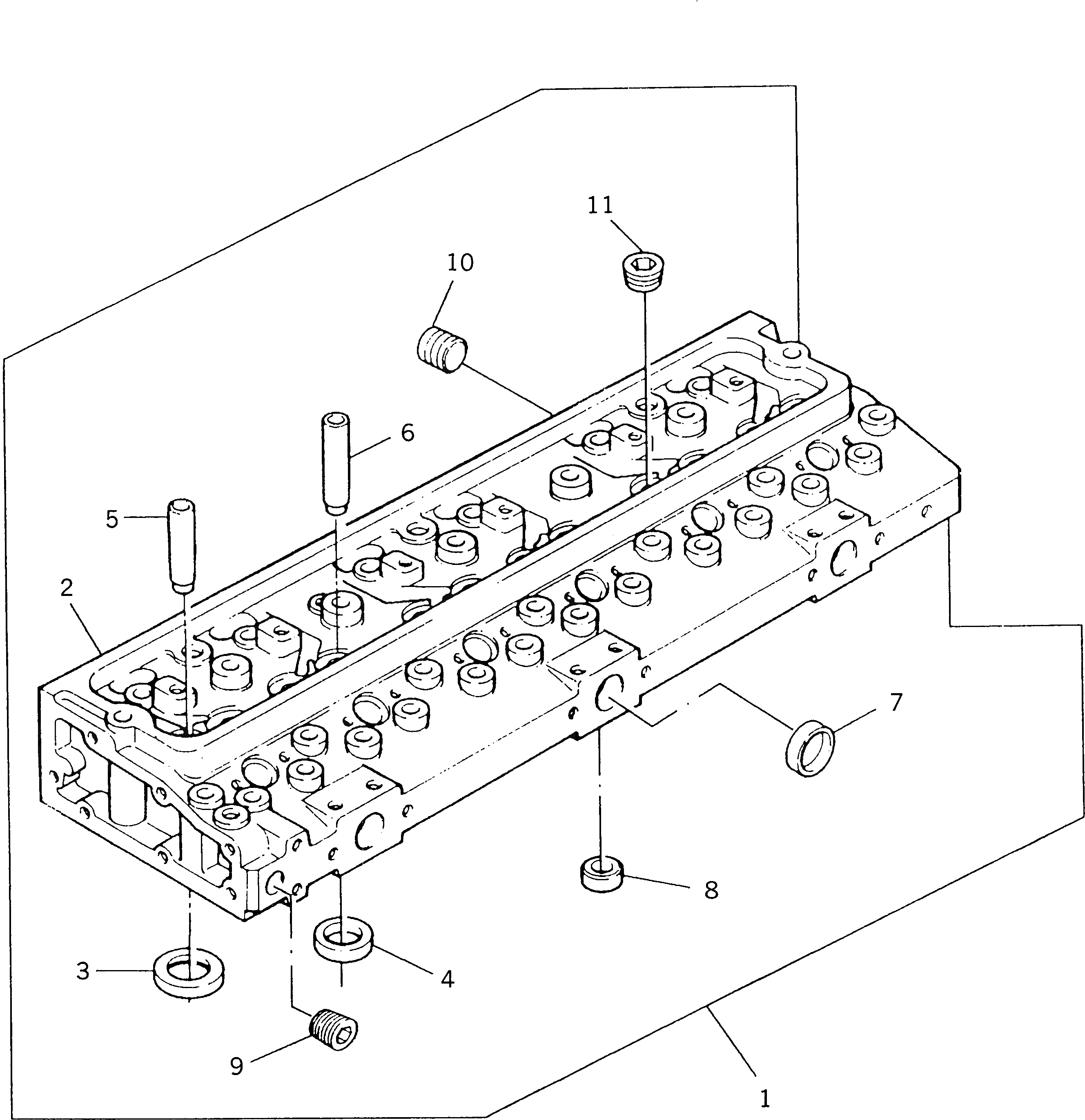
1

PKZZ80182

CYLINDER HEAD ASS'Y

SN: U545837W-U546029W

1шт.

|1

PKZZ80112

CYLINDER HEAD ASS'Y

SN: U545837W-U546029W

1шт.

2

0

HEAD

SN: U545837W-U546029W

1шт.

3

0

INSERT

SN: U545837W-U546029W

6шт.

4

0

INSERT

SN: U545837W-U546029W

6шт.

5

PK3343F031

GUIDE

SN: U545837W-U546029W

6шт.

|5

PK3343F002

GUIDE

SN: U545837W-U546029W

6шт.

6

PK3343J002

GUIDE

SN: U545837W-U546029W

6шт.

7

PK0650710

PLUG

SN: U545837W-U546029W

3шт.

8

PK32417156

PLUG

SN: U545837W-U546029W

6шт.

9

PK2431154

PLUG

SN: U545837W-U546029W

1шт.

10

PK2487A510

PLUG

SN: U545837W-U546029W

1шт.

11

PK2431A054

PLUG

SN: U545837W-U546029W

6шт.

Выбрано товаров: 13