Запчасти Komatsu 2D68E-N3CB-MX МАСЛЯНЫЙ ПОДДОН И ВСАСЫВАЮЩИЙ ПАТРУБОК ДВИГАТЕЛЬ

Схема запчастей Komatsu 2D68E-N3CB-MX - МАСЛЯНЫЙ ПОДДОН И ВСАСЫВАЮЩИЙ ПАТРУБОК ДВИГАТЕЛЬ
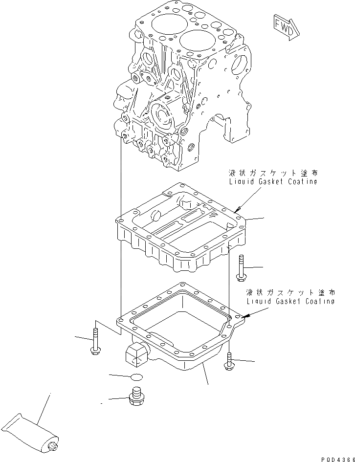
1
2
3
4
5
6
6
7
FIT
1:1
100%

Артикул

Название

Примечание

Количество

1

457-599

SPACER

SN: N00101-UP

1шт.

|2

453-479

OIL PAN ASS'Y

SN: N00101-UP

1шт.

2

PAN,OIL

SN: N00101-UP

1шт.

3

450-760

PLUG,DRAIN

SN: N00101-UP

1шт.

4

455-203

SEAL (KIT)

SN: N00101-UP

1шт.

5

456-747

BOLT

SN: N00101-UP

3шт.

6

456-760

BOLT

SN: N00101-UP

16шт.

7

455-518

LIQUID GASKET

SN: N00101-UP

-2шт.

Выбрано товаров: 8