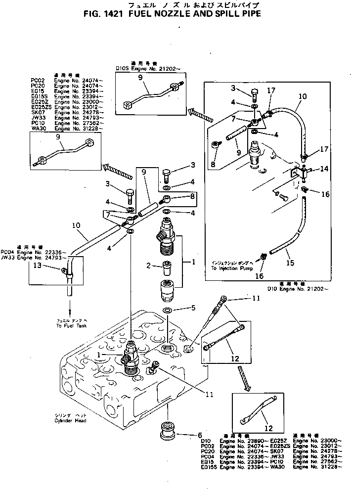
Запчасти Komatsu 2D94-2D ТОПЛИВН. ФОРСУНКА И СЛИВНАЯ ТРУБКА ТОПЛИВН. СИСТЕМА

Схема запчастей Komatsu 2D94-2D - ТОПЛИВН. ФОРСУНКА И СЛИВНАЯ ТРУБКА ТОПЛИВН. СИСТЕМА
FIT
1:1
100%

Артикул

Название

Примечание

Количество

|$0

6142-12-3100

NOZZLE HOLDER ASS'Y

SN: 20003-UP

2шт.

1

6142-12-3110

HOLDER

SN: 20003-UP

1шт.

2

6142-12-3130

NOZZLE

SN: 20003-UP

1шт.

3

6110-13-3150

BOLT,JOINT

SN: 20003-UP

1шт.

4

07005-00812

GASKET (K1)

SN: 20003-UP

4шт.

5

6142-11-7810

GASKET (K1)

SN: 20003-UP

2шт.

5

0

GASKET (K1)

SN: (20003-.)

2шт.

6

6142-12-2130

INSERT

SN: 23394-UP

2шт.

6

6142-12-2110

INSERT

SN: 20003-23393

2шт.

7

6110-13-3270

JOINT

SN: 20003-23393

1шт.

8

6110-13-2280

JOINT

SN: 20003-23393

1шт.

9

6142-72-5520

PIPE,SPILL

SN: 23394-UP

1шт.

9

6142-71-5330

HOSE,SPILL

SN: 20003-23393

1шт.

10

6140-71-5370

HOSE,OVERFLOW

SN: .-UP

1шт.

10

0

HOSE,OVERFLOW

SN: 20003-.

1шт.

11

600-815-1350

PLUG,GLOW

SN: 20003-UP

2шт.

12

6144-81-4211

LEAD

SN: 23394-UP

1шт.

12

6142-81-5211

WIRE

SN: 20003-23393

1шт.

Выбрано товаров: 18