Запчасти Komatsu 2D94-2E ВОДЯНАЯ ПОМПА И ВЕНТИЛЯТОР ОХЛАЖДЕНИЯ ОХЛАЖД-Е И ЭЛЕКТРИКАS

Схема запчастей Komatsu 2D94-2E - ВОДЯНАЯ ПОМПА И ВЕНТИЛЯТОР ОХЛАЖДЕНИЯ ОХЛАЖД-Е И ЭЛЕКТРИКАS
FIT
1:1
100%

Артикул

Название

Примечание

Количество

|$0

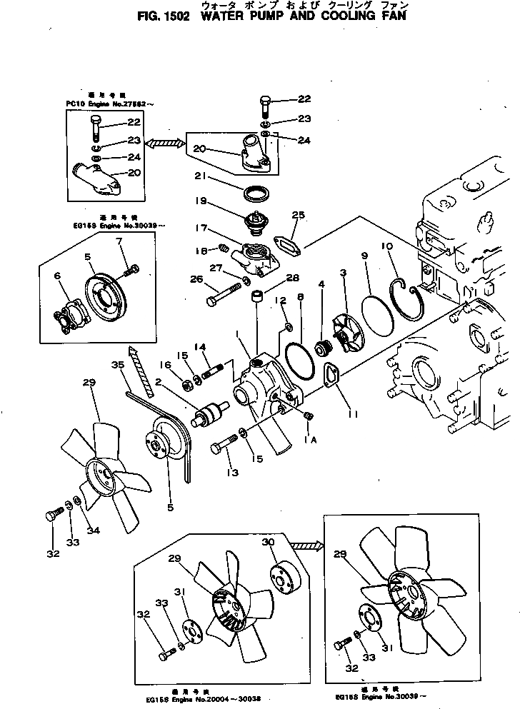
6142-62-1600

WATER PUMP ASS'Y

SN: 20000-20000

1шт.

|$1

6144-61-1401

WATER PUMP ASS'Y

SN: 30039-UP

1шт.

|$2

6142-62-1500

WATER PUMP ASS'Y

SN: 20004-30038

1шт.

1

6144-61-1110

BODY

SN: 20004-UP

1шт.

1A

07043-00312

PLUG

SN: 20004-UP

1шт.

2

6130-62-1310

SHAFT

SN: 20004-UP

1шт.

3

6130-62-1330

IMPELLER

SN: 20004-UP

1шт.

4

6130-61-1521

SEAL, WATER (K2)

SN: 20004-UP

1шт.

|$8

6144-61-3100

FAN PULLEY ASS'Y

SN: 30039-UP

1шт.

5

6142-62-3260

PULLEY,FAN

SN: 20000-20000

1шт.

5

0

PULLEY,FAN

SN: 30039-UP

1шт.

5

6142-62-3250

PULLEY,FAN

SN: 20004-30038

1шт.

6

6144-61-3120

BOSS

SN: 30039-UP

1шт.

7

01010-30620

BOLT

SN: 30039-UP

4шт.

8

6140-61-1160

O-RING (K2)

SN: 20004-UP

1шт.

9

6130-62-1150

COVER

SN: 20004-UP

1шт.

10

6140-61-1170

RING,SNAP

SN: 20004-UP

1шт.

11

6140-61-1810

GASKET (K2)

SN: 20004-UP

1шт.

12

6140-61-1820

GASKET (K2)

SN: 20004-UP

2шт.

13

01010-30850

BOLT

SN: 20004-UP

3шт.

14

01124-30860

STUD,(SEE FIG.1201,1201A)

SN: 20004-UP

1шт.

15

01602-00825

WASHER,SPRING

SN: 20004-UP

4шт.

16

01580-00806

NUT

SN: 20004-UP

1шт.

17

6144-11-6411

HOUSING,THERMOSTAT

SN: 20374-UP

1шт.

17

0

HOUSING,THERMOSTAT

SN: 20004-20373

1шт.

18

07043-00312

PLUG

SN: 20004-UP

1шт.

19

600-421-6120

THERMOSTAT

SN: .-UP

1шт.

19

0

THERMOSTAT

SN: 20004-.

1шт.

20

6141-11-6420

SOCKET

SN: 20004-UP

1шт.

21

6140-11-6331

GASKET (K1)

SN: 20004-UP

1шт.

22

01010-30835

BOLT

SN: 20004-UP

2шт.

23

01602-00825

WASHER,SPRING

SN: 20004-UP

2шт.

24

01641-20812

WASHER

SN: 20004-UP

2шт.

25

6140-11-6430

GASKET (K1)

SN: 20004-UP

1шт.

26

01010-30890

BOLT

SN: 20004-UP

2шт.

27

01602-00825

WASHER,SPRING

SN: 20004-UP

2шт.

28

6140-11-6442

GASKET (K1)

SN: 20004-UP

1шт.

29

600-613-0301

FAN,COOLING

SN: 20000-20000

1шт.

29

600-613-0300

FAN,COOLING

SN: 20000-20000

1шт.

29

600-623-0390

FAN,COOLING

SN: 30039-UP

1шт.

29

600-615-0310

FAN,COOLING

SN: 20004-30038

1шт.

30

6142-65-3310

SPACER

SN: 20004-30038

1шт.

31

6141-61-3250

PLATE

SN: 30039-UP

1шт.

31

6140-65-3410

PLATE

SN: 20004-30038

1шт.

32

01010-50820

BOLT

SN: 20000-20000

4шт.

32

01010-50620

BOLT

SN: 20000-20000

4шт.

32

01010-50840

BOLT

SN: 30039-UP

4шт.

32

01010-50650

BOLT

SN: 20004-30038

4шт.

33

01602-00825

WASHER,SPRING

SN: 30039-UP

4шт.

33

01602-00619

WASHER,SPRING

SN: 20004-30038

4шт.

34

01641-20812

WASHER

SN: 20000-20000

4шт.

34

01641-20608

WASHER

SN: 20000-20000

4шт.

35

6142-82-2630

V-BELT

SN: 20004-UP

1шт.

Выбрано товаров: 53