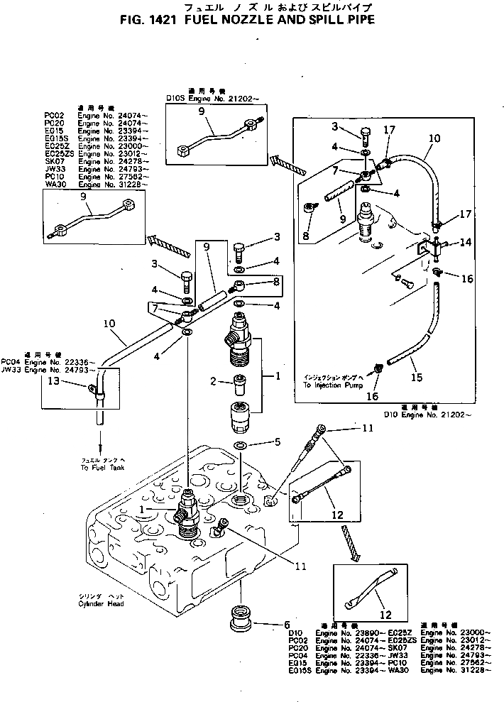
Запчасти Komatsu 2D94-2G ТОПЛИВН. ФОРСУНКА И СЛИВНАЯ ТРУБКА ТОПЛИВН. СИСТЕМА

Схема запчастей Komatsu 2D94-2G - ТОПЛИВН. ФОРСУНКА И СЛИВНАЯ ТРУБКА ТОПЛИВН. СИСТЕМА
FIT
1:1
100%

Артикул

Название

Примечание

Количество

|$0

6142-12-3200

NOZZLE HOLDER ASS'Y

SN: 23000-UP

2шт.

1

6142-12-3210

HOLDER

SN: 23000-UP

1шт.

2

6142-12-3230

NOZZLE

SN: 23000-UP

1шт.

3

6110-13-3150

BOLT,JOINT

SN: 23000-UP

1шт.

4

07005-00812

GASKET (K1)

SN: 23000-UP

4шт.

5

6142-11-7811

GASKET (K1)

SN: 23000-UP

2шт.

6

6142-12-2130

INSERT

SN: 23000-UP

2шт.

9

6142-72-5520

PIPE,SPILL

SN: 23000-UP

1шт.

10

6141-71-5340

HOSE,OVERFLOW

SN: 23000-UP

1шт.

11

600-815-1350

PLUG,GLOW

SN: 23000-UP

2шт.

12

6144-81-4211

LEAD

SN: 23000-UP

1шт.

Выбрано товаров: 11