Запчасти Komatsu 2D94-2N ТОПЛИВН. ФОРСУНКА И СЛИВНАЯ ТРУБКА ТОПЛИВН. СИСТЕМА

Схема запчастей Komatsu 2D94-2N - ТОПЛИВН. ФОРСУНКА И СЛИВНАЯ ТРУБКА ТОПЛИВН. СИСТЕМА
FIT
1:1
100%

Артикул

Название

Примечание

Количество

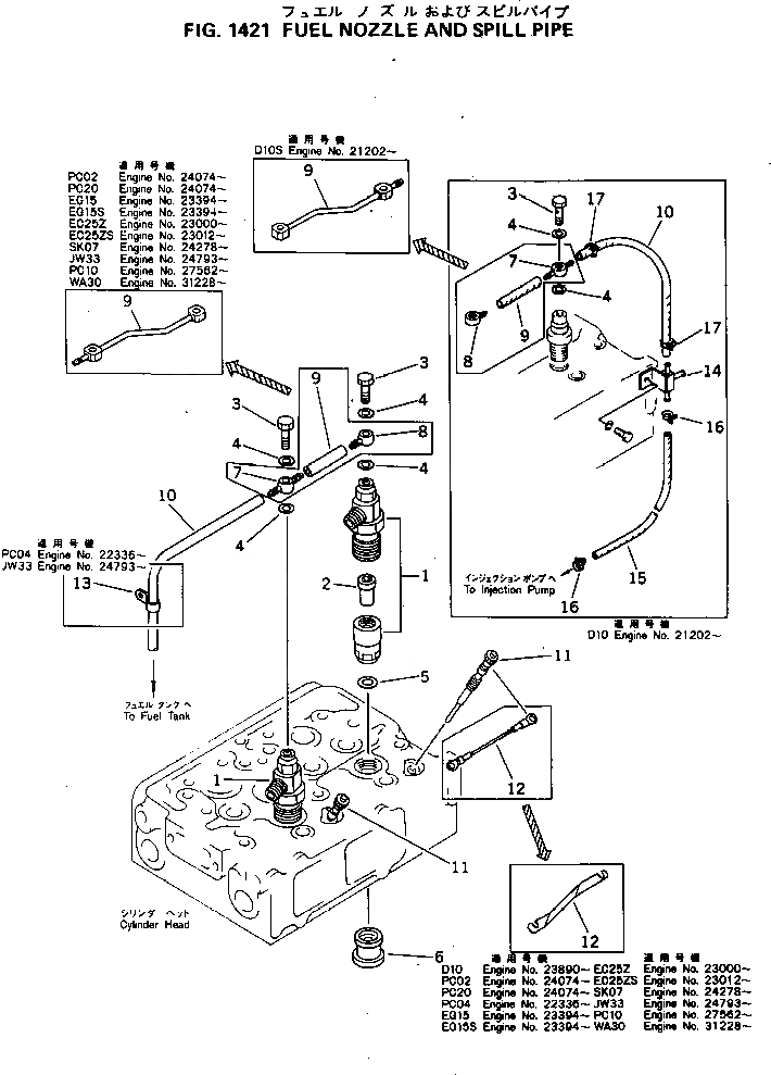
|$0

6142-12-3100

NOZZLE HOLDER ASS'Y

SN: 29233-UP

2шт.

|$1

6142-12-3300

NOZZLE HOLDER ASS'Y

SN: 27562-29232

2шт.

1

6142-12-3110

HOLDER

SN: 27562-UP

1шт.

2

6142-12-3130

NOZZLE

SN: 29233-UP

1шт.

2

6142-12-3330

NOZZLE

SN: 27562-29232

1шт.

3

6110-13-3150

BOLT,JOINT

SN: 27562-UP

1шт.

4

07005-00812

GASKET (K1)

SN: 27562-UP

4шт.

5

6142-11-7811

GASKET (K1)

SN: 27562-UP

2шт.

6

6142-12-2130

INSERT

SN: 27562-UP

2шт.

9

6142-72-5520

PIPE,SPILL

SN: 27562-UP

1шт.

10

6141-81-4540

HOSE,OVERFLOW

SN: 27562-UP

1шт.

11

600-815-1350

PLUG,GLOW

SN: 27562-UP

2шт.

12

6144-81-4211

LEAD

SN: 27562-UP

1шт.

Выбрано товаров: 13