Запчасти Komatsu 2D94-2N ГЛУШИТЕЛЬ ГОЛОВКА ЦИЛИНДРОВ

Схема запчастей Komatsu 2D94-2N - ГЛУШИТЕЛЬ ГОЛОВКА ЦИЛИНДРОВ
FIT
1:1
100%

Артикул

Название

Примечание

Количество

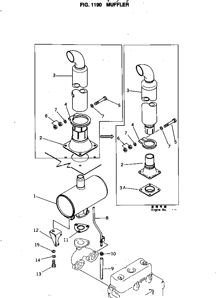
1

6142-12-5640

MUFFLER

SN: 27562-UP

1шт.

2

6142-12-5981

SUPPORT

SN: .-UP

1шт.

2

6142-12-5880

SUPPORT

SN: 27562-.

1шт.

3

6142-12-5781

PIPE,EXHAUST

SN: .-UP

1шт.

3

0

PIPE,EXHAUST

SN: 27562-.

1шт.

|$$6

(6142-12-5781,6142-12-5981,

-1шт.

|$$7

6142-12-5970,6141-11-5740,

-1шт.

|$$8

01010-31070)

-1шт.

3A

6142-12-5970

CONNECTOR

SN: .-UP

1шт.

4

6141-11-5740

CLAMP

SN: .-UP

1шт.

4

6142-12-5770

CLAMP

SN: 27562-.

1шт.

5

01010-31070

BOLT

SN: .-UP

1шт.

5

01010-31090

BOLT

SN: 27562-.

1шт.

6

01580-21008

NUT

SN: 27562-UP

2шт.

7

01640-21016

WASHER

SN: 27562-UP

2шт.

8

6142-12-5690

PIPE,DRAIN

SN: 27562-UP

1шт.

9

07260-20936

HOSE

SN: 28957-UP

1шт.

9

0

HOSE

SN: 27562-28956

1шт.

10

07280-01920

CLAMP

SN: 27562-UP

1шт.

11

6142-11-5820

GASKET (K1)

SN: 27562-UP

1шт.

12

6142-12-5910

BRACKET

SN: 27562-UP

1шт.

13

01010-31025

BOLT

SN: 27562-UP

1шт.

14

01602-01030

WASHER,SPRING

SN: 27562-UP

1шт.

15

01643-31032

WASHER

SN: 27562-UP

1шт.

Выбрано товаров: 24