Запчасти Komatsu 2D94-2R ТОПЛ. НАСОС (/) ТОПЛИВН. СИСТЕМА

Схема запчастей Komatsu 2D94-2R - ТОПЛ. НАСОС (/) ТОПЛИВН. СИСТЕМА
FIT
1:1
100%

Артикул

Название

Примечание

Количество

|$0

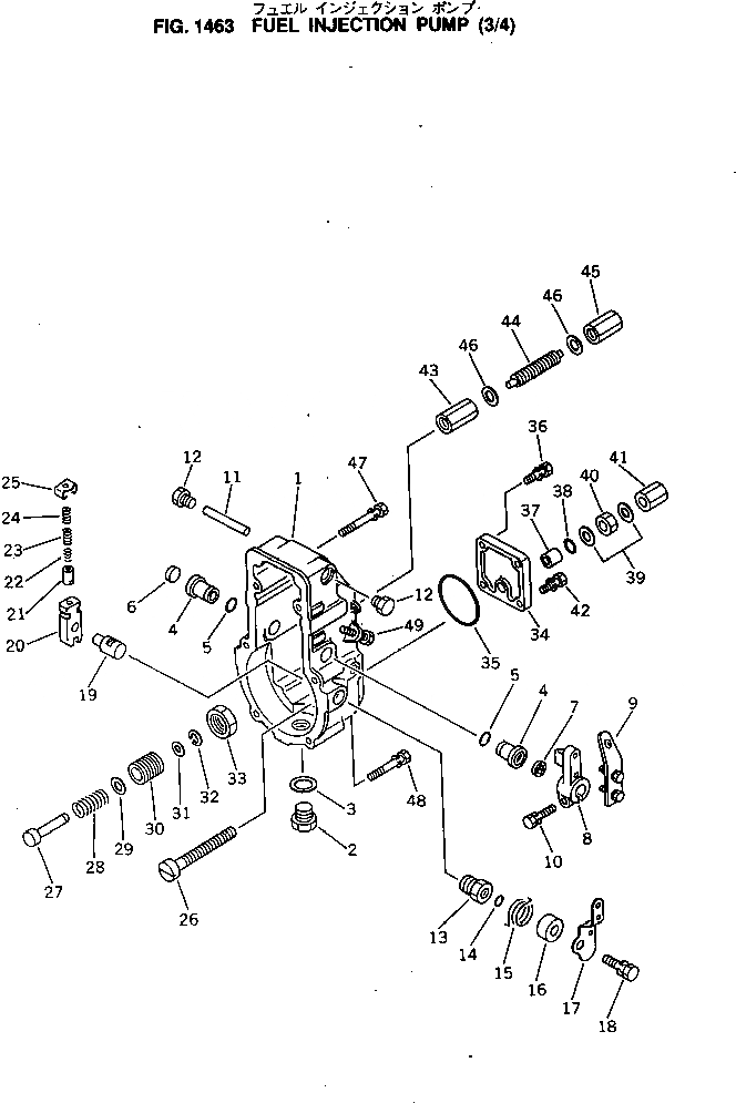
6142-72-1230

INJECTION PUMP ASS'Y

SN: 31228-UP

1шт.

|$1

ND090800-7350

GOVERNOR ASS'Y

SN: 31228-UP

1шт.

1

ND091011-1630

COVER

SN: 31228-UP

1шт.

2

ND091167-0031

PLUG

SN: 31228-UP

1шт.

3

ND090222-0060

WASHER

SN: 31228-UP

1шт.

4

ND090892-0080

BUSHING

SN: 31228-UP

2шт.

5

ND90801-20160

O-RING

SN: 31228-UP

2шт.

6

ND091094-0060

CAP

SN: 31228-UP

1шт.

7

ND949150-0210

SEAL,OIL

SN: 31228-UP

1шт.

8

ND091071-1420

LEVER

SN: 31228-UP

1шт.

9

ND091071-2350

LEVER ASS'Y

SN: 31228-UP

1шт.

10

ND949047-1190

BOLT

SN: 31228-UP

1шт.

11

ND090989-0010

SHAFT

SN: 31228-UP

1шт.

12

ND090091-0010

PLUG

SN: 31228-UP

2шт.

13

ND091016-0020

BUSHING

SN: 31228-UP

1шт.

14

ND949140-0130

O-RING

SN: 31228-UP

1шт.

15

ND091042-0030

SPRING

SN: 31228-UP

1шт.

16

ND091043-0010

COVER

SN: 31228-UP

1шт.

17

ND091090-0410

LEVER ASS'Y

SN: 31228-UP

1шт.

18

ND91418-06141

BOLT

SN: 31228-UP

2шт.

19

ND091035-0240

SHAFT

SN: 31228-UP

1шт.

20

ND091034-0130

LEVER

SN: 31228-UP

1шт.

21

ND091036-0010

CUP

SN: 31228-UP

1шт.

22

ND091038-0040

SPRING,INNER

SN: 31228-UP

1шт.

23

ND091038-0050

SPRING,MIDDLE

SN: 31228-UP

1шт.

24

ND091038-0030

SPRING,OUTER

SN: 31228-UP

1шт.

25

ND091033-0030

PLATE

SN: 31228-UP

1шт.

26

ND091006-0150

SCREW,ADJUST

SN: 31228-UP

1шт.

|$28

ND090910-0400

ADAPTER ASS'Y

SN: 31228-UP

1шт.

27

ND090919-0010

ADAPTER

SN: 31228-UP

1шт.

28

ND090918-0110

SPRING

SN: 31228-UP

1шт.

29

ND949013-3880

WASHER, 0.1MM

SN: 31228-UP

-2шт.

29

ND949013-4040

WASHER, 0.2MM

SN: 31228-UP

-2шт.

29

ND949013-4020

WASHER, 0.25MM

SN: 31228-UP

-2шт.

29

ND949013-4030

WASHER, 0.5MM

SN: 31228-UP

-2шт.

30

ND090911-0010

SCREW

SN: 31228-UP

1шт.

31

ND090921-0010

WASHER

SN: 31228-UP

1шт.

32

ND090894-0010

E-RING

SN: 31228-UP

1шт.

33

ND090923-0011

NUT

SN: 31228-UP

1шт.

34

ND091050-0390

PLATE

SN: 31228-UP

1шт.

35

ND949062-1270

PACKING

SN: 31228-UP

1шт.

36

ND91418-06141

BOLT

SN: 31228-UP

2шт.

37

ND090944-0310

BUSHING

SN: 31228-UP

1шт.

38

ND90801-10120

O-RING

SN: 31228-UP

1шт.

39

ND949018-1020

WASHER, 1.0MM

SN: 31228-UP

2шт.

40

ND949050-3390

NUT

SN: 31228-UP

1шт.

41

ND091031-0150

NUT

SN: 31228-UP

1шт.

42

ND949047-1790

BOLT

SN: 31228-UP

2шт.

43

ND090923-0060

NUT

SN: 31228-UP

1шт.

44

ND090560-0140

CAPSULE

SN: 31228-UP

1шт.

45

ND091031-0030

NUT

SN: 31228-UP

1шт.

46

ND090241-0010

WASHER, 1.6MM

SN: 31228-UP

2шт.

47

ND949047-1750

BOLT

SN: 31228-UP

2шт.

48

ND949047-1760

BOLT

SN: 31228-UP

4шт.

49

ND090821-0080

STOPPER

SN: 31228-UP

1шт.

|$0

6142-72-1230

INJECTION PUMP ASS'Y

SN: 31228-UP

1шт.

|$1

ND090800-7350

GOVERNOR ASS'Y

SN: 31228-UP

1шт.

1

ND091011-1630

COVER

SN: 31228-UP

1шт.

2

ND091167-0031

PLUG

SN: 31228-UP

1шт.

3

ND090222-0060

WASHER

SN: 31228-UP

1шт.

4

ND090892-0080

BUSHING

SN: 31228-UP

2шт.

5

ND90801-20160

O-RING

SN: 31228-UP

2шт.

6

ND091094-0060

CAP

SN: 31228-UP

1шт.

7

ND949150-0210

SEAL,OIL

SN: 31228-UP

1шт.

8

ND091071-1420

LEVER

SN: 31228-UP

1шт.

9

ND091071-2350

LEVER ASS'Y

SN: 31228-UP

1шт.

10

ND949047-1190

BOLT

SN: 31228-UP

1шт.

11

ND090989-0010

SHAFT

SN: 31228-UP

1шт.

12

ND090091-0010

PLUG

SN: 31228-UP

2шт.

13

ND091016-0020

BUSHING

SN: 31228-UP

1шт.

14

ND949140-0130

O-RING

SN: 31228-UP

1шт.

15

ND091042-0030

SPRING

SN: 31228-UP

1шт.

16

ND091043-0010

COVER

SN: 31228-UP

1шт.

17

ND091090-0410

LEVER ASS'Y

SN: 31228-UP

1шт.

18

ND91418-06141

BOLT

SN: 31228-UP

2шт.

19

ND091035-0240

SHAFT

SN: 31228-UP

1шт.

20

ND091034-0130

LEVER

SN: 31228-UP

1шт.

21

ND091036-0010

CUP

SN: 31228-UP

1шт.

22

ND091038-0040

SPRING,INNER

SN: 31228-UP

1шт.

23

ND091038-0050

SPRING,MIDDLE

SN: 31228-UP

1шт.

24

ND091038-0030

SPRING,OUTER

SN: 31228-UP

1шт.

25

ND091033-0030

PLATE

SN: 31228-UP

1шт.

26

ND091006-0150

SCREW,ADJUST

SN: 31228-UP

1шт.

|$28

ND090910-0400

ADAPTER ASS'Y

SN: 31228-UP

1шт.

27

ND090919-0010

ADAPTER

SN: 31228-UP

1шт.

28

ND090918-0110

SPRING

SN: 31228-UP

1шт.

29

ND949013-3880

WASHER, 0.1MM

SN: 31228-UP

-2шт.

29

ND949013-4040

WASHER, 0.2MM

SN: 31228-UP

-2шт.

29

ND949013-4020

WASHER, 0.25MM

SN: 31228-UP

-2шт.

29

ND949013-4030

WASHER, 0.5MM

SN: 31228-UP

-2шт.

30

ND090911-0010

SCREW

SN: 31228-UP

1шт.

31

ND090921-0010

WASHER

SN: 31228-UP

1шт.

32

ND090894-0010

E-RING

SN: 31228-UP

1шт.

33

ND090923-0011

NUT

SN: 31228-UP

1шт.

34

ND091050-0390

PLATE

SN: 31228-UP

1шт.

35

ND949062-1270

PACKING

SN: 31228-UP

1шт.

36

ND91418-06141

BOLT

SN: 31228-UP

2шт.

37

ND090944-0310

BUSHING

SN: 31228-UP

1шт.

38

ND90801-10120

O-RING

SN: 31228-UP

1шт.

39

ND949018-1020

WASHER, 1.0MM

SN: 31228-UP

2шт.

40

ND949050-3390

NUT

SN: 31228-UP

1шт.

41

ND091031-0150

NUT

SN: 31228-UP

1шт.

42

ND949047-1790

BOLT

SN: 31228-UP

2шт.

43

ND090923-0060

NUT

SN: 31228-UP

1шт.

44

ND090560-0140

CAPSULE

SN: 31228-UP

1шт.

45

ND091031-0030

NUT

SN: 31228-UP

1шт.

46

ND090241-0010

WASHER, 1.6MM

SN: 31228-UP

2шт.

47

ND949047-1750

BOLT

SN: 31228-UP

2шт.

48

ND949047-1760

BOLT

SN: 31228-UP

4шт.

49

ND090821-0080

STOPPER

SN: 31228-UP

1шт.

Выбрано товаров: 110