Запчасти Komatsu 3D68E-3D ГОЛОВКА ЦИЛИНДРОВ COVER ГОЛОВКА ЦИЛИНДРОВ

Схема запчастей Komatsu 3D68E-3D - ГОЛОВКА ЦИЛИНДРОВ COVER ГОЛОВКА ЦИЛИНДРОВ
FIT
1:1
100%

Артикул

Название

Примечание

Количество

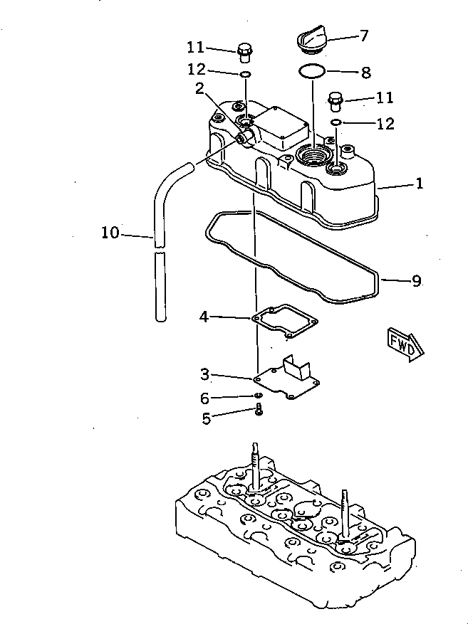
1

YM719260-11520

COVER ASS'Y,HEAD

SN: 00965-UP

1шт.

2

YM119620-11390

JOINT

SN: 00965-UP

1шт.

3

YM119260-03020

BAFFLE

SN: 00965-UP

1шт.

4

YM119260-03031

GASKET,BAFFLE (KIT)

SN: 00965-UP

1шт.

5

YM26557-050102

SCREW

SN: 00965-UP

4шт.

6

YM22217-050000

WASHER,SPRING

SN: 00965-UP

4шт.

7

YM124160-01751

CAP

SN: 00965-UP

1шт.

8

YM24311-000320

O-RING (KIT)

SN: 00965-UP

1шт.

9

YM119260-11310

GASKET,HEAD COVER (KIT)

SN: 00965-UP

1шт.

10

YM23065-120700

HOSE

SN: 00965-UP

1шт.

11

YM124160-11360

KNOB

SN: 00965-UP

2шт.

12

YM24311-000120

O-RING (KIT)

SN: 00965-UP

2шт.

Выбрано товаров: 12