Запчасти Komatsu 3D72-1 БЛОК ЦИЛИНДРОВ БЛОК ЦИЛИНДРОВ

Схема запчастей Komatsu 3D72-1 - БЛОК ЦИЛИНДРОВ БЛОК ЦИЛИНДРОВ
FIT
1:1
100%

Артикул

Название

Примечание

Количество

|1

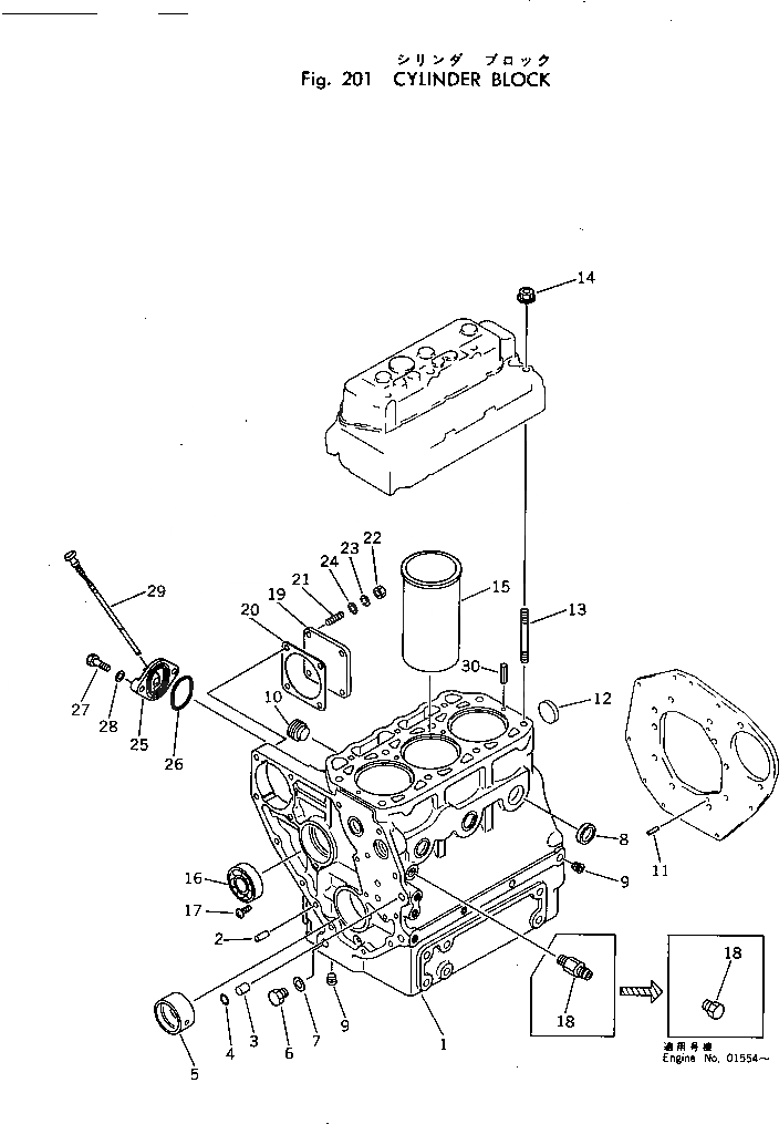
YM771053-01560

CYLINDER BLOCK A.

SN: 01001-UP

1шт.

1

0

BLOCK,CYLINDER

SN: .-UP

1шт.

|1

0

BLOCK,CYLINDER

SN: 01001-.

1шт.

2

YM22312-080160

PIN

SN: 01001-UP

1шт.

3

YM105225-01900

GUIDE

SN: 01001-UP

2шт.

4

YM24311-000100

O-RING

SN: 01001-UP

2шт.

5

YM121450-02100

METAL,MAIN

SN: 01001-UP

1шт.

6

YM121450-01960

PLUG

SN: 01001-UP

1шт.

7

YM121450-01980

PACKING

SN: 01001-UP

1шт.

8

YM27241-300000

PLUG

SN: 01001-UP

5шт.

9

YM124060-01050

PLUG

SN: 01001-UP

7шт.

10

YM171051-01921

PLUG

SN: .-UP

2шт.

|10

0

PLUG

SN: 01001-.

2шт.

11

YM22312-080160

PIN

SN: 01001-UP

2шт.

12

YM121450-01990

PLUG

SN: 01001-UP

1шт.

13

YM121450-01210

STUD

SN: 01001-UP

2шт.

14

YM121450-01220

NUT

SN: 01001-UP

2шт.

15

YM121450-01100

LINER,CYLINDER

SN: 01001-UP

3шт.

16

YM24101-062054

BEARING,BALL

SN: 01001-UP

1шт.

17

YM26587-080102

SCREW

SN: 01001-UP

1шт.

18

YM171056-49120

PLUG

SN: 01554-UP

1шт.

|18

YM171001-49502

VALVE

SN: 01001-01553

1шт.

19

YM124240-01871

COVER

SN: 01001-UP

1шт.

20

YM124240-01882

GASKET

SN: 01001-UP

1шт.

21

YM26216-080222

STUD

SN: 01001-UP

4шт.

22

YM26716-080002

NUT

SN: 01001-UP

4шт.

23

YM22217-080000

WASHER

SN: 01001-UP

4шт.

24

YM22117-080000

WASHER

SN: 01001-UP

4шт.

25

YM121450-34830

BRACKET

SN: 01001-UP

1шт.

26

YM121450-34840

O-RING

SN: 01001-UP

1шт.

27

YM26116-080252

BOLT

SN: 01001-UP

2шт.

28

YM22137-080000

WASHER

SN: 01001-UP

2шт.

29

YM121470-34800

GAUGE

SN: 01001-UP

1шт.

30

YM22351-060012

PIN

SN: .-UP

2шт.

Выбрано товаров: 34