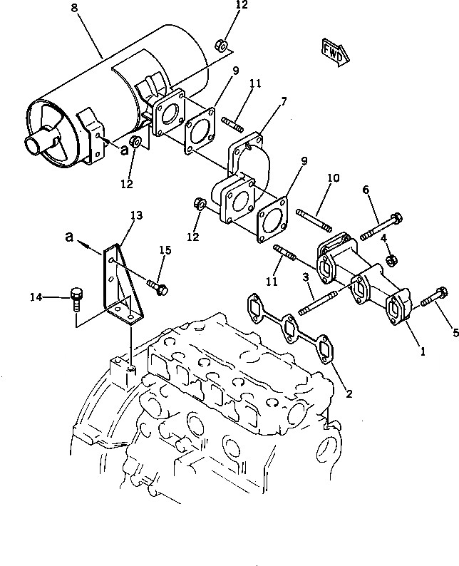
Запчасти Komatsu 3D72-2B ВЫПУСКНОЙ КОЛЛЕКТОР И ГЛУШИТЕЛЬ ГОЛОВКА ЦИЛИНДРОВ

Схема запчастей Komatsu 3D72-2B - ВЫПУСКНОЙ КОЛЛЕКТОР И ГЛУШИТЕЛЬ ГОЛОВКА ЦИЛИНДРОВ
FIT
1:1
100%

Артикул

Название

Примечание

Количество

1

YM119620-13101

MANIFOLD,EXHAUST

SN: 00101-UP

1шт.

2

YM119620-13110

GASKET (K1)

SN: 00101-UP

1шт.

3

YM26216-080652

STUD

SN: 00101-UP

2шт.

4

YM194990-22050

NUT

SN: 00101-UP

2шт.

5

YM26106-080352

BOLT

SN: 00101-UP

2шт.

6

YM26106-080802

BOLT

SN: 00101-UP

2шт.

7

YM119640-13150

PIPE

SN: 00101-UP

1шт.

8

YM119640-13500

MUFFLER

SN: 00101-UP

1шт.

9

YM124701-11910

GASKET (K1)

SN: 00101-UP

2шт.

10

YM26216-080552

STUD

SN: 00101-UP

2шт.

11

YM26216-080222

STUD

SN: 00101-UP

5шт.

12

YM194990-22050

NUT

SN: 00101-UP

7шт.

13

YM119640-13650

STAY

SN: 00101-UP

1шт.

14

YM26014-080222

BOLT

SN: 00101-UP

2шт.

15

YM26106-100162

BOLT

SN: 00101-UP

2шт.

Выбрано товаров: 15