Запчасти Komatsu 3D74E-3A ГОЛОВКА ЦИЛИНДРОВ COVER ГОЛОВКА ЦИЛИНДРОВ

Схема запчастей Komatsu 3D74E-3A - ГОЛОВКА ЦИЛИНДРОВ COVER ГОЛОВКА ЦИЛИНДРОВ
FIT
1:1
100%

Артикул

Название

Примечание

Количество

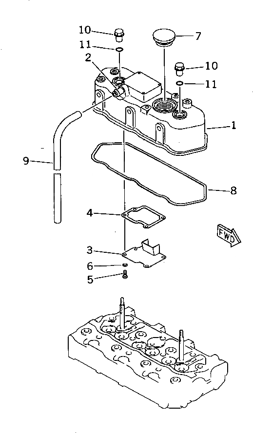
1

YM119657-11350

COVER ASS'Y,HEAD

SN: 00101-UP

1шт.

2

YM119620-11390

JOINT

SN: 00101-UP

1шт.

3

YM119620-03020

BAFFLE

SN: 00101-UP

1шт.

4

YM119620-03031

GASKET (KIT)

SN: 00101-UP

1шт.

5

YM26557-050102

SCREW

SN: 00101-UP

4шт.

6

YM22217-050000

WASHER,SPRING

SN: 00101-UP

4шт.

7

YM119807-11770

PLUG

SN: 00101-UP

1шт.

8

YM119620-11310

GASKET,HEAD COVER (KIT)

SN: 00101-UP

1шт.

9

YM23065-120500

PIPE

SN: 00101-UP

1шт.

10

YM124160-11360

KNOB

SN: 00101-UP

2шт.

11

YM24311-000120

O-RING (KIT)

SN: 00101-UP

2шт.

Выбрано товаров: 11