Запчасти Komatsu 3D75-1B ВОДЯНАЯ ПОМПА И ВЕНТИЛЯТОР ОХЛАЖДЕНИЯ ОХЛАЖД-Е И ЭЛЕКТРИКА

Схема запчастей Komatsu 3D75-1B - ВОДЯНАЯ ПОМПА И ВЕНТИЛЯТОР ОХЛАЖДЕНИЯ ОХЛАЖД-Е И ЭЛЕКТРИКА
FIT
1:1
100%

Артикул

Название

Примечание

Количество

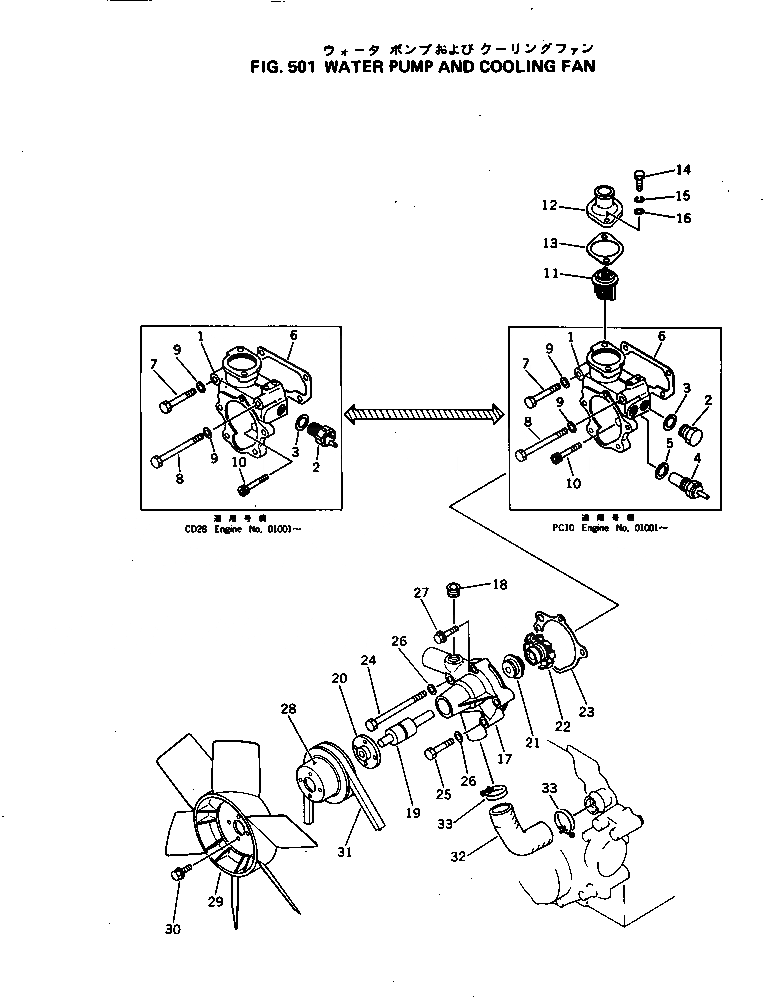
1

YM171003-42123

HOUSING

SN: 01001-UP

1шт.

2

YM121250-44901

SWITCH

SN: 01001-UP

1шт.

3

YM124465-44950

GASKET

SN: 01001-UP

1шт.

6

YM171003-44411

PACKING (KIT)

SN: 01001-UP

1шт.

7

YM26116-080552

BOLT

SN: 01001-UP

1шт.

8

YM26116-080852

BOLT

SN: 01001-UP

1шт.

9

YM22117-080000

WASHER

SN: 01001-UP

2шт.

10

YM26450-080452

BOLT

SN: 01001-UP

1шт.

11

YM129350-49800

THERMOSTAT

SN: 01001-UP

1шт.

12

YM129350-49530

COVER

SN: 01001-UP

1шт.

13

YM129350-49540

PACKING

SN: 01001-UP

1шт.

14

YM26116-080222

BOLT

SN: 01001-UP

2шт.

15

YM22217-080000

WASHER

SN: 01001-UP

2шт.

16

YM22117-080000

WASHER

SN: 01001-UP

2шт.

17

YM121000-42100

WATER PUMP ASS'Y

SN: 01001-UP

1шт.

18

YM23871-030000

PLUG

SN: 01001-UP

1шт.

19

YM121450-42240

SHAFT

SN: 01001-UP

1шт.

20

YM121450-42260

FLANGE

SN: 01001-UP

1шт.

21

YM121450-42310

SEAL¤ WATER

SN: 01001-UP

1шт.

22

YM129350-42200

IMPELLER

SN: 01001-UP

1шт.

23

YM121000-42050

PACKING

SN: 01001-UP

1шт.

24

YM26116-081052

BOLT

SN: 01001-UP

1шт.

25

YM26116-080422

BOLT

SN: 01001-UP

3шт.

26

YM22117-080000

WASHER

SN: 01001-UP

3шт.

27

YM26011-060352

BOLT

SN: 01001-UP

1шт.

28

YM121450-42350

PULLEY

SN: 01001-UP

1шт.

29

YM171037-44740

FAN

SN: 01001-UP

1шт.

30

YM26013-060142

BOLT

SN: 01001-UP

4шт.

31

YM124736-42290

V-BELT

SN: 01001-UP

1шт.

32

YM171003-49030

HOSE

SN: 01001-UP

1шт.

33

YM23010-038000

CLAMP

SN: 01001-UP

2шт.

Выбрано товаров: 31